TOP
|
特許
|
意匠
|
商標
特許ウォッチ
Twitter
他の特許を見る
公開番号
2025147093
公報種別
公開特許公報(A)
公開日
2025-10-06
出願番号
2024045357
出願日
2024-03-21
発明の名称
回路基板
出願人
古河電気工業株式会社
代理人
弁理士法人酒井国際特許事務所
主分類
H05K
1/02 20060101AFI20250926BHJP(他に分類されない電気技術)
要約
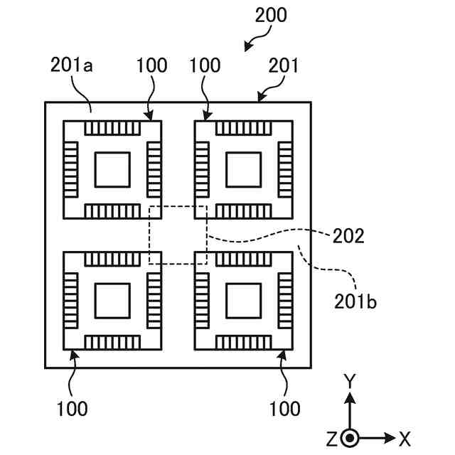
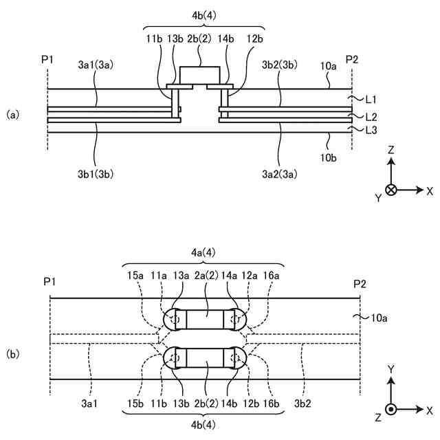
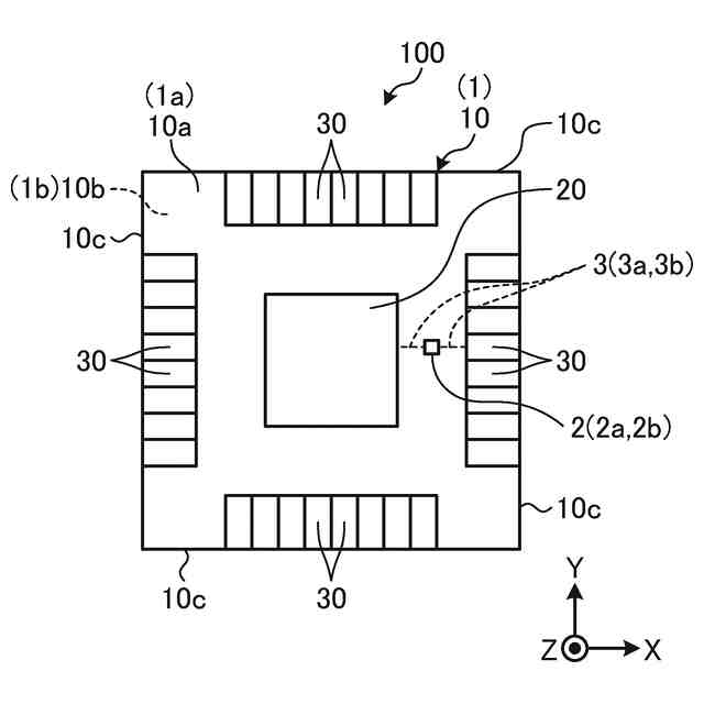
【課題】ブロードサイドカップリング構造の信号ライン対が回路基板の内層に配置され、回路基板の一面を有効活用できる状態で信号ライン対が接続する2点間のスキューを低減することができる回路基板を提供する。
【解決手段】信号ライン対3よりなる伝送線路が形成される回路基板であって、信号ライン対3は、少なくとも2層以上の内層に配置されたブロードサイドカップリング構成の第1の信号ライン3a1,3a2及び第2の信号ライン3b1,3b2であり、第1の信号ライン3a1,3a2及び第2の信号ライン3b1,3b2は、それぞれ2つの点P1,P2間を接続し、2つの点P1,P2間において1回以上、入れ替わる交差部4を有する。
【選択図】図3
特許請求の範囲
【請求項1】
信号ライン対よりなる伝送線路が形成される回路基板であって、
前記信号ライン対は、
少なくとも2層以上の内層に配置されたブロードサイドカップリング構成の第1の信号ライン及び第2の信号ラインであり、
前記第1の信号ライン及び前記第2の信号ラインは、それぞれ2点間を接続し、該2点間において1回以上、入れ替わる交差部を有することを特徴とする回路基板。
続きを表示(約 340 文字)
【請求項2】
前記交差部は、前記回路基板の一方の面に形成された第3の信号ラインと、前記回路基板の前記一方の面に形成された第4の信号ラインとを有し、前記第3の信号ラインは前記第1の信号ラインに対して異なる高さビア対を介して接続され、前記第4の信号ラインは前記第2の信号ラインに対して異なる高さのビア対を介して接続されることを特徴とする請求項1に記載の回路基板。
【請求項3】
前記第3の信号ライン及び/又は前記第4の信号ラインは、内層に配置されることを特徴とする請求項2に記載の回路基板。
【請求項4】
前記第3の信号ライン及び前記第4の信号ラインはそれぞれ電子部品を搭載した電極パターンを有することを特徴とする請求項2に記載の回路基板。
発明の詳細な説明
【技術分野】
【0001】
本発明は、ブロードサイドカップリング構造の信号ライン対が回路基板の内層に配置され、回路基板の一面を有効活用できる状態で信号ライン対が接続する2点間のスキューを低減することができる回路基板に関する。
続きを表示(約 1,600 文字)
【背景技術】
【0002】
近年、信号伝送の高速化が進み、それらの信号伝送にはGHz帯の信号が使用される。このような高速な信号が伝送する伝送線路を備えた回路基板を設計する場合、同相ノイズ耐性の高い、差動配線信号伝送が有用であり、幅広く利用されている。例えば、特許文献1に記載された光トランシーバを備えた光通信装置におけるスイッチ装置などの回路基板では差動配線信号伝送が行われる。
【0003】
差動信号は、理想的には、180度の位相差あるいは正負に逆転したデータを2つの伝送経路を用いて伝送され、同相ノイズが互いに打ち消し合うことを特徴としている。差動伝送では2つの信号経路で180度位相差もしくは正負逆転した信号を伝送することになるが、その信号経路長に差分が生じると送信端でタイミングが揃った信号を伝送しても受信端で正負データの到着タイミングに差分が生じ、結果同相成分が増加し、信号品質の劣化を招くことになる。したがって、差動配線においては、正負の信号間のスキュー(位相差)の調整が重要となる。この差動信号の構造には、ストリップ、マイクロストリップ、ブロードサイドカップリングなどがある。特許文献2では、ストリップ構造を用いている。
【先行技術文献】
【特許文献】
【0004】
特開2020-027147号公報
特開2022-007340号公報
国際公開第2022/003904号
【発明の概要】
【発明が解決しようとする課題】
【0005】
ところで、ストリップラインを用いた差動伝送では、回路基板の面方向に信号ライン対が広がるため、回路基板の面方向における面積が大きくなるとともに、信号ライン対を曲げて配線すると伝送路長が異なるため、スキューが生じ、そのスキュー対策のために短い信号ライン側に冗長線路を設ける必要がある。
【0006】
一方、信号ライン対をブロードサイドカップリング構造とする場合、信号ラインが曲がってもスキューが生じず、回路基板の面方向の占有面積が1つの信号ラインのみでよいため、配線構造を高密度化することができる。
【0007】
しかし、ブロードサイドカップリング構造の信号ライン対は、回路基板の厚さ方向の深さが異なる位置に形成されるため、回路基板の面に形成された電子部品間を接続する場合、必ずスキューが発生する。
【0008】
なお、特許文献3には、回路基板の内層に形成された差動信号対を接続する一端を回路基板の表面に形成された外部導体に接続するとともに、他端を回路基板の裏面に形成された外部導体に接続することにより、差動信号対間のスキューを抑制するものが記載されている。しかし、差動信号対の一端を接続する外部導体が表面に形成され、他端を接続する外部導体が裏面に形成されると、例えば、裏面への放熱部品や電源部品などの実装が制限され、裏面を有効活用することができない。
【0009】
本発明は、上記に鑑みてなされたものであって、ブロードサイドカップリング構造の信号ライン対が回路基板の内層に配置され、回路基板の一面を有効活用できる状態で信号ライン対が接続する2点間のスキューを低減することができる回路基板を提供することを目的とする。
【課題を解決するための手段】
【0010】
上述した課題を解決し、目的を達成するために、本発明にかかる回路基板は、信号ライン対よりなる伝送線路が形成される回路基板であって、前記信号ライン対は、少なくとも2層以上の内層に配置されたブロードサイドカップリング構成の第1の信号ライン及び第2の信号ラインであり、前記第1の信号ライン及び前記第2の信号ラインは、それぞれ2点間を接続し、該2点間において1回以上、入れ替わる交差部を有することを特徴とする。
(【0011】以降は省略されています)
この特許をJ-PlatPat(特許庁公式サイト)で参照する
関連特許
古河電気工業株式会社
端子
1日前
古河電気工業株式会社
排水構造
7日前
古河電気工業株式会社
回路基板
4日前
古河電気工業株式会社
回路基板
4日前
古河電気工業株式会社
電気接続箱
7日前
古河電気工業株式会社
複合ケーブル
7日前
古河電気工業株式会社
複合ケーブル
1日前
古河電気工業株式会社
複合ケーブル
1日前
古河電気工業株式会社
複合ケーブル
2日前
古河電気工業株式会社
ウエハ加工用粘着テープ
1日前
古河電気工業株式会社
光モジュール、光接続構造
1日前
古河電気工業株式会社
配線材、及び配線材の製造方法
2日前
古河電池株式会社
双極型蓄電池
1日前
古河電気工業株式会社
ポリオレフィン樹脂組成物及び配線材
2日前
古河電気工業株式会社
通信システム、プログラム及び通信方法
1日前
古河電気工業株式会社
樹脂組成物及びこれを用いた射出成型体
2日前
古河電気工業株式会社
通信システム、プログラム及び通信方法
2日前
古河電気工業株式会社
通信システム、プログラム及び通信方法
2日前
古河電気工業株式会社
フェルールホルダ、光接続構造、光モジュール
1日前
古河電気工業株式会社
配線材の製造方法及び製造装置、並びに、配線材
2日前
古河電気工業株式会社
配線材の製造方法及び製造装置、並びに、配線材
2日前
古河電気工業株式会社
走行路認識装置、走行路認識方法及びプログラム
2日前
古河樹脂加工株式会社
配管固定具および配管固定構造
1日前
古河電気工業株式会社
マルチコアファイバおよびマルチコアファイバの製造方法
7日前
古河電池株式会社
双極型蓄電池及び双極型蓄電池の製造方法
1日前
古河電池株式会社
双極型蓄電池用バイプレート、双極型蓄電池
2日前
古河電気工業株式会社
メス型端子、コネクタ、端子付き電線、コネクタ付き電線及びワイヤーハーネス
2日前
古河電気工業株式会社
ケーブルコネクタ組立体及びケーブルコネクタ組立体を用いた回転コネクタ装置
7日前
古河電気工業株式会社
耐熱性架橋ポリオレフィン樹脂組成物及びこれを用いた配線材、並びに、これらの製造方法
2日前
古河電気工業株式会社
フィルム状接着剤、その硬化フィルムを具備する積層レンズ、フィルム状接着剤用のドープ
1日前
古河電気工業株式会社
難燃性シラン架橋樹脂成形体の製造方法、並びに、難燃性シラン架橋樹脂成形体を含む成品及び配線材
2日前
古河電気工業株式会社
フィルム状接着剤、接着剤用組成物、ダイシング・ダイアタッチフィルム、並びに半導体パッケージ及び半導体パッケージの製造方法
1日前
古河電気工業株式会社
シラン架橋性熱伝導樹脂組成物、シラン架橋熱伝導樹脂成形体及び熱伝導架橋樹脂成形品、並びに、シラン架橋性熱伝導樹脂組成物及びシラン架橋樹熱伝導脂成形体の製造方法
2日前
個人
電子部品の実装方法
9日前
日本精機株式会社
回路基板
1か月前
愛知電機株式会社
装柱金具
1日前
続きを見る
他の特許を見る