TOP
|
特許
|
意匠
|
商標
特許ウォッチ
Twitter
他の特許を見る
10個以上の画像は省略されています。
公開番号
2025150816
公報種別
公開特許公報(A)
公開日
2025-10-09
出願番号
2024051928
出願日
2024-03-27
発明の名称
双極型蓄電池及び双極型蓄電池の製造方法
出願人
古河電池株式会社
,
古河電気工業株式会社
代理人
個人
,
個人
,
個人
主分類
H01M
10/12 20060101AFI20251002BHJP(基本的電気素子)
要約
【課題】エンドプレートに設けられて端子と接続される集電体のタブ部であり、蓄電池内部に配置されるタブ部の領域における腐食を抑制することで電池性能の低下が起こりにくく、長寿命化を図る。
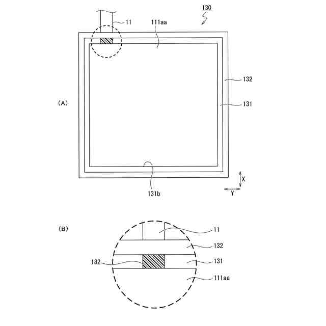
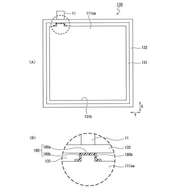
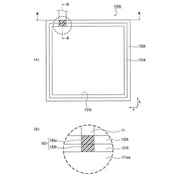
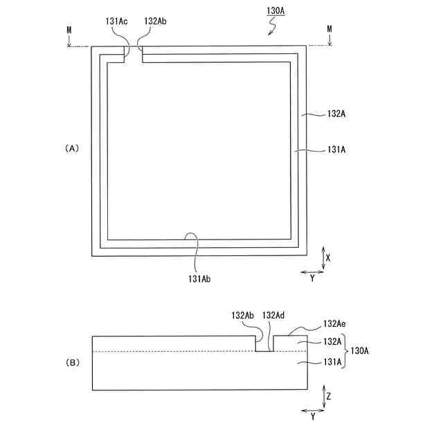
【解決手段】正極用活物質層111b及び集電体111a或いは負極用活物質層112b及び集電体112aとセパレータ113とを複数積層するように挟持する一対のエンドプレート130を備え、エンドプレート130は、正極用活物質層111b及び集電体111aaを備える基板131と正極用活物質層111b及び集電体111aaの側面を囲む枠体132とを有し、集電体111aaは、集電体111aaが配置される枠体132の内側から外側に突出し正極端子部品160と電気的に接続されるタブ部11を備え、タブ部11における集電体111aaの周縁部から枠体132の外側までの間であって、少なくともその一部に液染み上がり防止部材180が設けられている。
【選択図】図4
特許請求の範囲
【請求項1】
正極用活物質層と、
負極用活物質層と、
前記正極用活物質層若しくは前記負極用活物質層の一方、または、その両方と接する集電体と、
互いに対向する前記正極用活物質層と前記負極用活物質層との間に配置されるセパレータと、
前記正極用活物質層および前記集電体、或いは、前記負極用活物質層および前記集電体と前記セパレータとを複数積層するように挟持する一対のエンドプレートと、を備え、
前記エンドプレートは、前記正極用活物質層および前記集電体、或いは、前記負極用活物質層および前記集電体の一方を覆う基板と、前記正極用活物質層および前記集電体、或いは、前記負極用活物質層および前記集電体の側面を囲む枠体と、を有し、
前記基板に設けられる前記集電体は、前記集電体が配置される前記枠体の内側から前記枠体の外側に向けて突出し、電気を外部に取り出す端子と電気的に接続されるタブ部を備え、
前記タブ部において、前記集電体の周縁部から前記枠体の外側までの間であって、少なくともその一部に液染み上がり防止部材が設けられていることを特徴とする双極型蓄電池。
続きを表示(約 820 文字)
【請求項2】
前記液染み上がり防止部材として、第1の液染み上がり防止部材が前記タブ部に接して前記枠体に沿って設けられていることを特徴とする請求項1に記載の双極型蓄電池。
【請求項3】
前記液染み上がり防止部材は、さらに、第2の液染み上がり防止部材を備え、前記第2の液染み上がり防止部材は、前記第1の液染み上がり防止部材の両端から前記集電体に向けて設けられるとともに、前記集電体の周縁部に沿って連続するように設けられていることを特徴とする請求項2に記載の双極型蓄電池。
【請求項4】
前記液染み上がり防止部材は、前記タブ部における前記集電体の周縁部から前記枠体の内側までの領域を覆う樹脂であることを特徴とする請求項1に記載の双極型蓄電池。
【請求項5】
前記タブ部は、前記枠体に形成されるタブ挿入穴に挿入されて配置されることを特徴とする請求項1に記載の双極型蓄電池。
【請求項6】
前記集電体は、鉛又は鉛合金からなることを特徴とする請求項1ないし請求項5のいずれかに記載の双極型蓄電池。
【請求項7】
前記枠体には、前記タブ部が配置される枠体切欠部が形成されていることを特徴とする請求項1に記載の双極型蓄電池。
【請求項8】
前記液染み上がり防止部材は、前記タブ部における前記集電体の周縁部から前記枠体切欠部までの領域を覆う樹脂であることを特徴とする請求項7に記載の双極型蓄電池。
【請求項9】
前記液染み上がり防止部材において、前記枠体切欠部に配置される前記樹脂は、前記枠体の高さと同等であることを特徴とする請求項8に記載の双極型蓄電池。
【請求項10】
前記集電体は、鉛又は鉛合金からなることを特徴とする請求項7ないし請求項9のいずれかに記載の双極型蓄電池。
(【請求項11】以降は省略されています)
発明の詳細な説明
【技術分野】
【0001】
本発明の実施の形態は、双極型蓄電池及び双極型蓄電池の製造方法に関する。
続きを表示(約 1,700 文字)
【背景技術】
【0002】
近年、太陽光や風力等の自然エネルギーを利用した発電設備が増えている。このような発電設備においては、発電量を制御することができないことから、蓄電池を利用して電力負荷の平準化を図るようにしている。すなわち、発電量が消費量よりも多いときには差分を蓄電池に充電する一方、発電量が消費量よりも小さいときには差分を蓄電池から放電するようにしている。上述した蓄電池としては、経済性や安全性等の観点から、鉛蓄電池が多用されている。このような従来の鉛蓄電池としては、例えば、下記特許文献1に記載されているものが知られている。
【0003】
当該鉛蓄電池の構造の一例として、額縁形をなす樹脂からなるフレーム(リム)の内側に、樹脂からなる基板(バイポーラプレート)が取り付けられている構造を挙げることができる。この鉛蓄電池の基板の一方面及び他方面には、正極用鉛層及び負極用鉛層が設けられている。正極用鉛層には、正極用活物質層が隣接している。負極用鉛層には、負極用活物質層が隣接している。また、額縁形をなす樹脂からなるスペーサの内側には、電解液を含有するガラスマット(電解層)が配設されている。そして、フレームとスペーサとが交互に複数積層されて組み付けられている。
【0004】
すなわち、この鉛蓄電池は、正極集電板と正極活物質層を有する正極、負極集電板と負極活物質層を有する負極、および正極と負極との間に介在するセパレータ(ガラスマット)を備え、間隔を開けて積層配置された、複数のセル部材と、複数のセル部材を個別に収容する複数の空間を形成する、複数の空間形成部材と、を有している。
【0005】
さらに当該鉛蓄電池においては、保護ケースを備える例があり、その例では、枠体のセル部材の一つの側面を囲う部分が蓋で覆われていて、蓋と電池本体との間に電極受入れ空間が形成されている。そして積層方向の一端に配置されたセル部材を構成する集電板の耳部の先端が折れ曲がり、この折れ曲がり部が、電極受入れ空間において、蓋から外部に突出する端子と接続されている。
【0006】
但し、当該鉛蓄電池における保護ケースを備える例では、上述したように、積層方向の一端に配置されたセル部材を構成する集電体の耳部の折れ曲がり部と、蓋から外部に突出する端子との接続が電極受入れ空間で行われている。そのため、毛細管現象で電解液が集電体を伝わって電極受入れ空間に達することなどに伴い、端子の耳部との接続部が腐食して、電池性能が低下する(例えば、寿命が短くなる、内部抵抗が増大する、電池容量が低下する)恐れがある。そこでこのような弊害を解消するべく、出願人は、以下の特許文献1に示すような、集電板の耳部に対する端子の接続部が腐食されにくい双極型蓄電池を開発した。
【先行技術文献】
【特許文献】
【0007】
国際公開第2023/054524号
【発明の概要】
【発明が解決しようとする課題】
【0008】
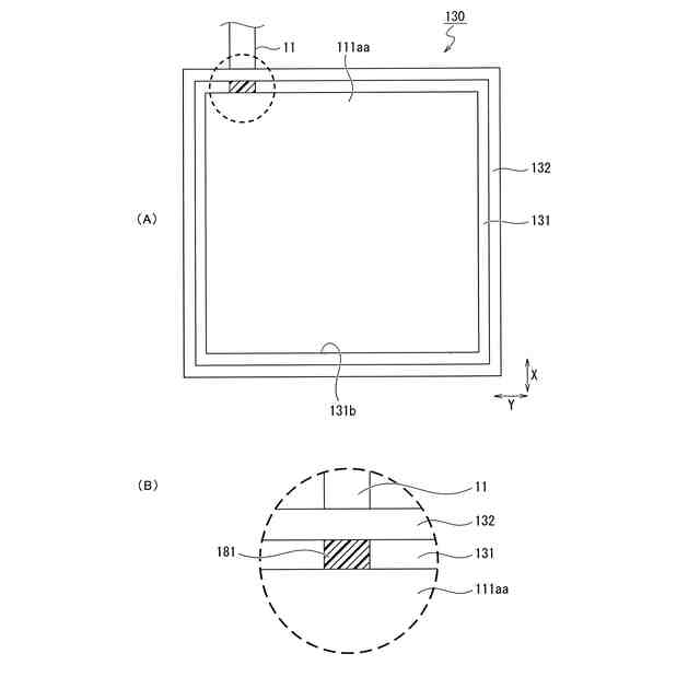
上記特許文献1に記載の双極型蓄電池では、双極型蓄電池の最も外側に配置されるエンドプレートに設けられる集電体(鉛箔)において、双極型蓄電池の外部に露出した部分が設けられている。そして、当該外部に露出した部分においては、蓋を溶接する際に、当該部分を折り曲げて正極、或いは、負極の端子と溶接を行い、その後、樹脂で埋める処理を行っている。このような処理を行うことによって、毛細管現象で電解液が集電体を伝わって電極受入れ空間に到達することで、集電体の耳部との接続部が腐食して、電池性能が低下することを防止している。
【0009】
一方で、例えば、双極型蓄電池の製造工程における、電解液の注入後、化成を行った際等において、集電体の耳部であって、双極型蓄電池の内部に配置される領域において腐食が発生する場合がある。
【0010】
上述した特許文献1はあくまでも双極型蓄電池の外部に露出した集電体の耳部における腐食を防止するものであって、双極型蓄電池の内部に配置される集電体の耳部における腐食の防止には寄与しない。
(【0011】以降は省略されています)
この特許をJ-PlatPat(特許庁公式サイト)で参照する
関連特許
古河電池株式会社
双極型蓄電池
1日前
古河電池株式会社
双極型蓄電池
15日前
古河電池株式会社
双極型蓄電池及び双極型蓄電池の製造方法
1日前
古河電池株式会社
双極型蓄電池用バイプレート、双極型蓄電池
1日前
古河電池株式会社
双極型蓄電池用バイプレート、双極型蓄電池
2日前
古河電池株式会社
非水電解質二次電池用正極および非水電解質二次電池
1日前
古河電池株式会社
非水電解質二次電池用正極および非水電解質二次電池
9日前
古河電池株式会社
非水電解質二次電池用負極板および非水電解質二次電池
1か月前
古河電池株式会社
リチウムイオン二次電池用正極およびリチウムイオン二次電池
11日前
古河電池株式会社
マグネシウムイオン二次電池用正極およびマグネシウムイオン二次電池
11日前
古河電池株式会社
リチウムイオン二次電池正極、リチウムイオン二次電池および算出方法
14日前
古河電池株式会社
リチウムイオン二次電池正極、リチウムイオン二次電池および算出方法
14日前
古河電池株式会社
リチウムイオン二次電池用正極、リチウムイオン二次電池および算出方法
14日前
古河電池株式会社
リチウムイオン二次電池用正極、リチウムイオン二次電池および算出方法
14日前
古河電池株式会社
硫黄カーボン複合正極の製造方法
3日前
日本発條株式会社
積層体
11日前
個人
フレキシブル電気化学素子
今日
東レ株式会社
多孔質炭素シート
1か月前
ローム株式会社
半導体装置
2日前
ローム株式会社
半導体装置
1か月前
個人
防雪防塵カバー
11日前
キヤノン株式会社
電子機器
1か月前
ローム株式会社
半導体装置
9日前
株式会社ユーシン
操作装置
今日
ローム株式会社
半導体装置
9日前
ローム株式会社
半導体装置
9日前
ローム株式会社
半導体装置
7日前
ニチコン株式会社
コンデンサ
23日前
オムロン株式会社
電磁継電器
1日前
ニチコン株式会社
コンデンサ
23日前
太陽誘電株式会社
全固体電池
7日前
株式会社ティラド
面接触型熱交換器
22日前
株式会社GSユアサ
蓄電設備
今日
株式会社GSユアサ
蓄電装置
7日前
太陽誘電株式会社
コイル部品
今日
株式会社GSユアサ
蓄電設備
今日
続きを見る
他の特許を見る