TOP
|
特許
|
意匠
|
商標
特許ウォッチ
Twitter
他の特許を見る
公開番号
2025131348
公報種別
公開特許公報(A)
公開日
2025-09-09
出願番号
2024029037
出願日
2024-02-28
発明の名称
非水電解質二次電池用負極板および非水電解質二次電池
出願人
古河電池株式会社
代理人
弁理士法人酒井国際特許事務所
主分類
H01M
4/133 20100101AFI20250902BHJP(基本的電気素子)
要約
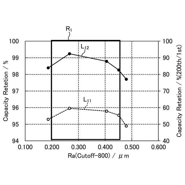
【課題】活物質粒子へのダメージを抑制しつつ高エネルギー密度化することができる非水電解質二次電池用負極板および非水電解質二次電池を提供すること。
【解決手段】本発明に係る非水電解質二次電池用負極板は、集電体の両面、またはどちらか一方の面に、負極活物質、増粘剤、結着剤を含む負極合材層を有してなる非水電解質二次電池用負極板において、負極活物質が、炭素粒子および炭素粒子表面を被覆する炭素層からなり、負極板のプレス後の電極密度が、1.10g/cm
3
以上であり、負極板の負極合材層を除去した集電体の表面における算術平均粗さ(Ra)が、0.200μm以上0.455μm以下である。
【選択図】図1
特許請求の範囲
【請求項1】
集電体の両面、またはどちらか一方の面に、負極活物質、増粘剤、結着剤を含む負極合材層を有してなる非水電解質二次電池用負極板において、
前記負極活物質は、炭素粒子および炭素粒子表面を被覆する炭素層からなり、
前記負極板のプレス後の電極密度は、1.10g/cm
3
以上であり、
前記負極板の負極合材層を除去した集電体の表面における算術平均粗さ(Ra)は、0.200μm以上0.455μm以下である、
ことを特徴とする非水電解質二次電池用負極板。
続きを表示(約 450 文字)
【請求項2】
前記電極密度は、1.10g/cm
3
以上1.28g/cm
3
未満である、
ことを特徴とする請求項1に記載の非水電解質二次電池用負極板。
【請求項3】
前記炭素粒子は、少なくとも人造黒鉛からなる、
ことを特徴とする請求項1に記載の非水電解質二次電池用負極板。
【請求項4】
前記炭素層は、非晶質炭素層からなる、
ことを特徴とする請求項1に記載の非水電解質二次電池用負極板。
【請求項5】
前記負極活物質の平均粒子径は、3μm以上10μm以下である、
ことを特徴とする請求項1に記載の非水電解質二次電池用負極板。
【請求項6】
請求項1~5のいずれか一つに記載の非水電解質二次電池用負極板と、
正極と、
前記負極板と前記正極との間に介在するセパレータと、
非水電解液と、
を備えることを特徴とする非水電解質二次電池。
発明の詳細な説明
【技術分野】
【0001】
本発明は、非水電解質二次電池用負極板、および、それを用いた非水電解質二次電池に関する。
続きを表示(約 1,300 文字)
【背景技術】
【0002】
非水電解質二次電池用負極材料として用いられる炭素系材料は、電解液への耐性や充放電サイクル時の体積変化の抑制等を目的として、負極活物質表面を非晶質炭素等で被覆し、高い電解液耐性や長期サイクル寿命特性を実現している。
【0003】
一方で、非水電解質二次電池の高エネルギー密度化、特に体積エネルギー密度の向上を目的として、負極板において、活物質の高容量化、集電体の薄膜化とともに電極密度の向上が求められている。
【0004】
ここで、電極密度の向上は材料種等の変更無く改善が図れるため、最も対処しやすい対策ではあるものの、負極板への過剰なプレスによって、活物質層の圧縮のみならず、活物質層の剥離や活物質粒子の破壊が生じ、活物質の失活や副反応の増加に伴った、エネルギー密度の低下や充放電サイクル特性の低下を引き起こす可能性がある。このため、電極密度の向上には、活物質層の圧縮に対し、過不足の無いプレスが必要となる。
【0005】
例えば、目標となるプレスを行った場合の面積増加率が所定の範囲となる集電体を用いて、プレス時における集電体と合材層との延性の違いによる電極歪みを抑制することで、サイクル寿命等の改善がなされている(例えば、特許文献1を参照)。
【先行技術文献】
【特許文献】
【0006】
特許第3783503号公報
【発明の概要】
【発明が解決しようとする課題】
【0007】
しかしながら、特許文献1に記載の方法では、合材層の到達密度を改善するのみであり、過剰なプレスによる活物質粒子へのダメージ(粒子のクラック、表面コート層の破壊など)に伴う電池特性の低下(容量低下、サイクル特性低下など)への対策としては不十分である。
【0008】
本発明は上記に鑑みてなされたものであり、活物質粒子へのダメージを抑制しつつ、高エネルギー密度化することができる非水電解質二次電池用負極板および非水電解質二次電池を提供することを目的とする。
【課題を解決するための手段】
【0009】
上記課題を解決するために、本発明に係る非水電解質二次電池用負極板は、集電体の両面、またはどちらか一方の面に、負極活物質、増粘剤、結着剤を含む負極合材層を有してなる非水電解質二次電池用負極板において、前記負極活物質は、炭素粒子および炭素粒子表面を被覆する炭素層からなり、前記負極板のプレス後の電極密度は、1.10g/cm
3
以上であり、前記負極板の負極合材層を除去した集電体の表面における算術平均粗さ(Ra)は、0.200μm以上0.455μm以下である、ことを特徴とする。
【0010】
また、本発明に係る非水電解質二次電池は、上記の発明に係る非水電解質二次電池用負極板と、正極と、前記負極板と前記正極との間に介在するセパレータと、非水電解液と、を備えることを特徴とする。
【発明の効果】
(【0011】以降は省略されています)
この特許をJ-PlatPat(特許庁公式サイト)で参照する
関連特許
古河電池株式会社
鉛蓄電池
2か月前
古河電池株式会社
双極型蓄電池
7日前
古河電池株式会社
双極型鉛蓄電池
1か月前
古河電池株式会社
双極型鉛蓄電池
2か月前
古河電池株式会社
非水電解質二次電池用正極および非水電解質二次電池
1日前
古河電池株式会社
非水電解質二次電池用負極板および非水電解質二次電池
23日前
古河電池株式会社
リチウムイオン二次電池用正極およびリチウムイオン二次電池
3日前
古河電池株式会社
マグネシウムイオン二次電池用正極およびマグネシウムイオン二次電池
3日前
古河電池株式会社
リチウムイオン二次電池正極、リチウムイオン二次電池および算出方法
6日前
古河電池株式会社
リチウムイオン二次電池正極、リチウムイオン二次電池および算出方法
6日前
古河電池株式会社
リチウムイオン二次電池用正極、リチウムイオン二次電池および算出方法
6日前
古河電池株式会社
リチウムイオン二次電池用正極、リチウムイオン二次電池および算出方法
6日前
個人
安全なNAS電池
27日前
東レ株式会社
多孔質炭素シート
22日前
日本発條株式会社
積層体
3日前
個人
フリー型プラグ安全カバー
1か月前
キヤノン株式会社
電子機器
22日前
ローム株式会社
半導体装置
1日前
エイブリック株式会社
半導体装置
24日前
ローム株式会社
半導体装置
1日前
個人
防雪防塵カバー
3日前
ローム株式会社
半導体装置
22日前
エイブリック株式会社
半導体装置
24日前
ローム株式会社
半導体装置
1日前
ニチコン株式会社
コンデンサ
15日前
沖電気工業株式会社
アンテナ
1か月前
株式会社GSユアサ
蓄電装置
3日前
ニチコン株式会社
コンデンサ
15日前
個人
半導体パッケージ用ガラス基板
2日前
株式会社GSユアサ
蓄電装置
1か月前
東レ株式会社
ガス拡散層の製造方法
22日前
株式会社GSユアサ
蓄電装置
1か月前
オムロン株式会社
電磁継電器
1か月前
株式会社GSユアサ
蓄電装置
1か月前
株式会社ティラド
面接触型熱交換器
14日前
トヨタ自動車株式会社
二次電池
3日前
続きを見る
他の特許を見る