TOP
|
特許
|
意匠
|
商標
特許ウォッチ
Twitter
他の特許を見る
10個以上の画像は省略されています。
公開番号
2025150942
公報種別
公開特許公報(A)
公開日
2025-10-09
出願番号
2024052108
出願日
2024-03-27
発明の名称
通信システム、プログラム及び通信方法
出願人
古河電気工業株式会社
代理人
個人
,
個人
主分類
H04L
12/28 20060101AFI20251002BHJP(電気通信技術)
要約
【課題】通信ネットワークにおいて通信帯域を効率的に分配しつつ、通信の設定内容を容易かつ柔軟に変更することができる通信システム、プログラム及び通信方法を提供すること。
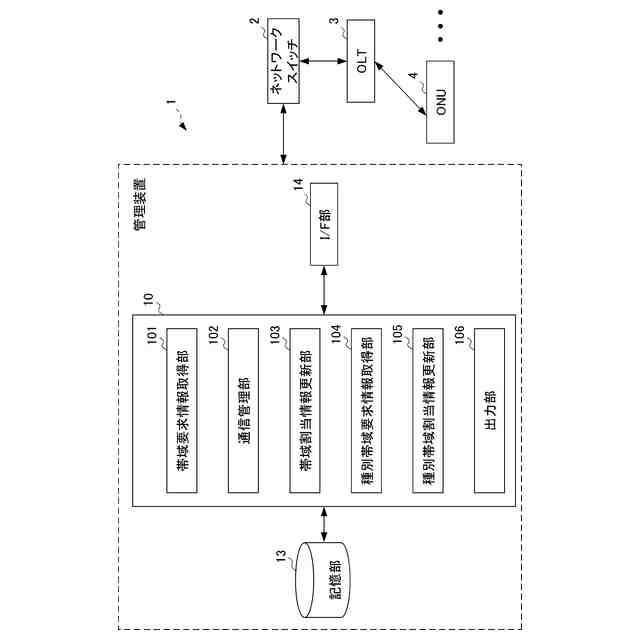
【解決手段】通信システム100は、加入者側の複数の加入者側通信装置4と、複数の加入者側通信装置4が通信可能に接続される事業者側通信装置3と、を含む通信ネットワークNWを備え、加入者に通信サービスを提供する通信システム100であって、加入者側通信装置4に要求される時間帯毎の通信帯域に関する要求帯域情報を取得し、取得した要求帯域情報に基づいて、加入者側通信装置4に対する時間帯毎の通信帯域の割当を含む通信ネットワークNWの通信設定を行い、通信ネットワークNWの通信を管理する管理装置1を備える。
【選択図】図1
特許請求の範囲
【請求項1】
加入者側の複数の第1通信装置と、複数の前記第1通信装置が通信可能に接続される第2通信装置と、を含む通信ネットワークを備え、加入者に通信サービスを提供する通信システムであって、
前記第1通信装置に要求される時間帯毎の通信帯域に関する要求帯域情報を取得し、取得した前記要求帯域情報に基づいて、前記第1通信装置に対する時間帯毎の通信帯域の割当を含む前記通信ネットワークの通信設定を行い、前記通信ネットワークの通信を管理する管理装置を備える通信システム。
続きを表示(約 820 文字)
【請求項2】
前記通信ネットワークは、前記第2通信装置に接続され、前記管理装置からの情報を前記第2通信装置に送信するネットワークスイッチである第3通信装置を更に備え、
第1通信装置は、ONUであり、
前記第2通信装置は、OLTである請求項1に記載の通信システム。
【請求項3】
前記管理装置は、前記第1通信装置の加入者が利用する通信サービスの種類毎に要求される時間帯毎の通信帯域に関する種別要求帯域情報を取得し、取得した前記種別要求帯域情報に基づいて、前記第1通信装置が利用する前記通信サービスの各種類に対する時間帯毎の通信帯域を設定する請求項1又は2に記載の通信システム。
【請求項4】
加入者側の複数の第1通信装置と、複数の前記第1通信装置が通信可能に接続される第2通信装置と、を含む通信ネットワークを備え、加入者に通信サービスを提供する通信システムのコンピュータに実行させるプログラムであって、
前記第1通信装置に要求される時間帯毎の通信帯域に関する要求帯域情報を取得し、取得した前記要求帯域情報に基づいて、前記第1通信装置に対する時間帯毎の通信帯域の割当を含む前記通信ネットワークの通信設定を行い、前記通信ネットワークの通信を管理する管理工程を含むプログラム。
【請求項5】
加入者側の複数の第1通信装置と、複数の前記第1通信装置が通信可能に接続される第2通信装置と、を含む通信ネットワークを備え、加入者に通信サービスを提供する通信システムに適用される通信方法であって、
前記第1通信装置に要求される時間帯毎の通信帯域に関する要求帯域情報を取得し、取得した前記要求帯域情報に基づいて、前記第1通信装置に対する時間帯毎の通信帯域の割当を含む前記通信ネットワークの通信設定を行い、前記通信ネットワークの通信を管理する管理工程を含む通信方法。
発明の詳細な説明
【技術分野】
【0001】
本発明は、通信システム、プログラム及び通信方法に関する。
続きを表示(約 1,700 文字)
【背景技術】
【0002】
従来、複数の通信装置によって構成される通信ネットワークにおいて通信サービスを提供する技術が知られている。特許文献1には、ONUが予め設定された情報に基づいて、OLTにサービス設定情報を申請すること、リクエストされたサービス設定情報に基づいて、OLTとONUのサービス設定を行うことが記載されている。
【先行技術文献】
【特許文献】
【0003】
特表2022-545879号公報
【発明の概要】
【発明が解決しようとする課題】
【0004】
ところでPON等の通信ネットワークでは、光スプリッタ(SPL)により光信号を分岐させて、複数のONUに光信号を供給している。つまり、一定の通信帯域を複数のONUで共有しているので、通信量の多いサービスを利用しているONUが多い場合、個々のONUに割り当てられる通信帯域が狭くなり、通信品質が悪化してしまう。特許文献1では、ONU側からOLTに通信サービスの設定を申請するが、ONU等を含めた通信ネットワークの設定変更等を容易かつ柔軟に行うことが難しい。
【0005】
本発明は、通信ネットワークにおいて通信帯域を効率的に分配しつつ、通信の設定内容を容易かつ柔軟に変更することができる通信システム、プログラム及び通信方法を提供することを目的とする。
【課題を解決するための手段】
【0006】
(1)通信システムは、加入者側の複数の第1通信装置と、複数の前記第1通信装置が通信可能に接続される第2通信装置と、を含む通信ネットワークを備え、加入者に通信サービスを提供する通信システムであって、前記第1通信装置に要求される時間帯毎の通信帯域に関する要求帯域情報を取得し、取得した前記要求帯域情報に基づいて、前記第1通信装置に対する時間帯毎の通信帯域の割当を含む前記通信ネットワークの通信設定を行い、前記通信ネットワークの通信を管理する管理装置を備える。
【0007】
(2)(1)に記載の通信システムにおいて、前記通信ネットワークは、前記第2通信装置に接続され、前記管理装置からの情報を前記第2通信装置に送信するネットワークスイッチである第3通信装置を更に備え、第1通信装置は、ONUであり、前記第2通信装置は、OLTである。
【0008】
(3)(1)又は(2)に記載の通信システムにおいて、前記管理装置は、前記第1通信装置の加入者が利用する通信サービスの種類毎に要求される時間帯毎の通信帯域に関する種別要求帯域情報を取得し、取得した前記種別要求帯域情報に基づいて、前記第1通信装置が利用する前記通信サービスの各種類に対する時間帯毎の通信帯域を設定する。
【0009】
(4)プログラムは、加入者側の複数の第1通信装置と、複数の前記第1通信装置が通信可能に接続される第2通信装置と、を含む通信ネットワークを備え、加入者に通信サービスを提供する通信システムのコンピュータに実行させるプログラムであって、前記第1通信装置に要求される時間帯毎の通信帯域に関する要求帯域情報を取得し、取得した前記要求帯域情報に基づいて、前記第1通信装置に対する時間帯毎の通信帯域の割当を含む前記通信ネットワークの通信設定を行い、前記通信ネットワークの通信を管理する管理工程を含む。
【0010】
(5)通信方法は、加入者側の複数の第1通信装置と、複数の前記第1通信装置が通信可能に接続される第2通信装置と、を含む通信ネットワークを備え、加入者に通信サービスを提供する通信システムに適用される通信方法であって、前記第1通信装置に要求される時間帯毎の通信帯域に関する要求帯域情報を取得し、取得した前記要求帯域情報に基づいて、前記第1通信装置に対する時間帯毎の通信帯域の割当を含む前記通信ネットワークの通信設定を行い、前記通信ネットワークの通信を管理する管理工程を含む。
【発明の効果】
(【0011】以降は省略されています)
この特許をJ-PlatPat(特許庁公式サイト)で参照する
関連特許
サクサ株式会社
中継装置
1日前
サクサ株式会社
中継装置
2日前
WHISMR合同会社
収音装置
29日前
キヤノン株式会社
撮像装置
1か月前
アイホン株式会社
電気機器
23日前
株式会社リコー
画像形成装置
2か月前
株式会社リコー
画像形成装置
1か月前
サクサ株式会社
無線システム
今日
個人
ワイヤレスイヤホン対応耳掛け
21日前
キヤノン電子株式会社
画像読取装置
1か月前
株式会社リコー
画像形成装置
1か月前
サクサ株式会社
無線通信装置
1日前
サクサ株式会社
無線通信装置
1日前
キヤノン株式会社
撮像システム
23日前
株式会社ニコン
撮像装置
2か月前
ブラザー工業株式会社
読取装置
1か月前
個人
発信機及び発信方法
今日
沖電気工業株式会社
画像形成装置
3日前
株式会社JVCケンウッド
通信システム
7日前
株式会社松平商会
携帯機器カバー
1か月前
パテントフレア株式会社
水中電波通信法
2か月前
キヤノン電子株式会社
シート材搬送装置
1か月前
沖電気工業株式会社
画像形成装置
11日前
株式会社小糸製作所
画像照射装置
1か月前
パテントフレア株式会社
超高速電波通信
1か月前
国立大学法人電気通信大学
小型光学装置
1か月前
大日本印刷株式会社
写真撮影装置
22日前
有限会社フィデリックス
マイクロフォン
7日前
DXO株式会社
情報処理システム
2か月前
日本無線株式会社
無線通信システム
1か月前
日本無線株式会社
無線通信システム
1か月前
個人
回動アームを構築する関節モジュール
3日前
株式会社国際電気
遠隔監視システム
1か月前
株式会社リコー
画像形成装置
1か月前
日本無線株式会社
無線通信システム
1か月前
ダイハツ工業株式会社
人流取得装置
1日前
続きを見る
他の特許を見る