TOP
|
特許
|
意匠
|
商標
特許ウォッチ
Twitter
他の特許を見る
公開番号
2025145681
公報種別
公開特許公報(A)
公開日
2025-10-03
出願番号
2024045991
出願日
2024-03-22
発明の名称
研磨方法および研磨装置
出願人
株式会社荏原製作所
代理人
個人
,
個人
,
個人
主分類
B24B
53/017 20120101AFI20250926BHJP(研削;研磨)
要約
【課題】ドレッシング中の研磨パッドの表面温度の上昇を抑えることで、ドレッサによる研磨パッドの過剰な切削を防止することができる技術を提供する。
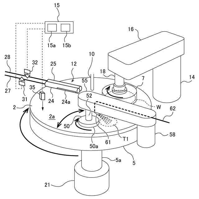
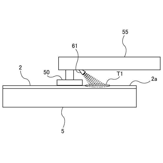
【解決手段】研磨方法は、研磨面2aを有する研磨パッド2を回転させながら、パッド温度調節装置12により研磨面2aの温度を調節し、研磨ヘッド7によりワークピースWを研磨面2aに対して押し付けることで、ワークピースWを研磨し、ワークピースWの研磨中に、ドレッサアーム55によりドレッサ50を研磨パッド2の半径方向に移動させながら、ドレッサ50で研磨面2aをドレッシングし、研磨面2aのドレッシング中に、ドレッサアーム55に取り付けられた第1冷却ノズル61から冷却流体を研磨面2aの第1ターゲット領域T1に放出することで第1ターゲット領域T1を冷却する。
【選択図】図2
特許請求の範囲
【請求項1】
ワークピースを研磨する研磨方法であって、
研磨面を有する研磨パッドを回転させながら、パッド温度調節装置により前記研磨面の温度を調節し、
研磨ヘッドにより前記ワークピースを前記研磨面に対して押し付けることで、前記ワークピースを研磨し、
前記ワークピースの研磨中に、ドレッサアームによりドレッサを前記研磨パッドの半径方向に移動させながら、前記ドレッサで前記研磨面をドレッシングし、
前記研磨面のドレッシング中に、前記ドレッサアームに取り付けられた第1冷却ノズルから冷却流体を前記研磨面の第1ターゲット領域に放出することで前記第1ターゲット領域を冷却し、前記第1ターゲット領域は、前記研磨パッドの回転方向において前記ドレッサの上流に位置する、研磨方法。
続きを表示(約 1,300 文字)
【請求項2】
前記研磨ヘッドは、前記パッド温度調節装置により温度が調節された前記研磨面に対して前記ワークピースを押し付け、
前記ドレッサは、前記冷却流体により冷却された前記研磨面をドレッシングし、
前記パッド温度調節装置は、前記ドレッシングされた前記研磨面の温度を調節する、請求項1に記載の研磨方法。
【請求項3】
前記第1冷却ノズルは、前記ドレッサと一体に移動する、請求項1に記載の研磨方法。
【請求項4】
前記研磨ヘッド、前記第1ターゲット領域、および前記ドレッサは、前記研磨パッドの回転方向において、前記研磨ヘッド、前記第1ターゲット領域、前記ドレッサの順に並んでいる、請求項1に記載の研磨方法。
【請求項5】
前記研磨方法は、前記研磨面のドレッシング中に、前記ドレッサアームに取り付けられた第2冷却ノズルから冷却流体を前記研磨面の第2ターゲット領域に放出することをさらに含み、前記第2ターゲット領域は、前記研磨パッドの回転方向において、前記ドレッサの下流に位置する、請求項1に記載の研磨方法。
【請求項6】
前記研磨方法は、前記研磨面のドレッシング中に、前記ドレッサアームに取り付けられた第2冷却ノズルから冷却流体を前記研磨面の第2ターゲット領域に放出することをさらに含み、前記第2ターゲット領域は、前記研磨面の中心と前記第1ターゲット領域との間に位置する、請求項1に記載の研磨方法。
【請求項7】
ワークピースを研磨する研磨装置であって、
研磨面を有する研磨パッドを回転させる研磨テーブルと、
前記ワークピースを前記研磨面に対して押し付ける研磨ヘッドと、
前記研磨面の温度を調節するパッド温度調節装置と、
前記研磨面をドレッシングするドレッサと、
前記ドレッサを前記研磨パッドの半径方向に移動させるドレッサアームと、
冷却流体を前記研磨面の第1ターゲット領域に放出する第1冷却ノズルを備え、
前記第1冷却ノズルは、前記ドレッサアームに取り付けられており、前記研磨パッドの回転方向において前記ドレッサの上流に配置されている、研磨装置。
【請求項8】
前記パッド温度調節装置、前記研磨ヘッド、前記第1冷却ノズル、および前記ドレッサは、前記研磨パッドの回転方向において、前記パッド温度調節装置、前記研磨ヘッド、前記第1冷却ノズル、前記ドレッサの順に配列されている、請求項7に記載の研磨装置。
【請求項9】
前記第1冷却ノズルは、前記ドレッサに隣接している、請求項7に記載の研磨装置。
【請求項10】
前記研磨装置は、冷却流体を前記研磨面の第2ターゲット領域に放出する第2冷却ノズルをさらに備え、
前記第2冷却ノズルは、前記ドレッサアームに取り付けられており、かつ前記研磨パッドの回転方向において前記ドレッサの下流に配置されている、請求項7に記載の研磨装置。
(【請求項11】以降は省略されています)
発明の詳細な説明
【技術分野】
【0001】
本発明は、研磨パッドの研磨面の温度を制御しながら、ウェーハ、基板、パネルなどのワークピースを研磨面上で研磨する技術に関する。
続きを表示(約 2,200 文字)
【背景技術】
【0002】
CMP(Chemical Mechanical Polishing)装置は、半導体デバイスの製造において、ウェーハの表面を研磨する工程に使用される。CMP装置は、膜を有するウェーハを研磨ヘッドにより回転させ、さらに回転する研磨テーブル上の研磨パッドにウェーハを研磨ヘッドにより押し付けて、ウェーハの表面を構成する膜を研磨する。研磨中、研磨パッドには研磨液が供給される。ウェーハの膜は、研磨液の化学的作用と、研磨液に含まれる砥粒および/または研磨パッドの機械的作用により平坦化される。
【0003】
ウェーハの研磨レート(除去レートともいう)は、ウェーハの研磨パッドに対する研磨荷重のみならず、研磨パッドの表面温度にも依存する。これは、ウェーハの膜に対する研磨液の化学的作用が温度に依存するからである。したがって、ウェーハの適切な研磨レートを達成するために、ウェーハ研磨中の研磨パッドの表面温度を最適に制御することが重要とされる。そこで、研磨パッドの表面温度を調節するためのパッド温度調節装置が使用されている(例えば、特許文献1参照)。
【0004】
CMP装置では、研磨パッドの研磨性能を維持するために、ドレッサを用いて研磨パッドの研磨面のドレッシングが行われる。具体的には、ドレッサは、ダイヤモンド粒子などの砥粒が固定されたドレッシング面を研磨パッドの研磨面に摺接させることで、研磨パッドの研磨面をわずかに削り取りながら研磨残渣を取り除き、これによって研磨パッドの研磨面を再生させてウェーハの研磨レートを維持する。
【先行技術文献】
【特許文献】
【0005】
特開2015-155128号公報
【発明の概要】
【発明が解決しようとする課題】
【0006】
しかしながら、パッド温度調節装置で研磨パッドの表面温度を上昇させると、研磨パッドが柔らかくなり、ドレッサは、研磨パッドの表面温度を上昇させていないときよりも必要以上に多くの量の研磨パッドを削り取ってしまう。結果として、研磨パッドの寿命が短くなってしまう。
【0007】
そこで、本発明は、ドレッシング中の研磨パッドの表面温度の上昇を抑えることで、ドレッサによる研磨パッドの過剰な切削を防止することができる技術を提供する。
【課題を解決するための手段】
【0008】
一態様では、ワークピースを研磨する研磨方法であって、研磨面を有する研磨パッドを回転させながら、パッド温度調節装置により前記研磨面の温度を調節し、研磨ヘッドにより前記ワークピースを前記研磨面に対して押し付けることで、前記ワークピースを研磨し、前記ワークピースの研磨中に、ドレッサアームによりドレッサを前記研磨パッドの半径方向に移動させながら、前記ドレッサで前記研磨面をドレッシングし、前記研磨面のドレッシング中に、前記ドレッサアームに取り付けられた第1冷却ノズルから冷却流体を前記研磨面の第1ターゲット領域に放出することで前記第1ターゲット領域を冷却し、前記第1ターゲット領域は、前記研磨パッドの回転方向において前記ドレッサの上流に位置する、研磨方法が提供される。
【0009】
一態様では、前記研磨ヘッドは、前記パッド温度調節装置により温度が調節された前記研磨面に対して前記ワークピースを押し付け、前記ドレッサは、前記冷却流体により冷却された前記研磨面をドレッシングし、前記パッド温度調節装置は、前記ドレッシングされた前記研磨面の温度を調節する。
一態様では、前記第1冷却ノズルは、前記ドレッサと一体に移動する。
一態様では、前記研磨ヘッド、前記第1ターゲット領域、および前記ドレッサは、前記研磨パッドの回転方向において、前記研磨ヘッド、前記第1ターゲット領域、前記ドレッサの順に並んでいる。
一態様では、前記研磨方法は、前記研磨面のドレッシング中に、前記ドレッサアームに取り付けられた第2冷却ノズルから冷却流体を前記研磨面の第2ターゲット領域に放出することをさらに含み、前記第2ターゲット領域は、前記研磨パッドの回転方向において、前記ドレッサの下流に位置する。
一態様では、前記研磨方法は、前記研磨面のドレッシング中に、前記ドレッサアームに取り付けられた第2冷却ノズルから冷却流体を前記研磨面の第2ターゲット領域に放出することをさらに含み、前記第2ターゲット領域は、前記研磨面の中心と前記第1ターゲット領域との間に位置する。
【0010】
一態様では、ワークピースを研磨する研磨装置であって、研磨面を有する研磨パッドを回転させる研磨テーブルと、前記ワークピースを前記研磨面に対して押し付ける研磨ヘッドと、前記研磨面の温度を調節するパッド温度調節装置と、前記研磨面をドレッシングするドレッサと、前記ドレッサを前記研磨パッドの半径方向に移動させるドレッサアームと、冷却流体を前記研磨面の第1ターゲット領域に放出する第1冷却ノズルを備え、前記第1冷却ノズルは、前記ドレッサアームに取り付けられており、前記研磨パッドの回転方向において前記ドレッサの上流に配置されている、研磨装置が提供される。
(【0011】以降は省略されています)
この特許をJ-PlatPat(特許庁公式サイト)で参照する
関連特許
株式会社荏原製作所
モータポンプ
11日前
株式会社荏原製作所
熱媒体供給装置
11日前
株式会社荏原製作所
蒸気発電プラント
4日前
株式会社荏原製作所
研磨方法および研磨装置
11日前
株式会社荏原製作所
排ガス処理装置および排ガス処理方法
12日前
株式会社荏原製作所
可動装置、研磨装置および基板処理装置
11日前
株式会社荏原製作所
研磨装置、研磨方法、および研磨ヘッド
25日前
株式会社荏原製作所
基板洗浄装置のキャリブレーション方法および基板洗浄方法
6日前
株式会社荏原製作所
基板表面近傍の液置換状態を評価する方法および評価用基板
11日前
オリオン機械株式会社
ヒータおよびこれを有する液体温調装置
今日
株式会社荏原製作所
情報処理装置、基板研磨装置、推論装置、機械学習装置、情報処理方法、推論方法、及び、機械学習方法
4日前
個人
包丁研ぎ器具
2か月前
株式会社松風
研磨用ゴム砥石
4日前
個人
研磨体
4か月前
株式会社サンポー
ブラスト装置
5か月前
株式会社クボタ
管研削装置
3か月前
株式会社東京精密
研削装置
今日
株式会社村田製作所
切削装置
4か月前
株式会社ディスコ
被加工物の加工方法
25日前
ノリタケ株式会社
超砥粒ホイール
4日前
株式会社東京精密
加工方法
6日前
株式会社東京精密
加工装置
6日前
シンクス株式会社
ボード切断装置
4か月前
大同特殊鋼株式会社
疵研削順序決定方法
5か月前
株式会社ニッチュー
ブラスト装置
3か月前
不二空機株式会社
可搬型動力工具
4か月前
株式会社東京精密
加工装置
4日前
秀和工業株式会社
処理装置および処理方法
27日前
トヨタ自動車株式会社
回転砥石の製造方法
2か月前
株式会社ディスコ
砥石
3か月前
オークマ株式会社
円筒研削盤
3か月前
ノリタケ株式会社
研磨パッド
4日前
株式会社アイドゥス企画
受動変形内面研磨ホイール
2か月前
富士紡ホールディングス株式会社
研磨パッド
今日
富士紡ホールディングス株式会社
研磨パッド
今日
富士紡ホールディングス株式会社
研磨パッド
今日
続きを見る
他の特許を見る