TOP
|
特許
|
意匠
|
商標
特許ウォッチ
Twitter
他の特許を見る
10個以上の画像は省略されています。
公開番号
2025144584
公報種別
公開特許公報(A)
公開日
2025-10-03
出願番号
2024044296
出願日
2024-03-20
発明の名称
鉄道車両及びその製造方法
出願人
日本車輌製造株式会社
代理人
弁理士法人コスモス国際特許商標事務所
主分類
B61D
17/00 20060101AFI20250926BHJP(鉄道)
要約
【課題】シングルスキン形材(ダブルスキン構造を一部に有するものを含む)を複数並べて、面板部同士の目違いの発生を抑制しつつ、連続的に突合せ溶接することができ、段取り工数や溶接工数を低減できる突合せ継手を有する構体を備えた鉄道車両及びその鉄道車両の製造方法を提供すること。
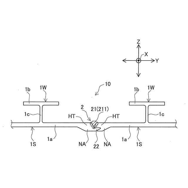
【解決手段】一の面板部1aに対向する他の面板部1bをウェブ部1cで連結したダブルスキン構造1Wを一部に有するシングルスキン形材1S、又は一の面板部からなるシングルスキン形材1SBを複数有し、シングルスキン形材を一の面板部の幅方向端部HTで突合せ溶接する突合せ継手2を有する構体DWを備えた鉄道車両10である。突合せ継手は、一の面板部の幅方向端部同士を溶接する突合せ溶接部21と、一の面板部の幅方向端部に形成された肉増加部NA同士を嵌合する嵌合部22と、を備え、突合せ溶接部と嵌合部とが、一の面板部の板厚方向で隣接して形成されている。
【選択図】 図6
特許請求の範囲
【請求項1】
一の面板部に対向する他の面板部をウェブ部で連結したダブルスキン構造を一部に有するシングルスキン形材、又は一の面板部からなるシングルスキン形材を複数有し、前記シングルスキン形材を前記一の面板部の幅方向端部で突合せ溶接する突合せ継手を有する構体を備えた鉄道車両であって、
前記突合せ継手は、前記一の面板部の幅方向端部同士を溶接する突合せ溶接部と、前記一の面板部の幅方向端部に形成された肉増加部同士を嵌合する嵌合部と、を備え、
前記突合せ溶接部と前記嵌合部とが、前記一の面板部の板厚方向で隣接して形成されていることを特徴とする鉄道車両。
続きを表示(約 710 文字)
【請求項2】
請求項1に記載された鉄道車両において、
前記肉増加部の板厚は、前記一の面板部の板厚より薄く形成されていることを特徴とする鉄道車両。
【請求項3】
請求項1又は請求項2に記載された鉄道車両において、
前記嵌合部は、前記一の面板部の一方の幅方向端部に形成された前記肉増加部に幅外方へ鋭角状に凸設された突起部と、前記一の面板部の他方の幅方向端部に形成された前記肉増加部に凹設され前記突起部と係合する窪み部と、を備え、
前記突起部は、前記突合せ溶接部の溶接範囲を跨いで延設されていることを特徴とする鉄道車両。
【請求項4】
請求項3に記載された鉄道車両の製造方法において、
前記突合せ溶接部は、前記一の面板部の幅方向端部の端面に対して開先が形成され、当該開先の隙間に溶加材を供給して溶接することを特徴とする鉄道車両の製造方法。
【請求項5】
請求項3に記載された鉄道車両の製造方法において、
前記突合せ溶接部は、前記一の面板部の幅方向端部の端面に対して互いに当接する当接面が形成され、当該当接面を含む前記幅方向端部に回転体の軸部を挿入して摩擦撹拌溶接することを特徴とする鉄道車両の製造方法。
【請求項6】
請求項5に記載された鉄道車両の製造方法において、
前記当接面は、直線面又は円弧面であって、前記一の面板部の幅方向に対して前記突起部側へ鋭角状に傾斜して形成され、当該直線面又は円弧面を含む前記幅方向端部に前記回転体の軸部を挿入して摩擦撹拌溶接することを特徴とする鉄道車両の製造方法。
発明の詳細な説明
【技術分野】
【0001】
本発明は、鉄道車両及びその製造方法に関し、より詳しくは、面板部同士を突合せて溶接する突合せ継手を有する構体を備えた鉄道車両及びその鉄道車両の製造方法に関する。
続きを表示(約 2,500 文字)
【背景技術】
【0002】
近年、構体の軽量化と高剛性化とを両立させるため、対向する2つの面板部をウェブ部で連結したダブルスキン構造の構体を備えた鉄道車両が、採用されている。このような鉄道車両の構体では、複数のダブルスキン押出形材において、対向する2つの面板部の幅方向端部同士を、突合せた状態で、形材の押出方向に沿って溶接する突合せ継手を備えている。上記突合せ継手は、溶接前のセット状態において、面板部の板厚方向に目違い(段違い)が生じやすく、その目違いを抑制するため、外部からの機械的な拘束が必要となっていた。しかし、複数の各突合せ継手に対して、それぞれ機械的な拘束を行うことは困難な場合があるため、突合せ継手自身によって、この面板部の目違いを低減する方策が検討されている。
【0003】
この点、例えば、特許文献1には、図12に示すように、対向する2つの面板部101の幅方向端部同士を突合せて摩擦撹拌溶接する突合せ継手102と、2つの面板部101を連結するウェブ部103から突出して互いに嵌め合わされる嵌合部104と、を有する構体を備えた鉄道車両100が開示されている。この鉄道車両100では、嵌合部104によって、面板部101の板厚方向へのズレを規制し、複数のダブルスキン押出形材における各突合せ継手102において、面板部101同士の目違いの発生を抑制できる。
【先行技術文献】
【特許文献】
【0004】
特開2016-117076号公報
【発明の概要】
【発明が解決しようとする課題】
【0005】
しかしながら、上記特許文献1の鉄道車両100では、以下のような問題があった。すなわち、鉄道車両100の構体では、一般に、部位によって必要な強度が異なり、対向する2つの面板部をウェブ部で連結したダブルスキン構造を必ずしも必要としない部位も存在する。そのような部位では、構体の更なる軽量化や溶接工数の低減等を図るべく、ダブルスキン構造を一部に有するシングルスキン形材、又は一つの面板部からなるシングルスキン形材同士を突合せ溶接することがある。
【0006】
ところが、シングルスキン形材(ダブルスキン構造を一部に有するものを含む)では、上記特許文献1のように、ウェブ部から突出して互いに嵌め合わされる嵌合部を設けることができない。また、シングルスキン形材(ダブルスキン構造を一部に有するものを含む)では、一つの面板部が単独で幅方向に延設されているので、当該面板部の幅方向端部における反りが生じやすい。そのため、従来は、例えば、3つ以上のシングルスキン形材を幅方向端部で突合せ溶接する場合、面板部同士の目違いの発生を抑制させるため、先ず、2つのシングルスキン形材を平行に並べて、幅方向端部を拘束しながら突合せ溶接した後に、次のシングルスキン形材を追加して突合せ溶接する方策を採っていた。したがって、シングルスキン形材を複数並べて、面板部同士の目違いの発生を抑制しつつ、連続的に突合せ溶接することができず、段取り工数や溶接工数が増加するという問題があった。
【0007】
本発明は、かかる課題を解決するためになされたものであり、シングルスキン形材(ダブルスキン構造を一部に有するものを含む)を複数並べて、面板部同士の目違いの発生を抑制しつつ、連続的に突合せ溶接することができ、段取り工数や溶接工数を低減できる突合せ継手を有する構体を備えた鉄道車両及びその鉄道車両の製造方法を提供することを目的とする。
【課題を解決するための手段】
【0008】
上記目的を達成するため、本発明に係る鉄道車両及びその製造方法は、以下の構成を備えている。
(1)一の面板部に対向する他の面板部をウェブ部で連結したダブルスキン構造を一部に有するシングルスキン形材、又は一の面板部からなるシングルスキン形材を複数有し、前記シングルスキン形材を前記一の面板部の幅方向端部で突合せ溶接する突合せ継手を有する構体を備えた鉄道車両であって、
前記突合せ継手は、前記一の面板部の幅方向端部同士を溶接する突合せ溶接部と、前記一の面板部の幅方向端部に形成された肉増加部同士を嵌合する嵌合部と、を備え、
前記突合せ溶接部と前記嵌合部とが、前記一の面板部の板厚方向で隣接して形成されていることを特徴とする。
【0009】
本発明においては、突合せ継手は、一の面板部の幅方向端部同士を溶接する突合せ溶接部と、一の面板部の幅方向端部に形成された肉増加部同士を嵌合する嵌合部と、を備え、突合せ溶接部と嵌合部とが、一の面板部の板厚方向で隣接して形成されているので、シングルスキン形材(ダブルスキン構造を一部に有するものを含む)を複数並べて、一の面板部の幅方向端部同士を突合せ溶接する際、各突合せ継手において一の面板部同士の板厚方向のズレ(目違い)を、それぞれの嵌合部が互いに嵌合することによって、抑制させることができる。そのため、数多くのシングルスキン形材(ダブルスキン構造を一部に有するものを含む)を突合せ溶接する際、突合せ継手自身によって、一の面板部同士の目違いの発生を抑制することができる。
【0010】
また、突合せ継手自身によって、一の面板部同士の目違いの発生を抑制することができるので、3つ以上のシングルスキン形材(ダブルスキン構造を一部に有するものを含む)を並べて、一の面板部の幅方向端部同士を突合せ溶接する際、従来のように、2つのシングルスキン形材を並べて、幅方向端部を機械的に拘束しながら突合せ溶接した後に、次のシングル形材を追加して突合せ溶接する必要がない。そのため、シングルスキン形材(ダブルスキン構造を一部に有するものを含む)を複数並べて、連続的に突合せ溶接することができ、段取り工数や溶接工数の低減を図ることができる。
(【0011】以降は省略されています)
この特許をJ-PlatPat(特許庁公式サイト)で参照する
関連特許
日本車輌製造株式会社
杭打機の表示システム
18日前
日本車輌製造株式会社
カバーのアクセスホールへの取付構造
2日前
日本車輌製造株式会社
鉄道車両用車輪偏摩耗検知システム、および、鉄道車両用車輪偏摩耗検知方法
3日前
日本信号株式会社
検査装置
23日前
個人
車両及び走行システム
7か月前
日本信号株式会社
検査装置
11か月前
日本信号株式会社
ホーム柵
2か月前
日本信号株式会社
ホーム柵
3か月前
近畿車輌株式会社
耐火床構造
1か月前
日本車輌製造株式会社
鉄道車両
1か月前
日本信号株式会社
ホーム柵装置
7か月前
カヤバ株式会社
鉄道車両用制振装置
11か月前
近畿車輌株式会社
鉄道車両の床構造
11か月前
近畿車輌株式会社
鉄道車両の床構造
11か月前
ナブテスコ株式会社
ホームドア装置
3か月前
日本信号株式会社
列車接近警報装置
3か月前
川崎車両株式会社
鉄道車両用パネル
9か月前
近畿車輌株式会社
鉄道車両の床構造
11か月前
保線機器整備株式会社
保線用カート
9か月前
日本車輌製造株式会社
台車組立装置
5か月前
日本ケーブル株式会社
索道の支索引留め装置
3か月前
日本信号株式会社
踏切道監視システム
11か月前
株式会社東芝
台車搬送装置
1か月前
株式会社ダイフク
搬送車
6か月前
日本信号株式会社
ホーム安全システム
7か月前
日本信号株式会社
物体検知装置
7か月前
日本信号株式会社
ホームドア制御装置
4か月前
ヤマハ発動機株式会社
無人搬送車
7か月前
株式会社日立製作所
鉄道車両
1か月前
株式会社ダイフク
搬送設備
7か月前
ヤマハ発動機株式会社
無人搬送車
5か月前
ヤマハ発動機株式会社
無人搬送車
7か月前
ヤマハ発動機株式会社
無人搬送車
7か月前
日本信号株式会社
列車接近警報システム
1か月前
オークラ輸送機株式会社
無人搬送車
1か月前
日本信号株式会社
自動列車運転装置
3か月前
続きを見る
他の特許を見る