TOP
|
特許
|
意匠
|
商標
特許ウォッチ
Twitter
他の特許を見る
公開番号
2025144288
公報種別
公開特許公報(A)
公開日
2025-10-02
出願番号
2024043997
出願日
2024-03-19
発明の名称
建物情報取得システム
出願人
国際航業株式会社
代理人
弁理士法人 武政国際特許商標事務所
主分類
G06T
7/60 20170101AFI20250925BHJP(計算;計数)
要約
【課題】本願発明の課題は、従来の問題を解決することであり、すなわち従来技術に比して建物データを生成する手間をより軽減することができる建物情報取得システムを提供することである。
【解決手段】本願発明の建物情報取得システムは、ラスタデータの建物平面図に基づいて、建物平面図に関する建物情報を取得するシステムであって、領域抽出手段と方位特定手段を備えたものである。建物平面図が第1学習済みモデルに入力されると「方位記号領域(方位記号が表示された領域)」が抽出され、この方位記号領域が第2学習済みモデルに入力されると「図面方位(建物平面図における方位)」が特定される。
【選択図】図3
特許請求の範囲
【請求項1】
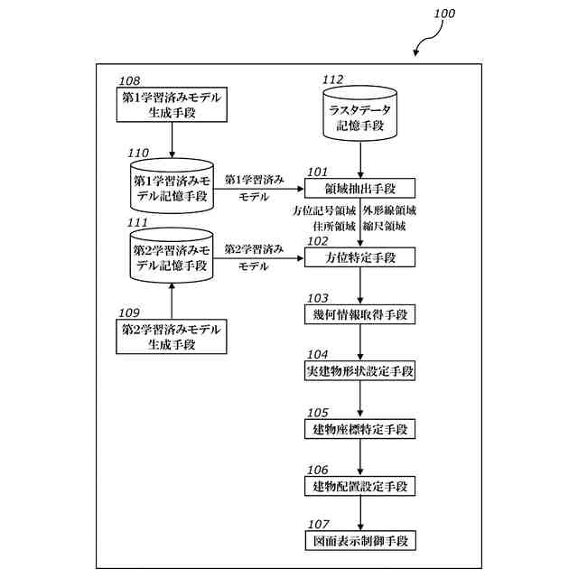
ラスタデータの「建物平面図」に基づいて、該建物平面図に関する「建物情報」を取得するシステムであって、
前記建物平面図には、方位を示す「方位記号」、建物を平面視したときの「建物外形線」、該建物の所在を表す「建物住所」、及び該建物平面図の縮尺である「図面縮尺」が含まれ、
前記建物平面図が第1学習済みモデルに入力されると、該建物平面図のうち前記方位記号が表示された領域である「方位記号領域」を抽出する領域抽出手段と、
前記方位記号領域が第2学習済みモデルに入力されると、前記建物平面図における方位である「図面方位」を特定する方位特定手段と、を備え、
前記第1学習済みモデルは、情報タグとしての前記方位記号領域が付された前記建物平面図を機械学習することによって生成され、
前記第2学習済みモデルは、情報タグとしての前記図面方位が付された前記方位記号領域を機械学習することによって生成され、
前記建物情報として、前記図面方位が取得される、
ことを特徴とする建物情報取得システム。
続きを表示(約 1,000 文字)
【請求項2】
前記領域抽出手段は、前記建物平面図が前記第1学習済みモデルに入力されると、該建物平面図のうち前記建物外形線が表示された領域である「外形線領域」、前記建物住所が表示された領域である「住所領域」、及び前記図面縮尺が表示された領域である「縮尺領域」を抽出し、
前記第1学習済みモデルは、情報タグとしての前記外形線領域、前記住所領域、及び前記縮尺領域が付された前記建物平面図を機械学習することによって生成され、
前記外形線領域に含まれる前記建物外形線に基づいて、該建物外形線を構成する「建物幾何情報」を取得する幾何情報取得手段と、
前記縮尺領域に含まれる前記図面縮尺と、前記建物幾何情報と、に基づいて、前記建物外形線の実際の形状を表す「実建物形状」を設定する実建物形状設定手段と、
前記住所領域に含まれる前記建物住所に基づいて、平面座標からなる「建物座標」を特定する建物座標特定手段と、
前記方位特定手段によって特定された前記図面方位に基づいて前記実建物形状に方位を与えるとともに、前記建物座標特定手段によって特定された前記建物座標を該実建物形状の一部に与えることによって、前記建物外形線の実際の平面配置である「実建物配置」を設定する建物配置設定手段と、を備え、
前記建物幾何情報には、前記建物外形線を構成する線分、該線分の前記建物平面図における長さ、及び線分間の挟角が含まれ、
前記建物情報として、前記実建物形状と前記実建物配置が取得される、
ことを特徴とする請求項1記載の建物情報取得システム。
【請求項3】
地形を表すデジタルデータである「デジタル地形図」を表示手段に表示させるとともに、デジタルデータとされた前記建物情報を該デジタル地形図に重ねて該表示手段に表示させる図面表示制御手段を、さらに備えた、
ことを特徴とする請求項2記載の建物情報取得システム。
【請求項4】
情報タグとしての前記方位記号領域が付された前記建物平面図を機械学習することによって、前記第1学習済みモデルを生成する第1学習済みモデル生成手段と、
情報タグとしての前記図面方位が付された前記方位記号領域を機械学習することによって、前記第2学習済みモデルを生成する第2学習済みモデル生成手段と、をさらに備えた、
ことを特徴とする請求項1記載の建物情報取得システム。
発明の詳細な説明
【技術分野】
【0001】
本願発明は、ラスタデータの平面図から数値情報を取得する技術であり、より具体的には、機械学習によって生成された学習済みモデルを利用し、平面図に含まれる情報から所望の数値情報を取得することができる建物情報取得システムに関するするものである。
続きを表示(約 1,400 文字)
【背景技術】
【0002】
地方自治体などは、固定資産情報を管理する業務を行っている。この業務を実施するにあたっては、デジタルデータの地図(以下、「デジタル地形図」という。)を利用することがある。デジタル地形図には家屋や倉庫といった建物(固定資産)のデジタルデータが含まれており、これによりデジタル地形図をディスプレイ等に表示すると建物などを確認することができ、固定資産情報の管理業務に役立てているわけである。
【0003】
ところが、新築の家屋や把握漏れの建築物などについてはデジタルデータが生成されていないこともあり、すなわちデジタル地形図にはすべての建物のデジタルデータ(以下、単に「建物データ」という。)が含まれないこともある。
【0004】
そこで地方自治体などは、不足する建物データを新たに生成し、これをデジタル地形図に追加する作業を行っている。そして、建物データを生成するための入力情報としては、土地と建物の外形を記した平面図(以下、「建物平面図」という。)を利用することがある。この建物平面図は紙媒体であることが多く、そのため建物平面図をラスタデータとしたうえで建物データを生成している。より詳しくは、ラスタデータの建物平面図(以下、単に「ラスタ建物平面図」という。)をディスプレイ等に表示し、オペレータが建物の外形をトレースすることによって建物データを生成していくわけである。
【0005】
トレースによって生成された建物データをデジタル地形図に取り込むには、その大きさや方位を調整する必要がある。そのためオペレータは、建物平面図に示された縮尺や方位に応じて、建物データを拡大あるいは縮小し、またその向きを変更する処理も実行している。
【0006】
このように、建物平面図に基づいて建物データを生成するためには多くの処理が求められ、しかも不足する建物データを生成するためにはその場所に対応する建物平面図を探索しなければならない。それ故、新たに建物データを生成するとなると、オペレータは相当な時間と労力を強いられていた。
【0007】
そこでこれまでにも、建物データを生成するオペレータの処理を軽減しようとする取り組みが行われてきた。例えば特許文献1では、「電子公図データ(ラスタ建物平面図に相当)」を透過画像に変換し、これを「電子街区地図(デジタル地形図に相当)」上に重ねた合成地図を生成するとともに、オペレータ操作によって建物データを拡大/縮小、回転、移動する技術について提案している。
【先行技術文献】
【特許文献】
【0008】
特開第2021-61039号公報
【発明の概要】
【発明が解決しようとする課題】
【0009】
特許文献1に開示される技術によれば、オペレータが建物の外形をトレースする処理から解放され、すなわち建物データを生成する手間が軽減される。しかしながら、建物データを拡大/縮小、回転、移動する処理は残されたままであり、これらの処理に係る手間を軽減することはできない。
【0010】
本願発明の課題は、従来の問題を解決することであり、すなわち従来技術に比して建物データを生成する手間をより軽減することができる建物情報取得システムを提供することである。
【課題を解決するための手段】
(【0011】以降は省略されています)
この特許をJ-PlatPat(特許庁公式サイト)で参照する
関連特許
国際航業株式会社
平面位置特定方法
8日前
国際航業株式会社
建物情報取得システム
9日前
国際航業株式会社
標高変化量算出システム
12日前
国際航業株式会社
道路縁データ作成支援システム
3日前
国際航業株式会社
レーダー反射システム、及び計測方法
22日前
国立大学法人電気通信大学
計測点分類装置
1か月前
国際航業株式会社
合成開口レーダー用リフレクタ、及び計測方法
22日前
個人
QRコードの彩色
1日前
個人
工程設計支援装置
1か月前
個人
地球保全システム
10日前
個人
冷凍食品輸出支援構造
1か月前
個人
為替ポイント伊達夢貯
1か月前
個人
表変換編集支援システム
1か月前
個人
残土処理システム
3日前
個人
携帯情報端末装置
1か月前
個人
結婚相手紹介支援システム
1か月前
個人
知財出願支援AIシステム
1か月前
個人
知的財産出願支援システム
4日前
個人
AIによる情報の売買の仲介
1か月前
個人
行動時間管理システム
1か月前
個人
パスワード管理支援システム
1か月前
個人
パスポートレス入出国システム
1か月前
株式会社キーエンス
受発注システム
9日前
株式会社アジラ
進入判定装置
1か月前
個人
AIキャラクター制御システム
1か月前
個人
海外支援型農作物活用システム
22日前
株式会社キーエンス
受発注システム
9日前
個人
システム及びプログラム
23日前
株式会社キーエンス
受発注システム
9日前
日本精機株式会社
施工管理システム
1か月前
個人
食品レシピ生成システム
9日前
個人
音声対話型帳票生成支援システム
1か月前
個人
食事受注会計処理システム
1か月前
個人
帳票自動生成型SaaSシステム
4日前
個人
音声・通知・再配達UX制御構造
4日前
個人
未来型家系図構築システム
22日前
続きを見る
他の特許を見る