TOP
|
特許
|
意匠
|
商標
特許ウォッチ
Twitter
他の特許を見る
公開番号
2025144121
公報種別
公開特許公報(A)
公開日
2025-10-02
出願番号
2024043741
出願日
2024-03-19
発明の名称
バッテリシステム
出願人
本田技研工業株式会社
代理人
個人
,
個人
主分類
H01M
50/262 20210101AFI20250925BHJP(基本的電気素子)
要約
【課題】充電率の上昇に伴ってセル厚さが増加し、充電率の下降に伴ってセル厚さが減少する電池セルを用いながらも、バスバーと接続させたときに電池セルのタブが折れ曲がりにくく、電池セル自体も折れ曲がりにくいバッテリシステムを提供すること。
【解決手段】複数個の電池セルを積層したセル積層体と、前記セル積層体の積層方向の両端に配置された一対のエンドプレートとを含み、前記電池セルと前記電池セルとの間及び前記電池セルとエンドプレートとの間の少なくとも一方にクッションが配置されているバッテリモジュールと、前記セル積層体のそれぞれの前記電池セルのセル厚さを制御するセル厚制御器と、を備える、バッテリシステム。
【選択図】図1
特許請求の範囲
【請求項1】
複数個の電池セルを積層したセル積層体と、前記セル積層体の積層方向の両端に配置された一対のエンドプレートとを含み、前記電池セルと前記電池セルとの間及び前記電池セルとエンドプレートとの間の少なくとも一方にクッションが配置されているバッテリモジュールと、
前記セル積層体のそれぞれの前記電池セルのセル厚さを制御するセル厚制御器と、を備え、
前記電池セルは、充電率の上昇と伴ってセル厚さが増加し、充電率の下降と伴ってセル厚さが減少し、
前記セル厚制御器は、前記セル積層体のそれぞれの前記電池セルの電圧を計測する電圧測定部と、前記電池セルの電圧に基づいて、前記電池セルのセル厚さを計算するセル厚算出部と、前記電池セルのセル厚さを調整するセル厚調整部と、を有する、バッテリシステム。
続きを表示(約 430 文字)
【請求項2】
前記セル厚算出部は、前記電池セルの電圧から前記電池セルの充電率及び劣化度合の少なくとも一方を算出し、得られた前記充電率及び前記劣化度合の少なくとも一方から前記電池セルの前記セル厚さを計算する、請求項1に記載のバッテリシステム。
【請求項3】
前記セル厚調整部は、前記電池セルの前記セル厚さを増加させるときは前記電池セルを充電させ、前記電池セルの前記セル厚さを減少させるときは前記電池セルを放電させる、請求項1又は2に記載のバッテリシステム。
【請求項4】
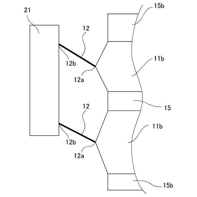
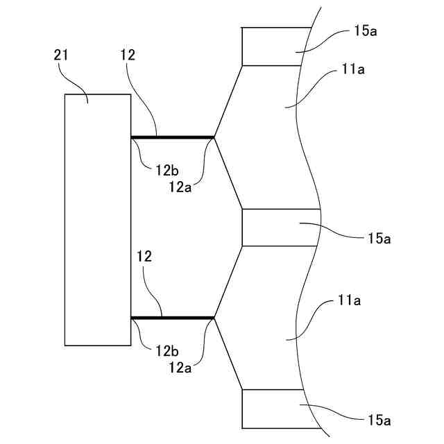
前記電池セルは、一対のタブを有し、
前記セル積層体は、前記電池セルの前記タブのそれぞれと接続するバスバーを有し、
前記セル厚算出部は、前記タブのセル側端部の位置とバスバー側端部の位置との位置ずれを算出し、
前記セル厚調整部は、前記位置ずれに基づいて前記電池セルの前記セル厚さを調整する、請求項1又は2に記載のバッテリシステム。
発明の詳細な説明
【技術分野】
【0001】
本発明は、バッテリシステムに関する。
続きを表示(約 2,000 文字)
【背景技術】
【0002】
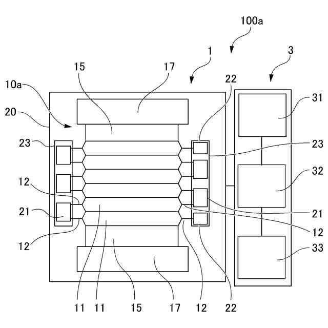
近年、より多くの人々が手ごろで信頼でき、持続可能かつ先進的なエネルギーへのアクセスを確保できるようにするため、エネルギーの効率化に貢献する二次電池に関する研究開発が行われている。電気自動車やハイブリッド電気自動車などの車両用モータの駆動用として、複数個の二次電池を組み合わせたバッテリモジュールを用いたバッテリシステムが利用されている。バッテリシステムは、異常状態の電池セルを放電させることによって電池セルのセル厚さを薄くして、異常状態の電池セルと、他の電池セルとの間の距離を広げることが検討されている(特許文献1)。
【先行技術文献】
【特許文献】
【0003】
ドイツ特許出願公開第102021105782A1号明細書
【発明の概要】
【発明が解決しようとする課題】
【0004】
ところで、二次電池に関する技術においては、高容量化が課題の一つである。高容量の二次電池として、リチウム金属二次電池が知られている。リチウム金属二次電池は、電荷移動媒体としてリチウムイオンを用い、充電時に、リチウムイオンを負極に析出させてリチウム金属層を生成させ、放電時に、リチウム金属層から放出されたリチウムイオンを正極に吸蔵させる。リチウム金属二次電池は、充電時の充電率の上昇に伴ってセル厚さが増加し、放電時の充電率の下降に伴ってセル厚さが減少する。高容量のリチウム金属二次電池を組み合わせたバッテリモジュールでは、電池セルの接続用導体として、大電流の通電が可能なバスバーが広く利用されている。通常は、電池セルのタブとバスバーとを、例えば溶接などで接続する。しかしながら、バスバーは可撓性が低い。このため、充放電による電池セルのセル厚さの変化により、セル積層体内での電池セルの位置が大きく移動すると、バスバーと接続するタブが折れ曲がり、ひいては、タブと接続されている電池セル自体が折れ曲がって電池セルが劣化もしくは短絡するおそれがあった。
【0005】
本発明は、上記の事情に鑑みてなされたものであり、充電率の上昇に伴ってセル厚さが増加し、充電率の下降に伴ってセル厚さが減少する電池セルを用いながらも、バスバーと接続させたときに電池セルのタブが折れ曲がりにくく、電池セル自体も折れ曲がりにくいバッテリシステムを提供することを目的とする。
【課題を解決するための手段】
【0006】
本発明者らは、バッテリモジュールのセル積層体にクッションを配置し、さらにセル積層体のそれぞれの電池セルに対してセル厚さの調整を可能するセル厚制御器を設けることによって、上記課題を解決することが可能となることを見出し、本発明を完成するに至った。したがって、本発明は、次のものを提供する。
【0007】
(1)複数個の電池セルを積層したセル積層体と、前記セル積層体の積層方向の両端に配置された一対のエンドプレートとを含み、前記電池セルと前記電池セルとの間及び前記電池セルとエンドプレートとの間の少なくとも一方にクッションが配置されているバッテリモジュールと、前記セル積層体のそれぞれの前記電池セルのセル厚さを制御するセル厚制御器と、を備え、前記電池セルは、充電率の上昇と伴ってセル厚さが増加し、充電率の下降と伴ってセル厚さが減少し、前記セル厚制御器は、前記セル積層体のそれぞれの前記電池セルの電圧を計測する電圧測定部と、前記電池セルの電圧に基づいて、前記電池セルのセル厚さを計算するセル厚算出部と、前記電池セルのセル厚さを調整するセル厚調整部と、を有する、バッテリシステム。
【0008】
(1)のバッテリシステムによれば、セル積層体の電池セルと接する位置にクッションが配置されていて、さらにセル積層体の各電池セルに対してセル厚さが調整可能とされているので、充放電によって電池セルの厚みが変化しても電池セルの位置ずれを小さくすることができる。このため、充電率の上昇に伴ってセル厚さが増加し、充電率の下降に伴ってセル厚さが減少する電池セルを用いながらも、バスバーと接続させたときに電池セルのタブが折れ曲がりにくく、電池セル自体も折れ曲がりにくい。
【0009】
(2)前記セル厚算出部は、前記電池セルの電圧から前記電池セルの充電率及び劣化度合の少なくとも一方を算出し、得られた前記充電率及び前記劣化度合の少なくとも一方から前記電池セルの前記セル厚さを計算する、(1)に記載のバッテリシステム。
【0010】
(2)のバッテリシステムによれば、各電池セルのセル厚さを高い精度で得ることができる。このため、各電池セルのセル厚さを高い精度で調整することができる。
(【0011】以降は省略されています)
この特許をJ-PlatPat(特許庁公式サイト)で参照する
関連特許
本田技研工業株式会社
装置
8日前
本田技研工業株式会社
車両
9日前
本田技研工業株式会社
モータ
5日前
本田技研工業株式会社
断続装置
3日前
本田技研工業株式会社
保管装置
3日前
本田技研工業株式会社
保管装置
3日前
本田技研工業株式会社
保持装置
2日前
本田技研工業株式会社
固体電池
3日前
本田技研工業株式会社
送電装置
3日前
本田技研工業株式会社
受電装置
3日前
本田技研工業株式会社
車両構造
5日前
本田技研工業株式会社
車両構造
5日前
本田技研工業株式会社
バッテリ
2日前
本田技研工業株式会社
会話装置
1日前
本田技研工業株式会社
ステータ
1日前
本田技研工業株式会社
バッテリ
2日前
本田技研工業株式会社
内燃機関
8日前
本田技研工業株式会社
切断装置
1日前
本田技研工業株式会社
電解装置
16日前
本田技研工業株式会社
通知装置
8日前
本田技研工業株式会社
内燃機関
8日前
本田技研工業株式会社
鞍乗型車両
15日前
本田技研工業株式会社
リンク機構
1日前
本田技研工業株式会社
リアクトル
8日前
本田技研工業株式会社
固体二次電池
15日前
本田技研工業株式会社
車両制御装置
9日前
本田技研工業株式会社
放電処理方法
3日前
本田技研工業株式会社
鞍乗り型車両
2日前
本田技研工業株式会社
潤滑システム
15日前
本田技研工業株式会社
鞍乗り型車両
1日前
本田技研工業株式会社
電源システム
3日前
本田技研工業株式会社
鞍乗り型車両
1日前
本田技研工業株式会社
潤滑システム
3日前
本田技研工業株式会社
運転制御装置
5日前
本田技研工業株式会社
分離システム
5日前
本田技研工業株式会社
車両制御装置
15日前
続きを見る
他の特許を見る