TOP
|
特許
|
意匠
|
商標
特許ウォッチ
Twitter
他の特許を見る
10個以上の画像は省略されています。
公開番号
2025144002
公報種別
公開特許公報(A)
公開日
2025-10-02
出願番号
2024043554
出願日
2024-03-19
発明の名称
磁気ディスク装置
出願人
株式会社東芝
,
東芝デバイス&ストレージ株式会社
代理人
弁理士法人スズエ国際特許事務所
主分類
G11B
5/596 20060101AFI20250925BHJP(情報記憶)
要約
【課題】記録媒体上の欠陥による磁気ヘッドの損傷を防止し、信頼性の向上した磁気ディスク装置を提供する。
【解決手段】実施形態によれば、磁気ディスク装置は、同心円状の複数の記録トラックを有する回転自在なディスク状の記録媒体と、第1幅を有する記録素子と第2幅を有する再生素子と、第1幅および第2幅よりも広い第3幅を有する熱抵抗センサとを具備する磁気ヘッドと、前記磁気ヘッドを前記記録媒体の任意の記録トラックに位置決めするヘッドアクチュエータと、熱抵抗センサのセンサ出力に基づいて記録媒体の表面上の欠陥を検出する検出回路と、熱抵抗センサにより記録媒体の表面状態を検査する際、磁気ヘッドの記録トラックの幅方向の送りピッチを第3幅の1/2以内、かつ3記録トラック分以上に設定するコントローラと、を備えている。
【選択図】図1
特許請求の範囲
【請求項1】
同心円状の複数の記録トラックを有する回転自在なディスク状の記録媒体と、
前記記録トラックと交差する方向の第1幅を有する記録素子と、前記記録トラックと交差する方向の第2幅を有する再生素子と、前記第1幅および前記第2幅よりも広い、前記記録トラックと交差する方向の第3幅を有し、前記記録媒体の表面状態を検出する熱抵抗センサと、を具備する磁気ヘッドと、
前記磁気ヘッドを前記記録媒体の任意の記録トラックに位置決めするヘッドアクチュエータと、
前記熱抵抗センサのセンサ出力に基づいて、前記記録媒体の表面上の欠陥を検出する検出回路と、
前記熱抵抗センサにより前記記録媒体の表面状態を検査する際、前記磁気ヘッドの前記記録トラックの幅方向の送りピッチを前記熱抵抗センサの第3幅の1/2以内、かつ3記録トラック分以上に設定するコントローラと、
を備える磁気ディスク装置。
続きを表示(約 730 文字)
【請求項2】
前記記録媒体の表面状態を検査する際、前記コントローラは、前記記録媒体が1回転する毎に、前記磁気ヘッドを前記熱抵抗センサの第3幅の1/2以内、かつ3トラック分以上、前記送りピッチ方向に移動するように前記ヘッドアクチュエータを駆動する、請求項1に記載の磁気ディスク装置。
【請求項3】
前記記録媒体の表面状態を検査する際、前記コントローラは、前記記録媒体が1回転する間、前記磁気ヘッドを前記熱抵抗センサの第3幅の1/2以内、かつ3トラック以上、前記送りピッチ方向に連続的に移動するように前記ヘッドアクチュエータを駆動する、請求項1に記載の磁気ディスク装置。
【請求項4】
前記記録素子および前記再生素子は、前記記録トラックと交差する第1方向に間隔を置いて並んで配置され、前記熱抵抗センサは、前記記録素子および前記再生素子と前記第1方向に並んで配置され、前記記録素子と前記再生素子との間に位置している、請求項1に記載の磁気ディスク装置。
【請求項5】
前記記録素子、前記再生素子、および前記熱抵抗センサは、それぞれ幅方向の中心が前記第1方向に延びる中心軸線上に位置している、請求項4に記載の磁気ディスク装置。
【請求項6】
前記記録素子および前記再生素子は、それぞれ幅方向の中心が前記第1方向に延びる中心軸線の上に位置し、
前記熱抵抗センサは、幅方向の中心が前記中心軸線に対して、前記中心軸線と直交する方向に離間して位置している、請求項4に記載の磁気ディスク装置。
【請求項7】
前記磁気ヘッドは、熱アクチュエータを備えている、請求項1に記載の磁気ディスク装置。
発明の詳細な説明
【技術分野】
【0001】
この発明の実施形態は、磁気ディスク装置に関する。
続きを表示(約 3,700 文字)
【背景技術】
【0002】
ディスク装置して、例えば、磁気ディスク装置は、磁気記録層を有する回転自在なディスク状の記録媒体と、記録媒体の磁気記録層に対してデータの記録、再生を行う磁気ヘッドと、を備えている。磁気ヘッドは、スライダと、スライダに設けられたリードヘッドおよびライトヘッドと、を有している。このような磁気ディスク装置においては、記録密度、特に線記録密度向上のために、磁気ヘッドと記録媒体との間の隙間を小さくする必要がある。磁気ヘッドは、記録媒体の記録面に対し1nm程度の微小隙間をもって相対的に移動することで情報の記録、再生を行うため、記録媒体の記録面は平滑性が求められている。
しかしながら、記録媒体の記録面には、記録媒体の製造過程で生じる欠陥、例えば、高さ3~8nm程度の微小突起が存在している。磁気ヘッドが微小隙間をもって記録面上を走行すると、磁気ヘッドが微小突起と衝突する。繰り返し微小突起に衝突すると磁気ヘッドが損傷し、記録再生を行うことが困難となる場合がある。
【先行技術文献】
【特許文献】
【0003】
米国特許第6,216,242号明細書
特開平9-304009号公報
米国特許第6,262,572号明細書
【発明の概要】
【発明が解決しようとする課題】
【0004】
本発明の実施形態の課題は、記録媒体上の欠陥による磁気ヘッドの損傷を防止し、信頼性の向上した磁気ディスク装置を提供することにある。
【課題を解決するための手段】
【0005】
実施形態によれば、磁気ディスク装置は、同心円状の複数の記録トラックを有する回転自在なディスク状の記録媒体と、前記記録トラックと交差する方向の第1幅を有する記録素子と、前記記録トラックと交差する方向の第2幅を有する再生素子と、前記第1幅および前記第2幅よりも広い、前記記録トラックと交差する方向の第3幅を有し、前記記録媒体の表面状態を検出する熱抵抗センサと、を具備する磁気ヘッドと、前記磁気ヘッドを前記記録媒体の任意の記録トラックに位置決めするヘッドアクチュエータと、前記熱抵抗センサのセンサ出力に基づいて、前記記録媒体の表面上の欠陥を検出する検出回路と、前記熱抵抗センサにより前記記録媒体の表面状態を検査する際、前記磁気ヘッドの前記記録トラックの幅方向の送りピッチを前記熱抵抗センサの第3幅の1/2以内、かつ3記録トラック分以上に設定するコントローラと、を備えている。
【図面の簡単な説明】
【0006】
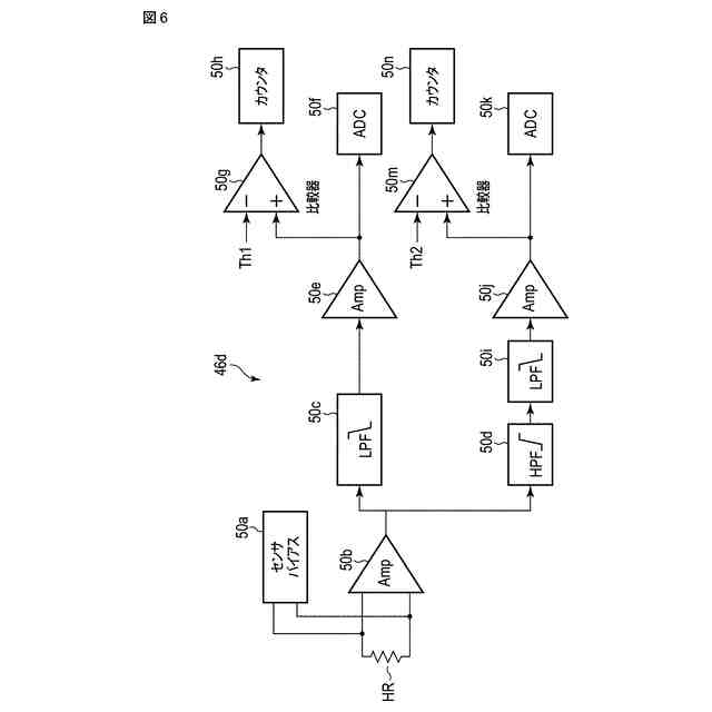
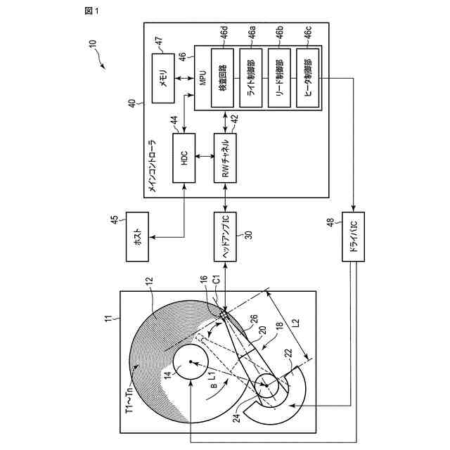
図1は、第1実施形態に係るハードディスクドライブ(HDD)を概略的に示すブロック図。
図2は、前記HDDにおける磁気ヘッド、サスペンション、磁気ディスクを概略的に示す側面図。
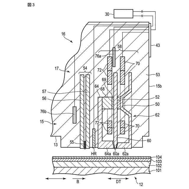
図3は、前記磁気ヘッドのヘッド部を拡大して示す断面図。
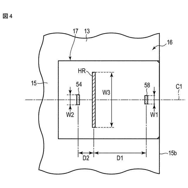
図4は、前記磁気ヘッドのヘッド部をABS側から見た平面図。
図5は、熱アクチュエータにより記録ヘッド部分を突出させた状態の磁気ヘッドおよび前記ヘッド部を模式的に示す側面図。
図6は、前記HDDの検査回路の回路図。
図7は、記録媒体上の突起接触時の熱抵抗センサの出力を模式的に示す図。
図8は、記録媒体上の凹み通過時の熱抵抗センサの出力を模式的に示す図。
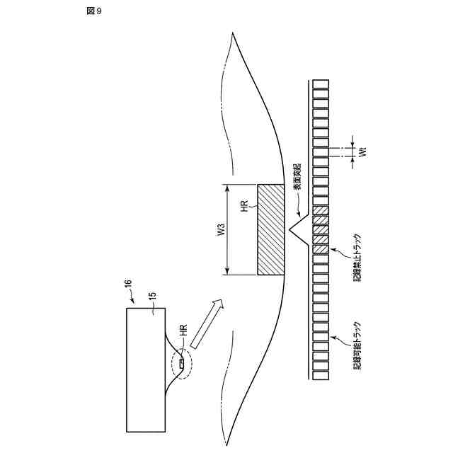
図9は、熱抵抗センサと記録トラックと突起との関係を模式的に示す図。
図10は、記録中の記録トラックと再生、記録素子、熱抵抗センサとの位置関係を模式的に示す図。
図11は、再生中の記録トラックと再生、記録素子、熱抵抗センサとの位置関係を模式的に示す図。
図12は、磁気ヘッドの半径位置とヨー角との関係を示す図。
図13は、記録禁止トラックの設定動作を模式的に示す図。
図14Aは、熱抵抗センサの幅(広い場合)と素子部との位置関係を示す図。
図14Bは、熱抵抗センサの幅(狭い場合)と素子部との位置関係を示す図。
図15は、突起検出時の熱抵抗センサのピーク値遷移を示す図。
図16は、表面欠陥(突起あるいは凹部)を検出する検出動作1および記録禁止トラックあるいは記録禁止セクタの設定動作を模式的に示す平面図。
図17は、表面欠陥(突起あるいは凹部)を検出する検出動作2および記録禁止トラックあるいは記録禁止セクタの設定動作を模式的に示す平面図。
図18は、表面欠陥(突起あるいは凹部)を検出する検出動作3および記録禁止トラックあるいは記録禁止セクタの設定動作を模式的に示す平面図。
図19は、第2実施形態に係るHDDにおける、表面欠陥(突起あるいは凹部)を検出する検出動作1および記録禁止トラックあるいは記録禁止セクタの設定動作を模式的に示す平面図。
図20は、第2実施形態に係るHDDにおける、表面欠陥(突起あるいは凹部)を検出する検出動作2および記録禁止トラックあるいは記録禁止セクタの設定動作を模式的に示す平面図。
図21は、第2実施形態に係るHDDにおける、表面欠陥(突起あるいは凹部)を検出する検出動作3および記録禁止トラックあるいは記録禁止セクタの設定動作を模式的に示す平面図。
図22Aは、第1変形例に係る磁気ヘッドの熱抵抗センサの幅と素子部との位置関係を示す図。
図22Bは、第2変形例に係る磁気ヘッドの熱抵抗センサの幅と素子部との位置関係を示す図。
図23Aは、第3変形例に係る磁気ヘッドの熱抵抗センサの幅と素子部との位置関係を示す図。
図23Bは、第4変形例に係る磁気ヘッドの熱抵抗センサの幅と素子部との位置関係を示す図。
【発明を実施するための形態】
【0007】
以下図面を参照しながら、実施形態に係るディスク装置ついて説明する。
なお、開示はあくまで一例にすぎず、当業者において、発明の主旨を保っての適宜変更であって容易に想到し得るものについては、当然に本発明の範囲に含有されるものである。また、図面は説明をより明確にするため、実際の態様に比べ、各部の幅、厚さ、形状等について模式的に表される場合があるが、あくまで一例であって、本発明の解釈を限定するものではない。また、本明細書と各図において、既出の図に関して前述したものと同様の要素には、同一の符号を付して、詳細な説明を適宜省略あるいは簡略化することがある。
【0008】
(第1実施形態)
磁気ディスク装置の一例として、第1実施形態に係るハードディスクドライブ(HDD)について詳細に説明する。図1は、第1実施形態に係るHDDを概略的に示すブロック図、図2は、浮上状態の磁気ヘッドおよび磁気ディスクを示す側面図である。
図1に示すように、HDD10は、矩形状の筐体11と、筐体11内に配設された記録媒体としての磁気ディスク12と、磁気ディスク12を支持および回転するスピンドルモータ14と、磁気ディスク12に対してデータの記録(ライト)、再生(リード)を行う複数の磁気ヘッド16と、を備えている。HDD10は、磁気ヘッド16を磁気ディスク12上の任意のトラック上に移動するとともに位置決めするヘッドアクチュエータ18を備えている。ヘッドアクチュエータ18は、磁気ヘッド16を移動可能に支持するキャリッジアッセンブリ20と、キャリッジアッセンブリ20を回動させるボイスコイルモータ(VCM)22とを含んでいる。
【0009】
HDD10は、磁気ヘッド16を駆動するヘッドアンプIC30と、メインコントローラ40と、ドライバIC48と、を含むコントローラを備えている。ヘッドアンプIC30は、例えば、キャリッジアッセンブリ20に設けられ、磁気ヘッド16に電気的に接続されている。ヘッドアンプIC30は、磁気ヘッド16の記録コイルに記録電流を供給する記録電流供給回路(記録電流供給部)、後述する磁気ヘッド16の熱アクチュエータ(ヒータ)に駆動電力を供給するヒータ電力供給回路、磁気ヘッド16により読み取った信号を増幅する増幅器、等を含んでいる。
【0010】
メインコントローラ40およびドライバIC48は、例えば、筐体11の背面側に設けられた図示しない制御回路基板に構成されている。メインコントローラ40は、R/Wチャネル42、ハードディスクコントローラ(HDC)44、マイクロプロセッサ(MPU)46、メモリ47、等を備えている。メインコントローラ40は、ヘッドアンプIC30を介して磁気ヘッド16に電気的に接続されている。メインコントローラ40は、ドライバIC48を介して、VCM22及びスピンドルモータ14に電気的に接続されている。HDC44は、ホストコンピュータ45に接続可能である。
(【0011】以降は省略されています)
この特許をJ-PlatPat(特許庁公式サイト)で参照する
関連特許
株式会社東芝
固定子
2か月前
株式会社東芝
モータ
1か月前
株式会社東芝
センサ
2か月前
株式会社東芝
センサ
1か月前
株式会社東芝
端子台
5日前
株式会社東芝
センサ
1か月前
株式会社東芝
電子装置
18日前
株式会社東芝
電子装置
1か月前
株式会社東芝
電子回路
14日前
株式会社東芝
吸音装置
1か月前
株式会社東芝
金型構造
1か月前
株式会社東芝
半導体装置
18日前
株式会社東芝
半導体装置
1か月前
株式会社東芝
半導体装置
1か月前
株式会社東芝
半導体装置
1か月前
株式会社東芝
半導体装置
1か月前
株式会社東芝
半導体装置
14日前
株式会社東芝
半導体装置
14日前
株式会社東芝
半導体装置
1か月前
株式会社東芝
半導体装置
18日前
株式会社東芝
半導体装置
1か月前
株式会社東芝
半導体装置
18日前
株式会社東芝
半導体装置
1か月前
株式会社東芝
電動送風機
2か月前
株式会社東芝
半導体装置
19日前
株式会社東芝
真空バルブ
19日前
株式会社東芝
半導体装置
20日前
株式会社東芝
半導体装置
20日前
株式会社東芝
半導体装置
20日前
株式会社東芝
半導体装置
20日前
株式会社東芝
半導体装置
1か月前
株式会社東芝
半導体装置
20日前
株式会社東芝
ラック装置
2か月前
株式会社東芝
半導体装置
14日前
株式会社東芝
半導体装置
21日前
株式会社東芝
半導体装置
1か月前
続きを見る
他の特許を見る