TOP
|
特許
|
意匠
|
商標
特許ウォッチ
Twitter
他の特許を見る
公開番号
2025143970
公報種別
公開特許公報(A)
公開日
2025-10-02
出願番号
2024043508
出願日
2024-03-19
発明の名称
再生型燃料電池システム
出願人
本田技研工業株式会社
代理人
弁理士法人桐朋
主分類
H01M
8/04 20160101AFI20250925BHJP(基本的電気素子)
要約
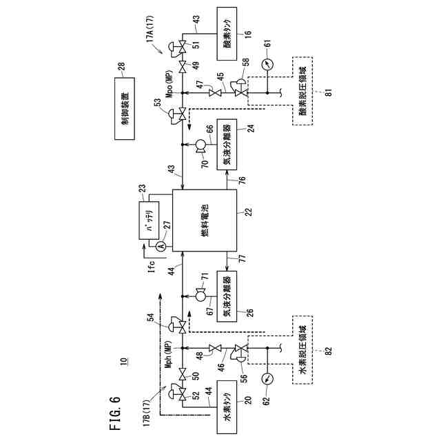
【課題】流量制御弁の脱圧制御の高精度化、外部へのガス消失の抑制、開閉操作の簡素化が可能な再生型燃料電池システムを提供する。
【解決手段】水素昇圧装置と水電解装置の脱圧処理を実行する際に、開閉弁(47、48、49、50)を開いた状態にし、且つ供給用減圧弁(51、52)の設定圧力をバイパス用減圧弁(56、58)の設定圧力よりも低い値に調整する。これにより、ガス脱圧領域(81、82)に残存するガスを、バイパス用減圧弁(56、58)を介して燃料電池(22)に供給し得る。
【選択図】図5
特許請求の範囲
【請求項1】
酸素ガスと水素ガスとの電気化学反応により発電を行う燃料電池を有する再生型燃料電池システムであって、
昇圧された前記酸素ガスおよび昇圧された前記水素ガスのいずれか一方のガスを生成する昇圧装置と、前記燃料電池に前記ガスを供給するための供給機構と、制御装置と、を備え、
前記供給機構は、
前記ガスを、前記昇圧装置から前記燃料電池に供給するガス供給路と、
前記ガス供給路上に設けられ、前記昇圧装置により昇圧された前記ガスが貯留されるタンクと、
前記昇圧装置と前記タンクとの間の前記ガス供給路の分岐部から分岐し、前記タンクと前記燃料電池との間の前記ガス供給路の合流部に合流するバイパス路と、
前記タンクと前記合流部との間の前記ガス供給路に設けられる供給用減圧弁と、
前記バイパス路に設けられるバイパス用減圧弁と、
前記燃料電池に前記ガスを供給可能にする開閉弁と、を備え、
前記制御装置は、
前記昇圧装置による昇圧停止動作が開始された場合、前記タンクへの前記ガスの供給を停止するとともに、前記開閉弁を開弁状態とし、
該開弁状態の際の前記供給用減圧弁の設定圧力を、前記バイパス用減圧弁の設定圧力よりも低くして前記昇圧装置の脱圧処理を実行する、
再生型燃料電池システム。
続きを表示(約 1,000 文字)
【請求項2】
請求項1に記載の再生型燃料電池システムにおいて、
前記制御装置は、
前記脱圧処理の実行中に、ガス消費量に基づき前記燃料電池の発電電流を算出して、前記脱圧処理時の減圧速度を制御する、
再生型燃料電池システム。
【請求項3】
請求項1に記載の再生型燃料電池システムにおいて、
前記制御装置は、
前記脱圧処理の実行中に、予め実測して記憶してある前記燃料電池の発電電流と前記脱圧処理時の減圧速度との関係特性を参照して前記発電電流を決定する、
再生型燃料電池システム。
【請求項4】
請求項1に記載の再生型燃料電池システムにおいて、
さらに、前記昇圧装置と前記分岐部との間に圧力センサを設け、
前記制御装置は、
前記脱圧処理の実行中に、前記圧力センサにより減圧速度を測定して測定減圧速度を得、該測定減圧速度と目標減圧速度の差が小さくなるように、前記燃料電池の発電電流を調整する、
再生型燃料電池システム。
【請求項5】
請求項1に記載の再生型燃料電池システムにおいて、
さらに、前記昇圧装置により昇圧されなかったガスと前記燃料電池の発電により生成された水とが供給される気液分離器と、
前記気液分離器と前記昇圧装置との間に配される酸素除去器と、を備え、
前記制御装置は、
前記脱圧処理の実行中に、前記昇圧装置から前記気液分離器にクロスリークする水素ガスと酸素ガスとを前記酸素除去器で反応させて水にする、
再生型燃料電池システム。
【請求項6】
請求項5に記載の再生型燃料電池システムにおいて、
前記制御装置は、
前記脱圧処理の実行中に、前記昇圧装置に電流を流して前記クロスリークした分の前記水素ガスを昇圧する、
再生型燃料電池システム。
【請求項7】
請求項6に記載の再生型燃料電池システムにおいて、
さらに、前記気液分離器内の前記水素ガスの圧力を検出する圧力センサを設け、
前記制御装置は、
前記昇圧装置に流す前記電流を、前記圧力センサにより検出した圧力値と、目標圧力値との偏差がなくなるようなフィードバック制御に基づき決定する、
再生型燃料電池システム。
発明の詳細な説明
【技術分野】
【0001】
この発明は、再生型燃料電池システムに関する。
続きを表示(約 930 文字)
【背景技術】
【0002】
近年、より多くの人々が手ごろで信頼でき、持続可能かつ先進的なエネルギへのアクセスを確保するため、エネルギの効率化に貢献する燃料電池に関する研究開発が行われている。
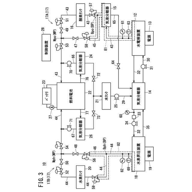
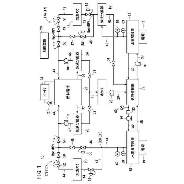
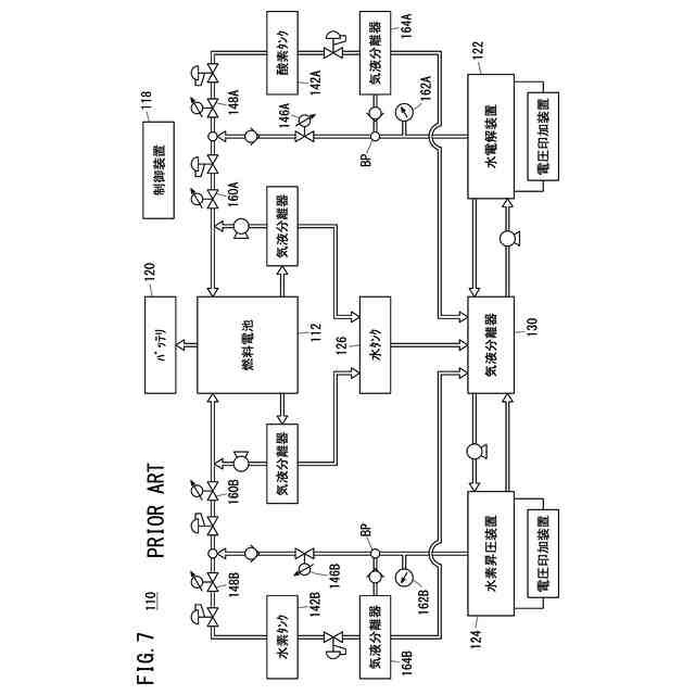
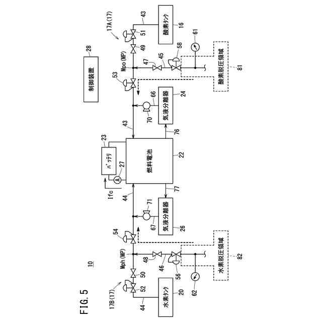
特許文献1には、図7に示す再生型燃料電池システム110が開示されている。
【0003】
この再生型燃料電池システム110は、基本的に、燃料電池112と、水タンク(水供給装置)126と、水電解装置122と、水素昇圧装置124と、酸素タンク142Aと、水素タンク142Bと、気液分離器130と、これらを制御する制御装置118と、により構成される。
【0004】
再生型燃料電池システム110では、通常、燃料電池112の発電を停止した状態で水電解装置122と水素昇圧装置124を作動させ、酸素タンク142Aおよび水素タンク142Bに所定量のガスを充填する。
【0005】
水電解装置122は、その作動中に、水タンク126から気液分離器130を通じて供給される水を電気分解し、高圧の酸素と低圧の水素を生成する。
【0006】
水電解装置122により生成された高圧の酸素は、分岐部BPおよび気液分離器164Aを通じて酸素タンク142Aに貯留される。
【0007】
水電解装置122により生成された低圧の水素は、気液分離器130を通じて水素昇圧装置124に供給される。
【0008】
水素昇圧装置124は、その作動中に、低圧の水素を高圧の水素に昇圧する。昇圧された高圧の水素は、分岐部BPおよび気液分離器164Bを通じて水素タンク142Bに貯留される。
【0009】
水電解装置122および水素昇圧装置124の作動により酸素タンク142Aおよび水素タンク142Bに所定量のガスが充填されると、水電解装置122および水素昇圧装置124の脱圧処理が実行される。
【0010】
この脱圧処理では、水電解装置122に残留する高圧の酸素および水素昇圧装置124に残留する高圧の水素を燃料電池112に供給する。
(【0011】以降は省略されています)
この特許をJ-PlatPat(特許庁公式サイト)で参照する
関連特許
本田技研工業株式会社
装置
11日前
本田技研工業株式会社
車両
12日前
本田技研工業株式会社
モータ
8日前
本田技研工業株式会社
保管装置
6日前
本田技研工業株式会社
通知装置
11日前
本田技研工業株式会社
保持装置
5日前
本田技研工業株式会社
切断装置
4日前
本田技研工業株式会社
断続装置
6日前
本田技研工業株式会社
バッテリ
5日前
本田技研工業株式会社
バッテリ
5日前
本田技研工業株式会社
ステータ
4日前
本田技研工業株式会社
会話装置
4日前
本田技研工業株式会社
保管装置
6日前
本田技研工業株式会社
車両構造
8日前
本田技研工業株式会社
車両構造
8日前
本田技研工業株式会社
受電装置
6日前
本田技研工業株式会社
送電装置
6日前
本田技研工業株式会社
固体電池
6日前
本田技研工業株式会社
内燃機関
11日前
本田技研工業株式会社
内燃機関
11日前
本田技研工業株式会社
リンク機構
4日前
本田技研工業株式会社
鞍乗型車両
18日前
本田技研工業株式会社
リアクトル
11日前
本田技研工業株式会社
鞍乗り型車両
4日前
本田技研工業株式会社
分離システム
8日前
本田技研工業株式会社
車両制御装置
12日前
本田技研工業株式会社
電源システム
6日前
本田技研工業株式会社
鞍乗り型車両
5日前
本田技研工業株式会社
運転制御装置
8日前
本田技研工業株式会社
鞍乗り型車両
4日前
本田技研工業株式会社
固体二次電池
18日前
本田技研工業株式会社
放電処理方法
6日前
本田技研工業株式会社
車両制御装置
今日
本田技研工業株式会社
潤滑システム
6日前
本田技研工業株式会社
ガス回収装置
今日
本田技研工業株式会社
遠心ファン構造
5日前
続きを見る
他の特許を見る