TOP
|
特許
|
意匠
|
商標
特許ウォッチ
Twitter
他の特許を見る
10個以上の画像は省略されています。
公開番号
2025143842
公報種別
公開特許公報(A)
公開日
2025-10-02
出願番号
2024043299
出願日
2024-03-19
発明の名称
ストロー装飾体
出願人
レンゴー株式会社
代理人
個人
,
個人
,
個人
,
個人
,
個人
,
個人
主分類
A47G
23/00 20060101AFI20250925BHJP(家具;家庭用品または家庭用設備;コーヒーひき;香辛料ひき;真空掃除機一般)
要約
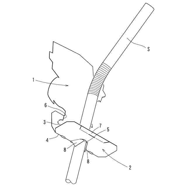
【課題】低コストで製造でき、保管時に嵩張ることがなく、使用後に形状を変化させて再利用できるストロー装飾体を提供する。
【解決手段】紙又はプラスチックのシート材からなり、本体部1と脚部2とが幅方向の基折線3を介して連設され、脚部2には、幅方向の脚折線4が入れられるとともに、ストロー挿通穴5が穿設され、基折線3寄りの部分と脚部2の先端側の部分には、係合部6,7がそれぞれ形成されたものとする。これにより、脚部2を脚折線4を軸に折り曲げ、ストロー挿通穴5にストローSを差し込むと、ストローSに保持されてストロー装飾状態となり、ストローSから取り外し、本体部1を基折線3に沿って脚部2から起こすように折り曲げ、脚部2の脚折線4に沿った折り曲げ方を変更し、係合部6,7を互いに係合させると、本体部1が脚部2から起立状態に保持された装飾スタンド状態となる。
【選択図】図1
特許請求の範囲
【請求項1】
シート材からなり、本体部(1)と脚部(2)とが幅方向の基折線(3)を介して連設され、
前記脚部(2)には、幅方向の脚折線(4)が入れられるとともに、ストロー挿通穴(5)が穿設され、前記基折線(3)寄りの部分と前記脚部(2)の先端側の部分には、係合部(6,7)がそれぞれ形成され、
前記脚部(2)を前記脚折線(4)を軸に折り曲げ、前記ストロー挿通穴(5)にストロー(S)を差し込むと、ストロー(S)に保持されてストロー装飾状態となり、
ストロー(S)から取り外し、前記本体部(1)を前記基折線(3)に沿って前記脚部(2)から起こすように折り曲げ、前記脚部(2)の前記脚折線(4)に沿った折り曲げ方を変更し、前記係合部(6,7)を互いに係合させると、前記本体部(1)が前記脚部(2)から起立状態に保持された装飾スタンド状態となるストロー装飾体。
続きを表示(約 710 文字)
【請求項2】
請求項1に記載のストロー装飾体において、前記脚部(2)には、前記脚折線(4)が2本間隔をあけて入れられ、先端寄りの前記脚折線(4)を跨いで2個の前記ストロー挿通穴(5)が連通し、その連通部が括れており、
ストロー装飾状態とするには、前記脚部(2)を2本の前記脚折線(4)に沿って相反する方向に折り曲げ、2個の前記ストロー挿通穴(5)にストロー(S)を差し込み、
装飾スタンド状態とするには、前記脚部(2)を2本の前記脚折線(4)に沿って巻き込むように三角筒状に折り曲げ、前記係合部(6,7)の互いの係合により前記脚部(2)を保形し、自立可能とするストロー装飾体。
【請求項3】
請求項1に記載のストロー装飾体において、前記脚部(2)には、前記脚折線(4)より先端側に位置する前記ストロー挿通穴(5)に臨んで挟持片(8)が設けられており、
ストロー装飾状態とするには、前記脚部(2)を前記脚折線(4)に沿って折り曲げ、前記挟持片(8)を押し開いて、前記ストロー挿通穴(5)にストロー(S)を差し込み、
装飾スタンド状態とするには、前記脚部(2)を前記脚折線(4)に沿って折り重ね、前記係合部(6,7)の互いの係合により前記脚部(2)を保形し、自立可能とするストロー装飾体。
【請求項4】
請求項1乃至3のいずれかに記載のストロー装飾体において、訴求印刷が施された表面とは反対側の裏面に、ストロー装飾状態及び装飾スタンド状態とするための組立方法が記載されたインターネットのホームページ表示用コードが印刷されているストロー装飾体。
発明の詳細な説明
【技術分野】
【0001】
この発明は、ストローに装着した訴求用としての使用後に、鑑賞用のスタンドとして使用できるストロー装飾体に関するものである。
続きを表示(約 1,400 文字)
【背景技術】
【0002】
ストローを使用して飲み物を飲む際、飲み物の容器に挿し入れられたストローは、常時目の前にあるが、飲食店での飲み物の提供に際し、ストローを客への訴求に利用する例はあまりない。このため、ストローに訴求性を有する装飾体を取り付けて客の注意を惹き、他店との差別化を図ることが考えられている。
【0003】
従来、ストロー装飾体として、図9に示すように、生き物等の姿を模した本体部51とクリップ状の挟持部52とからなる樹脂成形品が知られている(特許文献1参照)。
【0004】
このストロー装飾体は、使用に際し、ストローSの飲み口付近に挟持部52を嵌め込んでストローSに保持された状態とし、本体部51の形状により訴求性を得るものであり、使用時には、ストローSをストロー支持具53で飲み物容器Cに固定しておく。
【先行技術文献】
【特許文献】
【0005】
特開2003-304964号公報
【発明の概要】
【発明が解決しようとする課題】
【0006】
しかしながら、上記のようなストロー装飾体は、成形品であることから、製造に相当なコストを要するほか、保管時に嵩張り、飲食店においてキャンペーン期間等に無料で多数の客に提供する用途に適したものではない。
【0007】
また、ストローの装飾に使用した後、それ以外の態様での鑑賞用として再利用することも考えられておらず、そのまま廃棄されてゴミとなる可能性が高い。
【0008】
そこで、この発明は、低コストで製造でき、保管時に嵩張ることがなく、使用後に形状を変化させて再利用できるストロー装飾体を提供しようとするものである。
【課題を解決するための手段】
【0009】
上記課題を解決するため、この発明に係るストロー装飾体は、シート材からなり、本体部と脚部とが幅方向の基折線を介して連設され、
前記脚部には、幅方向の脚折線が入れられるとともに、ストロー挿通穴が穿設され、前記基折線寄りの部分と前記脚部の先端側の部分には、係合部がそれぞれ形成され、
前記脚部を前記脚折線を軸に折り曲げ、前記ストロー挿通穴にストローを差し込むと、ストローに保持されてストロー装飾状態となり、
ストローから取り外し、前記本体部を前記基折線に沿って前記脚部から起こすように折り曲げ、前記脚部の前記脚折線に沿った折り曲げ方を変更し、前記係合部同士を係合させると、前記本体部が前記脚部から起立状態に保持された装飾スタンド状態となるものとしたのである(構成1)。
【0010】
また、構成1のストロー装飾体において、前記脚部には、前記脚折線が2本間隔をあけて入れられ、先端寄りの前記脚折線を跨いで2個の前記ストロー挿通穴が連通し、その連通部が括れており、
ストロー装飾状態とするには、前記脚部を2本の前記脚折線に沿って相反する方向に折り曲げ、2個の前記ストロー挿通穴にストローを差し込み、
装飾スタンド状態とするには、前記脚部を2本の前記脚折線に沿って巻き込むように三角筒状に折り曲げ、前記係合部同士の係合により前記脚部を保形し、自立可能とするものとしたのである(構成2)。
(【0011】以降は省略されています)
この特許をJ-PlatPat(特許庁公式サイト)で参照する
関連特許
レンゴー株式会社
包装箱
11日前
レンゴー株式会社
ストロー装飾体
12日前
レンゴー株式会社
包装箱、シート材
7日前
レンゴー株式会社
仮留め構造、包装箱
15日前
レンゴー株式会社
微粒子分散剤兼凝集剤
4日前
レンゴー株式会社
古紙パルプ中の異物検知方法
1か月前
個人
箸
今日
個人
椅子
1か月前
個人
家具
3か月前
個人
自助箸
5か月前
個人
掃除機
7か月前
個人
耳拭き棒
9か月前
個人
体洗い具
9か月前
個人
枕
7か月前
個人
掃除道具
7か月前
個人
掃除用具
2か月前
個人
屋外用箒
6か月前
個人
ソファー
25日前
個人
ハンガー
6か月前
個人
枕
4か月前
個人
物品
1か月前
個人
組立式棚板
6か月前
個人
掃除シート
8か月前
個人
片手代替具
10か月前
個人
省煙消臭器
7か月前
個人
開閉トング
5か月前
個人
エコ掃除機
10か月前
個人
バターナイフ
今日
個人
中身のない枕
6か月前
個人
受け皿
4か月前
個人
ゴミ袋保持枠
6か月前
個人
経典表示装置
3か月前
個人
シャワー装置
4か月前
個人
紙コップ 蓋
1か月前
個人
靴ベラ
1か月前
個人
洗面台
9か月前
続きを見る
他の特許を見る