TOP
|
特許
|
意匠
|
商標
特許ウォッチ
Twitter
他の特許を見る
公開番号
2025140275
公報種別
公開特許公報(A)
公開日
2025-09-29
出願番号
2024039569
出願日
2024-03-14
発明の名称
仮留め構造、包装箱
出願人
レンゴー株式会社
代理人
個人
,
個人
主分類
B65D
5/10 20060101AFI20250919BHJP(運搬;包装;貯蔵;薄板状または線条材料の取扱い)
要約
【課題】仮留め時の押し込み量を小さくすることができる仮留め構造及び包装箱を提供する。
【解決手段】仮留め構造(20)は、箱体の一面を構成する第1の面材(16a)と第2の面材(16b)の仮留めする。仮留め構造には、第1の面材に設けられた突起部(21)と、第2の面材に設けられた掛止部(25)と、が設けられている。第1の面材が第2の面材に外側から重なっている。掛止部には突起部が差し込まれる切れ目(26)が形成されている。突起部と掛止部の重なりが箱体の外縁側よりも中央側で大きい。
【選択図】図4
特許請求の範囲
【請求項1】
箱体(1)の一面を構成する第1の面材(16a)と第2の面材(16b)の仮留め構造であって、
前記第1の面材に設けられた突起部(21)と、
前記第2の面材に設けられた掛止部(25)と、を備え、
前記第1の面材が前記第2の面材に外側から重なり、
前記掛止部には前記突起部が差し込まれる切れ目(26)が形成され、
前記突起部と前記掛止部の重なり量が前記箱体の外縁側よりも中央側で大きいことを特徴とする仮留め構造。
続きを表示(約 870 文字)
【請求項2】
前記突起部の先端(22)及び前記掛止部の切れ目の少なくとも一方が傾斜していることを特徴とする請求項1に記載の仮留め構造。
【請求項3】
前記掛止部が開口、切欠き、切込みのいずれかによって形成されていることを特徴とする請求項1に記載の仮留め構造。
【請求項4】
前記突起部及び前記掛止部が前記箱体の中央から外れた位置に設けられていることを特徴とする請求項1に記載の仮留め構造。
【請求項5】
箱体の一面を構成する第1の面材と第2の面材の仮留め構造であって、
前記第1の面材に設けられた突起部(72)と、
前記第2の面材に設けられた掛止部(75)と、を備え、
前記第1の面材が前記第2の面材に外側から重なり、
前記掛止部には前記突起部が差し込まれる切れ目(76)が形成され、
前記突起部の先端(73)と前記掛止部の切れ目が平行に形成され、
前記突起部及び前記掛止部が前記箱体の中央から外れた位置に設けられ、
前記掛止部が前記箱体の外縁側よりも中央側で撓み難く形成されていることを特徴とする仮留め構造。
【請求項6】
前記掛止部が角U字状の切込みによってヒレ状に形成され、
前記箱体の外縁側にある前記掛止部の側縁(78)よりも前記箱体の中央側にある前記掛止部の側縁(79)が短いことで、前記掛止部が前記箱体の外縁側よりも中央側で撓み難く形成されていることを特徴とする請求項5に記載の仮留め構造。
【請求項7】
前記掛止部(81)がL字状の切込みによってヒレ状に形成され、
前記掛止部の側縁(82)が前記箱体の外縁側に位置することで、前記掛止部が前記箱体の外縁側よりも中央側で撓み難く形成されていることを特徴とする請求項5に記載の仮留め構造。
【請求項8】
請求項1から請求項7のいずれか1項に記載の仮留め構造によって仮留めされることを特徴とする包装箱。
発明の詳細な説明
【技術分野】
【0001】
本発明は、仮留め構造、包装箱に関する。
続きを表示(約 1,500 文字)
【背景技術】
【0002】
従来、包装箱として、一対の外フラップの仮留め構造が設けられたものが知られている(例えば、特許文献1参照)。特許文献1に記載の仮留め構造では、一方の外フラップの先端に2つの差込片と3つの掛止片が設けられ、他方の外フラップの先端に2つの掛止片と3つの差込片が設けられている。各外フラップには基端側の両角から中央側に向けて一対の谷折線が斜めに入り、各外フラップが一対の谷折線に沿って折れ易くなっている。一対の外フラップが押されることで、各差込片が向かい合う各掛止片の下側に入り込むことで一対の外フラップが仮留めされる。
【先行技術文献】
【特許文献】
【0003】
特許第4628487号公報
【発明の概要】
【発明が解決しようとする課題】
【0004】
しかしながら、特許文献1に記載の仮留め構造では、一対の外フラップに対する押し込み量が大きくなって一対の外フラップにシワが発生し易い。
【0005】
そこで、本発明は、仮留め時の押し込み量を小さくすることができる仮留め構造、包装箱を提供することを目的とする。
【課題を解決するための手段】
【0006】
本発明の一態様の仮留め構造は、箱体の一面を構成する第1の面材と第2の面材の仮留め構造であって、前記第1の面材に設けられた突起部と、前記第2の面材に設けられた掛止部と、を備え、前記第1の面材が前記第2の面材に外側から重なり、前記掛止部には前記突起部が差し込まれる切れ目が形成され、前記突起部と前記掛止部の重なりが前記箱体の外縁側よりも中央側で大きい。
【発明の効果】
【0007】
本発明によれば、撓み易い箱体の中央側では突起部と掛止部の重なり量が大きく、撓み難い箱体の外縁側では突起部と掛止部の重なり量が小さい。掛止部上に突起部が重ねられた状態から突起部が押し込まれるにつれて、箱体の中央側と外縁側で突起部と掛止部の重なり量の偏りがなくなるように重なり量が減少する。このため、少ない押し込み量で掛止部の切れ目に突起部が差し込まれ、第1、第2の面材が仮留めされてシワの発生を抑えることができる。
【図面の簡単な説明】
【0008】
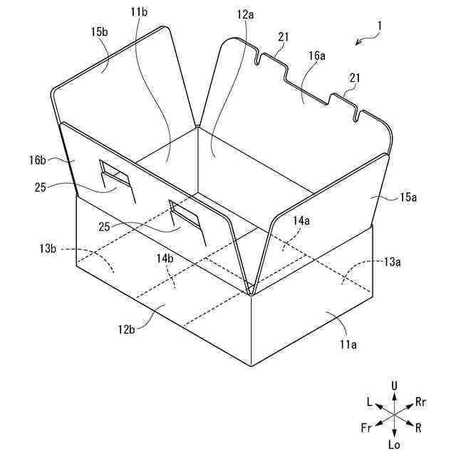
第1の実施形態の包装箱の斜視図である。
比較例の仮留め構造を示す図である。
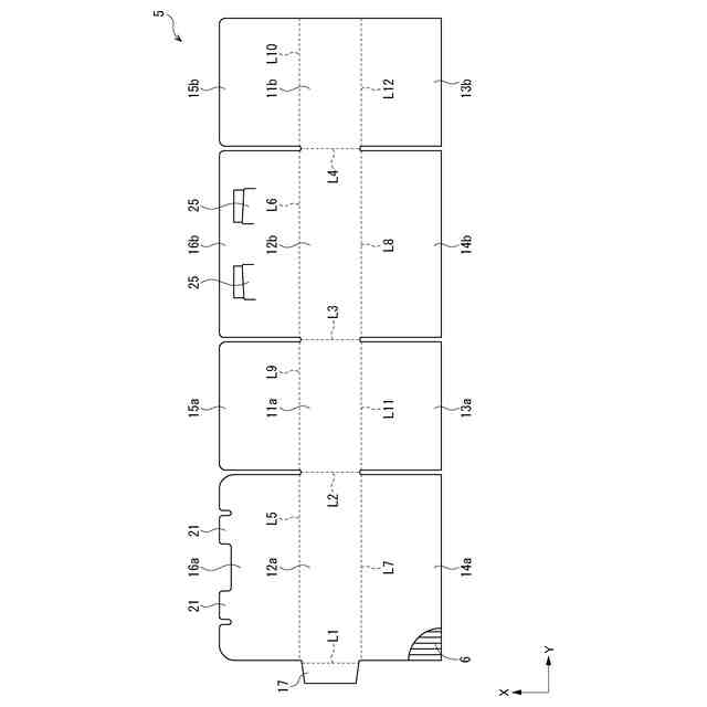
第1の実施形態のシート材の平面図である。
第1の実施形態の仮留め構造の説明図である。
第1の実施形態の仮留め構造の変形例を示す図である。
第1の実施形態の掛止部の変形例を示す図である。
第2の実施形態の仮留め構造の説明図である。
第2の実施形態の仮留め構造の変形例を示す図である。
【発明を実施するための形態】
【0009】
以下、図面を参照しつつ、本実施形態について説明する。各図に付される矢印Fr、Rr、L、R、U、Loは、それぞれ包装箱を正面から見たときの前側、後側、左側、右側、上側、下側を示している。また、本実施形態では方向や位置を示す用語を用いるが、それらの用語は説明の便宜のために用いるものであって、本発明の技術的範囲を限定するものではない。
【0010】
<第1の実施形態>
図1から図3を参照して、第1の実施形態の仮留め構造を備えた包装箱について説明する。図1は第1の実施形態の包装箱の斜視図である。図2は比較例の仮留め構造を示す図である。図3は第1の実施形態のシート材の平面図である。
(【0011】以降は省略されています)
この特許をJ-PlatPat(特許庁公式サイト)で参照する
関連特許
レンゴー株式会社
展示台
1か月前
レンゴー株式会社
包装箱
11日前
レンゴー株式会社
ストロー装飾体
12日前
レンゴー株式会社
包装箱、シート材
7日前
レンゴー株式会社
仮留め構造、包装箱
15日前
レンゴー株式会社
微粒子分散剤兼凝集剤
4日前
レンゴー株式会社
古紙パルプ中の異物検知方法
1か月前
個人
収容箱
3か月前
個人
ゴミ箱
12か月前
個人
コンベア
4か月前
個人
ゴミ収集器
6か月前
個人
容器
9か月前
個人
段ボール箱
6か月前
個人
段ボール箱
6か月前
個人
角筒状構造体
5か月前
個人
楽ちんハンド
4か月前
個人
バンド
1か月前
個人
宅配システム
6か月前
個人
土嚢運搬器具
8か月前
個人
パウチ補助具
11か月前
個人
閉塞装置
9か月前
個人
廃棄物収容容器
2か月前
個人
お薬の締結装置
5か月前
個人
コード類収納具
7か月前
個人
包装容器
25日前
株式会社バンダイ
物品
6日前
個人
把手付米袋
4か月前
株式会社和気
包装用箱
8か月前
個人
積み重ね用補助具
2か月前
個人
貯蔵サイロ
6か月前
株式会社コロナ
梱包材
5か月前
個人
蓋閉止構造
3か月前
個人
蓋閉止構造
3か月前
個人
ゴミ処理機
8か月前
個人
介護用コップ
1か月前
株式会社新弘
容器
12か月前
続きを見る
他の特許を見る