TOP
|
特許
|
意匠
|
商標
特許ウォッチ
Twitter
他の特許を見る
10個以上の画像は省略されています。
公開番号
2025143817
公報種別
公開特許公報(A)
公開日
2025-10-02
出願番号
2024043260
出願日
2024-03-19
発明の名称
電力変換装置および電力変換装置のゲート指令生成方法
出願人
株式会社明電舎
代理人
個人
,
個人
,
個人
,
個人
主分類
H02M
7/48 20070101AFI20250925BHJP(電力の発電,変換,配電)
要約
【課題】双方向絶縁型DC/DCコンバータを、商用周波数駆動セルに設け、高周波駆動セルに設けない電力変換装置において、高周波駆動セルの直流電圧を一定に制御できるようにする。
【解決手段】相電圧指令値(Vu
*
)と閾値(Cth1,2,3)の偏差に基づいて商用周波数駆動セル(U1~U3)のゲート指令を生成し、複数の商用周波数駆動セルの合計出力電圧と前記Vu
*
の差分により出力電圧指令値を求め(減算器5)、その指令値とキャリア信号の比較によって高周波駆動セル(U4)のゲート指令を生成するゲート指令生成部であって、前記閾値を、高周波駆動セルの直流電圧と複数のセルが出力する有効電力に応じて変化させるための閾値補正値C
*
を生成し、前記Vu
*
を、高周波駆動セルの直流電圧と複数のセルの出力電流の符号に応じて変化させるため電圧指令補正値VC
*
を生成する。
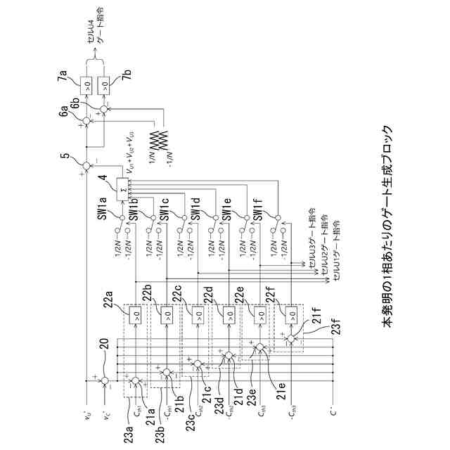
【選択図】 図6
特許請求の範囲
【請求項1】
商用周波数で駆動される商用周波数駆動セルと、商用周波数駆動セルよりも高い周波数で駆動される高周波駆動セルを、交流系統の各相にスター結線で多重に接続したモジュラー・マルチレベル・カスケード変換器と、
前記商用周波数駆動セルの直流側に接続された双方向絶縁型DC/DCコンバータと、
前記複数のセルのスイッチング素子のゲート指令を生成するゲート指令生成部と、を備え、
前記ゲート指令生成部は、相電圧指令値と閾値との比較結果に基づいて商用周波数駆動セルのゲート指令を生成し、前記商用周波数駆動セルのゲート指令に基づいて求めた複数の商用周波数駆動セルの合計出力電圧と前記相電圧指令値との差分により高周波駆動セルの出力電圧指令値を求め、前記高周波駆動セルの出力電圧指令値とキャリア信号の比較によって高周波駆動セルのゲート指令を生成するゲート指令生成部であって、
前記商用周波数駆動セルのゲート指令生成に用いる閾値を、高周波駆動セルの直流電圧と前記複数のセルが出力する有効電力に応じて変化させるための閾値補正値を生成する閾値補正部を備えたことを特徴とする電力変換装置。
続きを表示(約 2,300 文字)
【請求項2】
商用周波数で駆動される商用周波数駆動セルと、商用周波数駆動セルよりも高い周波数で駆動される高周波駆動セルを、交流系統の各相にスター結線で多重に接続したモジュラー・マルチレベル・カスケード変換器と、
前記商用周波数駆動セルの直流側に接続された双方向絶縁型DC/DCコンバータと、
前記複数のセルのスイッチング素子のゲート指令を生成するゲート指令生成部と、を備え、
前記ゲート指令生成部は、相電圧指令値と閾値との比較結果に基づいて商用周波数駆動セルのゲート指令を生成し、前記商用周波数駆動セルのゲート指令に基づいて求めた複数の商用周波数駆動セルの合計出力電圧と前記相電圧指令値との差分により高周波駆動セルの出力電圧指令値を求め、前記高周波駆動セルの出力電圧指令値とキャリア信号の比較によって高周波駆動セルのゲート指令を生成するゲート指令生成部であって、
前記相電圧指令値を、高周波駆動セルの直流電圧と、前記複数のセルの出力電流の符号に応じて変化させるための電圧指令補正値を生成する電圧指令補正部を備えたことを特徴とする電力変換装置。
【請求項3】
商用周波数で駆動される商用周波数駆動セルと、商用周波数駆動セルよりも高い周波数で駆動される高周波駆動セルを、交流系統の各相にスター結線で多重に接続したモジュラー・マルチレベル・カスケード変換器と、
前記商用周波数駆動セルの直流側に接続された双方向絶縁型DC/DCコンバータと、
前記複数のセルのスイッチング素子のゲート指令を生成するゲート指令生成部と、を備え、
前記ゲート指令生成部は、相電圧指令値と閾値との比較結果に基づいて商用周波数駆動セルのゲート指令を生成し、前記商用周波数駆動セルのゲート指令に基づいて求めた複数の商用周波数駆動セルの合計出力電圧と前記相電圧指令値との差分により高周波駆動セルの出力電圧指令値を求め、前記高周波駆動セルの出力電圧指令値とキャリア信号の比較によって高周波駆動セルのゲート指令を生成するゲート指令生成部であって、
前記商用周波数駆動セルのゲート指令生成に用いる閾値を、高周波駆動セルの直流電圧と前記複数のセルが出力する有効電力に応じて変化させるための閾値補正値を生成する閾値補正部と、
前記相電圧指令値を、高周波駆動セルの直流電圧と、前記複数のセルの出力電流の符号に応じて変化させるための電圧指令補正値を生成する電圧指令補正部と、
を備えたことを特徴とする電力変換装置。
【請求項4】
前記閾値補正部は、前記閾値補正値に4次以上の偶数次高調波を重畳することを特徴とする請求項1又は3に記載の電力変換装置。
【請求項5】
前記電圧指令補正部は、前記電圧指令補正値に奇数次高調波を重畳することを特徴とする請求項2又は3に記載の電力変換装置。
【請求項6】
商用周波数で駆動される商用周波数駆動セルと、商用周波数駆動セルよりも高い周波数で駆動される高周波駆動セルを、交流系統の各相にスター結線で多重に接続したモジュラー・マルチレベル・カスケード変換器と、
前記商用周波数駆動セルの直流側に接続された双方向絶縁型DC/DCコンバータと、
前記複数のセルのスイッチング素子のゲート指令を生成するゲート指令生成部と、を備えた電力変換装置のゲート指令生成方法であって、
前記ゲート指令生成部が、相電圧指令値と閾値との比較結果に基づいて商用周波数駆動セルのゲート指令を生成し、前記商用周波数駆動セルのゲート指令に基づいて求めた複数の商用周波数駆動セルの合計出力電圧と前記相電圧指令値との差分により高周波駆動セルの出力電圧指令値を求め、前記高周波駆動セルの出力電圧指令値とキャリア信号の比較によって高周波駆動セルのゲート指令を生成するステップと、
前記ゲート指令生成部の閾値補正部が、前記商用周波数駆動セルのゲート指令生成に用いる閾値を、高周波駆動セルの直流電圧と前記複数のセルが出力する有効電力に応じて変化させるための閾値補正値を生成するステップと、を備えたことを特徴とする電力変換装置のゲート指令生成方法。
【請求項7】
商用周波数で駆動される商用周波数駆動セルと、商用周波数駆動セルよりも高い周波数で駆動される高周波駆動セルを、交流系統の各相にスター結線で多重に接続したモジュラー・マルチレベル・カスケード変換器と、
前記商用周波数駆動セルの直流側に接続された双方向絶縁型DC/DCコンバータと、
前記複数のセルのスイッチング素子のゲート指令を生成するゲート指令生成部と、を備えた電力変換装置のゲート指令生成方法であって、
前記ゲート指令生成部が、相電圧指令値と閾値との比較結果に基づいて商用周波数駆動セルのゲート指令を生成し、前記商用周波数駆動セルのゲート指令に基づいて求めた複数の商用周波数駆動セルの合計出力電圧と前記相電圧指令値との差分により高周波駆動セルの出力電圧指令値を求め、前記高周波駆動セルの出力電圧指令値とキャリア信号の比較によって高周波駆動セルのゲート指令を生成するステップと、
前記ゲート指令生成部の電圧指令補正部が、前記相電圧指令値を、高周波駆動セルの直流電圧と、前記複数のセルの出力電流の符号に応じて変化させるための電圧指令補正値を生成するステップと、備えたことを特徴とする電力変換装置のゲート指令生成方法。
発明の詳細な説明
【技術分野】
【0001】
本発明は、三相交流の系統に連系するシングルスター・ブリッジセル(以下、SSBCと称することもある)のモジュラー・マルチレベル・カスケード変換器(以下、MMCCと称することもある)において、変換器を構成するフルブリッジセルの直流側に別途電源やDC/DCコンバータなどが接続された構成に適用する技術に関する。
続きを表示(約 1,000 文字)
【背景技術】
【0002】
モジュラー・マルチレベル・カスケード変換器の構成の主な例としては、例えば特許文献1にあるようなソリッドステート・トランスフォーマー(以下、SSTと称することもある)がある。
【0003】
図1にMMCC-SSBCと共振コンバータ方式の双方向絶縁型DC/DCコンバータを組み合わせた1相あたりセル4台からなるSSTを示す。
【0004】
図1は、1相あたりのセル台数N≧2、そのうち高周波駆動セルの台数M≧1で適用可能であるが、図1ではN=4、M=1の例を示している。
【0005】
図1(a)に示すように、交流系統ACのU相には、リアクトルLuを介してセルU1、セルU2、セルU3、セルU4が直列接続される。同様に、交流系統ACのV相には、リアクトルLvを介してセルV1、セルV2、セルV3、セルV4が直列接続され、交流系統ACのW相には、リアクトルLwを介してセルW1、セルW2、セルW3、セルW4が直列接続される。
【0006】
前記各相の直列接続終端は共通に接続されている(スター結線)。ここでセルU1、セルU2、セルU3、セルU4の交流の相電圧(相電圧検出信号)をv
u1
,v
u2
,v
u3
,v
u4
とする。
【0007】
セルU1、セルU2、セルU3、セルU4、セルV1、セルV2、セルV3、セルV4、セルW1、セルW2、セルW3、セルW4の直流端子は並列接続されている。
【0008】
セルU1~セルW4の直流電圧をV
DC
とし、交流系統ACの出力電圧をvsとし、SSTの入力電流をisとしている。
【0009】
図1(b)にセル1台当たりの構成を示す。セルの一方の交流端子にはスイッチング素子S1,S3の一端が接続される。また、セルの他方の交流端子にはスイッチング素子S2,S4の一端が接続される。スイッチング素子S1,S2の他端は第1コンデンサC1の一端に接続される。スイッチング素子S3,S4の他端は第1コンデンサC1の他端に接続される。
【0010】
第1コンデンサC1の一端と他端との間にはスイッチング素子S5,S7が直列接続される。また、第1コンデンサC1の一端と他端との間にはスイッチング素子S6,S8が直列接続される。
(【0011】以降は省略されています)
この特許をJ-PlatPat(特許庁公式サイト)で参照する
関連特許
株式会社明電舎
回転機
29日前
株式会社明電舎
ドローン
1か月前
株式会社明電舎
成膜装置
4日前
株式会社明電舎
車両固定装置
29日前
株式会社明電舎
負荷制御装置
3日前
株式会社明電舎
車両固定装置
29日前
株式会社明電舎
負荷制御装置
3日前
株式会社明電舎
負荷制御装置
3日前
株式会社明電舎
ロータ及び回転機
29日前
株式会社明電舎
電流制御システム
16日前
株式会社明電舎
センサ固定用治具
1か月前
株式会社明電舎
オゾン水の生成装置
29日前
株式会社明電舎
オゾン水の生成装置
29日前
株式会社明電舎
オゾン水の生成装置
29日前
株式会社明電舎
遮断器のリンク機構、遮断器
1か月前
株式会社明電舎
ロータ、回転電機及び車両駆動用装置
22日前
株式会社明電舎
水冷式回転機のフレーム、及びその製造方法
1か月前
株式会社明電舎
電力変換装置および電力変換装置のゲート指令生成方法
29日前
株式会社明電舎
出力調整機構、電界放射装置及び電界放射装置の出力制御方法
29日前
個人
単極モータ
17日前
キヤノン電子株式会社
モータ
1日前
株式会社アイシン
ロータ
17日前
株式会社アイシン
ロータ
21日前
コーセル株式会社
電源装置
2日前
日本精機株式会社
サージ保護回路
24日前
日星電気株式会社
ケーブル組立体
9日前
トヨタ自動車株式会社
固定子
22日前
トヨタ自動車株式会社
製造装置
22日前
個人
連続ガウス加速器形磁力増幅装置
24日前
株式会社デンソー
回転機
15日前
株式会社ダイヘン
充電装置
21日前
株式会社ダイヘン
充電装置
21日前
株式会社アイシン
ステータ
21日前
株式会社ダイヘン
充電装置
21日前
株式会社アイシン
ステータ
21日前
個人
太陽エネルギー収集システム
22日前
続きを見る
他の特許を見る