TOP
|
特許
|
意匠
|
商標
特許ウォッチ
Twitter
他の特許を見る
10個以上の画像は省略されています。
公開番号
2025140198
公報種別
公開特許公報(A)
公開日
2025-09-29
出願番号
2024039418
出願日
2024-03-13
発明の名称
ドローン
出願人
株式会社明電舎
代理人
個人
,
個人
,
個人
,
個人
主分類
H02K
9/19 20060101AFI20250919BHJP(電力の発電,変換,配電)
要約
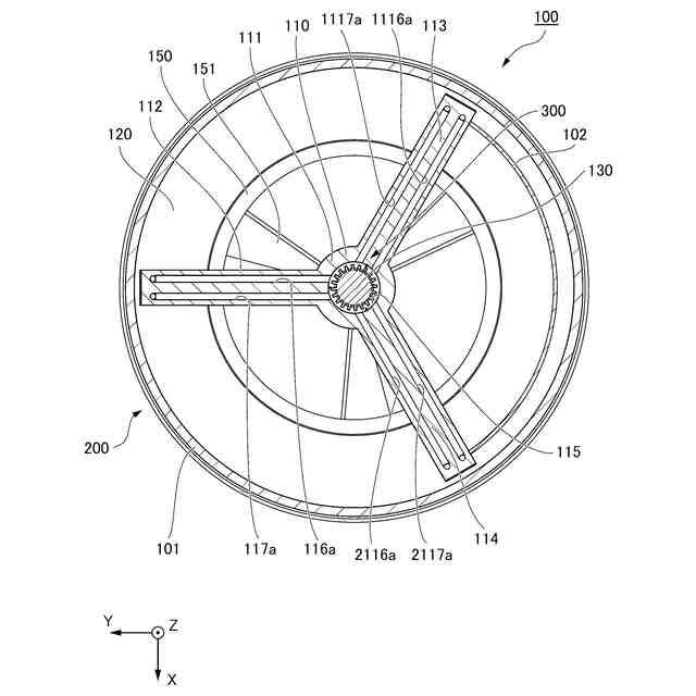
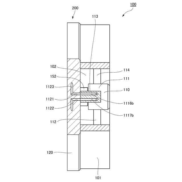
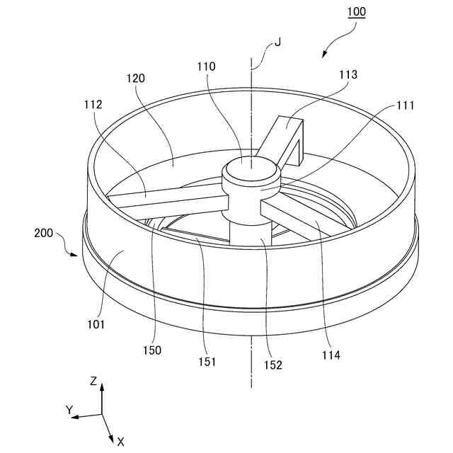
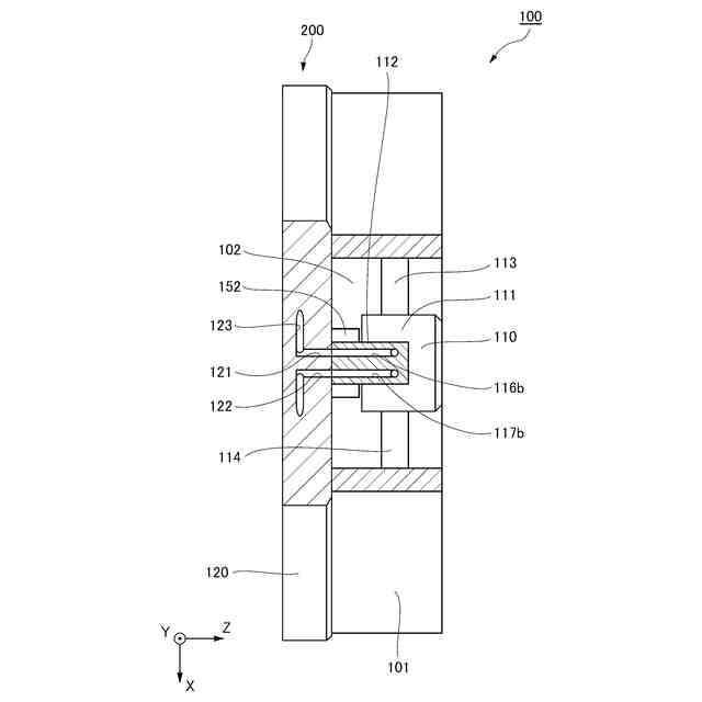
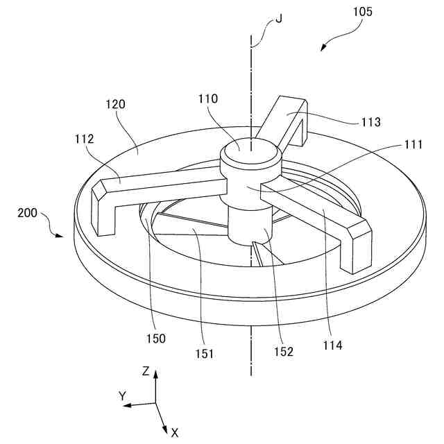
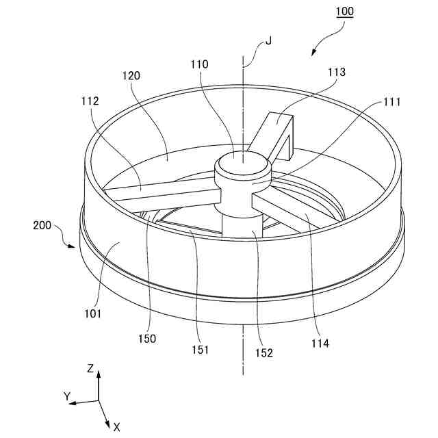
【課題】ドローン用のモータの冷却構造を改善することである。
【解決手段】ステータケースは、周方向に延び冷媒が流れる第1流路を有し、熱交換器は、シャフトと同軸の軸部と、前記軸部から放射状に延びる複数の脚部と、を有し、前記複数の脚部のそれぞれは、前記冷媒が流れる第2流路を有し、前記複数の脚部のそれぞれは、前記回転翼の回転による風と前記第2流路を流れる前記冷媒との熱交換を行う熱交換部であり、前記軸部は、前記第1流路と前記第2流路との間で前記冷媒を循環させる流れを発生させるポンプを有する、ことを特徴とする。
【選択図】図1
特許請求の範囲
【請求項1】
ステータと、
前記ステータとギャップを介して対向するロータと、
前記ステータを収容するステータケースと、
前記ステータケースの軸方向一方側に配置された熱交換器と、
前記ロータの回転により回転する回転軸であるシャフトと、
前記ロータの回転により回転する回転翼と、
を有し、
前記ステータケースは、周方向に延び冷媒が流れる第1流路を有し、
前記熱交換器は、前記シャフトと同軸の軸部と、前記軸部から放射状に延びる複数の脚部と、を有し、
前記複数の脚部のそれぞれは、前記冷媒が流れる第2流路を有し、
前記複数の脚部のそれぞれは、前記回転翼の回転による風と前記第2流路を流れる前記冷媒との熱交換を行う熱交換部であり、
前記軸部は、前記第1流路と前記第2流路との間で前記冷媒を循環させる流れを発生させるポンプを有する、
ことを特徴とするドローン。
続きを表示(約 750 文字)
【請求項2】
前記熱交換器は、前記回転翼の吸気側に配置される、
ことを特徴とする請求項1に記載のドローン。
【請求項3】
前記ポンプ部は、前記ロータの回転により駆動される、
ことを特徴とする請求項1に記載のドローン。
【請求項4】
前記回転翼は、前記ロータと一体である、
ことを特徴とする請求項1に記載のドローン。
【請求項5】
前記回転翼の回転による風を前記熱交換部に誘導する導風部を有する、
ことを特徴とする請求項1に記載のドローン。
【請求項6】
前記導風部は、少なくとも前記熱交換部の径方向外側を覆う円筒形状の部材である、
ことを特徴とする請求項5に記載のドローン。
【請求項7】
前記第2流路は、前記冷媒が前記ポンプから前記第1流路に向かう第3流路と、前記冷媒が前記第1流路から前記ポンプに向かう第4流路と、からなり、
前記複数の脚部のそれぞれは、前記第3流路と前記第4流路との間で軸方向に貫通する貫通孔を有する、
ことを特徴とする請求項1に記載のドローン。
【請求項8】
前記複数の脚部のそれぞれは、前記貫通孔において格子を有する、
ことを特徴とする請求項7に記載のドローン。
【請求項9】
前記複数の脚部のそれぞれは、フィンを有する、
ことを特徴とする請求項1に記載のドローン。
【請求項10】
前記複数の脚部のうち隣接する脚部同士を橋渡しするブリッジと、前記ブリッジを前記ステータケース上で支持する支柱部と、を有する、
ことを特徴とする請求項1に記載のドローン。
発明の詳細な説明
【技術分野】
【0001】
本発明は、ドローンに関する。
続きを表示(約 1,100 文字)
【背景技術】
【0002】
従来、一般にドローンと呼ばれる回転翼を有する飛行体が知られている。このドローンの回転翼を回転させるためにはモータが用いられる。モータは回転機の一例である。このようなモータにおいては、ステータなどにおける発熱を冷却することが重要な課題である。
【0003】
特許文献1には、船を駆動するプロペラ装置について開示されている。このプロペラ装置は、モータのロータとプロペラが一体になっており、その外周側にステータを配置した構造になっている。この構造のプロペラ装置は、船舶用途であるためステータが海水で冷却されることが期待できる。
【先行技術文献】
【特許文献】
【0004】
特開平11-245889号公報
【発明の概要】
【発明が解決しようとする課題】
【0005】
しかしながら、例えばドローンなどの空中で使用されるプロペラを回転させるモータでは、海水による冷却効果が得られない。またドローン用のモータでは、特に小型軽量化が求められ、それに対応した冷却構造が求められる。
【0006】
このため、従来は、ドローン用のモータの冷却構造に改善の余地があった。
【0007】
本発明は、ドローン用のモータの冷却構造を改善することを目的とする。
【課題を解決するための手段】
【0008】
本発明の一態様に係るドローンは、ステータと、前記ステータとギャップを介して対向するロータと、前記ステータを収容するステータケースと、前記ステータケースの軸方向一方側に配置された熱交換器と、前記ロータの回転により回転する回転軸であるシャフトと、前記ロータの回転により回転する回転翼と、を有し、前記ステータケースは、周方向に延び冷媒が流れる第1流路を有し、前記熱交換器は、前記シャフトと同軸の軸部と、前記軸部から放射状に延びる複数の脚部と、を有し、前記複数の脚部のそれぞれは、前記冷媒が流れる第2流路を有し、前記複数の脚部のそれぞれは、前記回転翼の回転による風と前記第2流路を流れる前記冷媒との熱交換を行う熱交換部であり、前記軸部は、前記第1流路と前記第2流路との間で前記冷媒を循環させる流れを発生させるポンプを有する、
ことを特徴とする。
【0009】
上記の一態様のドローンにおいて、前記熱交換器は、前記回転翼の吸気側に配置される、ことを特徴とする。
【0010】
上記の一態様のドローンにおいて、前記ポンプ部は、前記ロータの回転により駆動される、ことを特徴とする。
(【0011】以降は省略されています)
この特許をJ-PlatPat(特許庁公式サイト)で参照する
関連特許
株式会社明電舎
回転機
22日前
株式会社明電舎
回転電機
1か月前
株式会社明電舎
ドローン
25日前
株式会社明電舎
回転電機
28日前
株式会社明電舎
回転電機
1か月前
株式会社明電舎
電力変換装置
1か月前
株式会社明電舎
電力変換装置
1か月前
株式会社明電舎
車両固定装置
22日前
株式会社明電舎
車両固定装置
22日前
株式会社明電舎
負荷発生装置
1か月前
株式会社明電舎
電力系統システム
1か月前
株式会社明電舎
電流制御システム
9日前
株式会社明電舎
センサ固定用治具
23日前
株式会社明電舎
ロータ及び回転機
22日前
株式会社明電舎
電力系統システム
25日前
株式会社明電舎
オゾン水の生成装置
22日前
株式会社明電舎
オゾン水の生成装置
22日前
株式会社明電舎
オゾン水の生成装置
22日前
株式会社明電舎
遮断器のリンク機構、遮断器
23日前
株式会社明電舎
電極構造,真空インタラプタ
1か月前
株式会社明電舎
軸受及びそれを備えた回転機
1か月前
株式会社明電舎
電極構造,真空インタラプタ
1か月前
株式会社明電舎
電流センサおよび電力変換装置
1か月前
株式会社明電舎
不良検知装置及び不良検知方法
25日前
株式会社明電舎
半導体モジュールおよび電力変換装置
29日前
株式会社明電舎
ロータ、回転電機及び車両駆動用装置
15日前
株式会社明電舎
架線位置計測装置及び架線位置計測方法
29日前
株式会社明電舎
機械学習支援装置及び機械学習支援方法
1か月前
株式会社明電舎
水冷式回転機のフレーム、及びその製造方法
23日前
株式会社明電舎
目標車速パターンデータ生成方法及び試験方法
25日前
株式会社明電舎
電力変換装置および電力変換装置のゲート指令生成方法
22日前
株式会社明電舎
出力調整機構、電界放射装置及び電界放射装置の出力制御方法
22日前
株式会社明電舎
絶縁型DC/DC変換器および絶縁型DC/DC変換器の制御方法
28日前
株式会社明電舎
電極構造,真空インタラプタ
1か月前
株式会社明電舎
部分放電測定システムおよびその測定装置、部分放電測定方法、部分放電測定プログラム
1か月前
国立大学法人長岡技術科学大学
グリッドフォーミングインバータの制御装置および制御方法
25日前
続きを見る
他の特許を見る