TOP
|
特許
|
意匠
|
商標
特許ウォッチ
Twitter
他の特許を見る
公開番号
2025136943
公報種別
公開特許公報(A)
公開日
2025-09-19
出願番号
2024035883
出願日
2024-03-08
発明の名称
回転電機
出願人
株式会社明電舎
代理人
個人
,
個人
,
個人
,
個人
主分類
H02K
9/22 20060101AFI20250911BHJP(電力の発電,変換,配電)
要約
【課題】ステータコア、コイル等を十分に冷却しつつ、小型化を可能にすることができる回転電機を提供すること。
【解決手段】回転電機は、コイルを収容するスロットを有するステータコアと、スロットに配置される放熱部材と、を備える。放熱部材は、スロット内でステータコアとコイルの間に配置され、回転軸の方向に延びている伝熱部と、伝熱部と一体に形成されている放熱部とを備える。放熱部は、第一放熱部と、第二放熱部と、第三放熱部との少なくとも一つを備える。第一放熱部は、スロットの外側でステータコアの動径方向に延びて回転軸と直交するステータコアの端面を覆う。第二放熱部は、スロットの外側でステータコアの円周方向の一方側に延びて回転軸と直交するステータコアの端面を覆う。第三放熱部は、スロットの外側でステータコアの円周方向の他方側に延びて回転軸と直交するステータコアの端面を覆う。
【選択図】図3
特許請求の範囲
【請求項1】
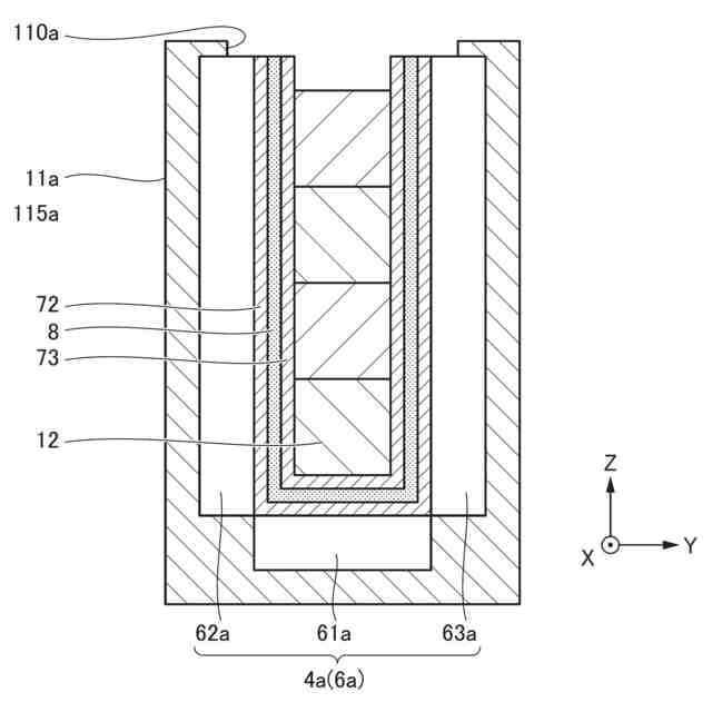
コイルを収容するスロットを有するステータコアと、
前記スロットに配置されている放熱部材と、を備え、
前記放熱部材は、前記スロット内で前記ステータコアと前記コイルの間に配置され、回転軸の方向に延びている伝熱部と、前記伝熱部と一体に形成される放熱部とを備え、
前記放熱部は、前記スロットの外側で前記ステータコアの動径方向に延びて前記回転軸と直交する前記ステータコアの端面を覆う第一放熱部と、前記スロットの外側で前記ステータコアの円周方向の一方側に延びて前記回転軸と直交する前記ステータコアの端面を覆う第二放熱部と、前記スロットの外側で前記ステータコアの円周方向の他方側に延びて前記回転軸と直交する前記ステータコアの端面を覆う第三放熱部との少なくとも一つを含む、
回転電機。
続きを表示(約 780 文字)
【請求項2】
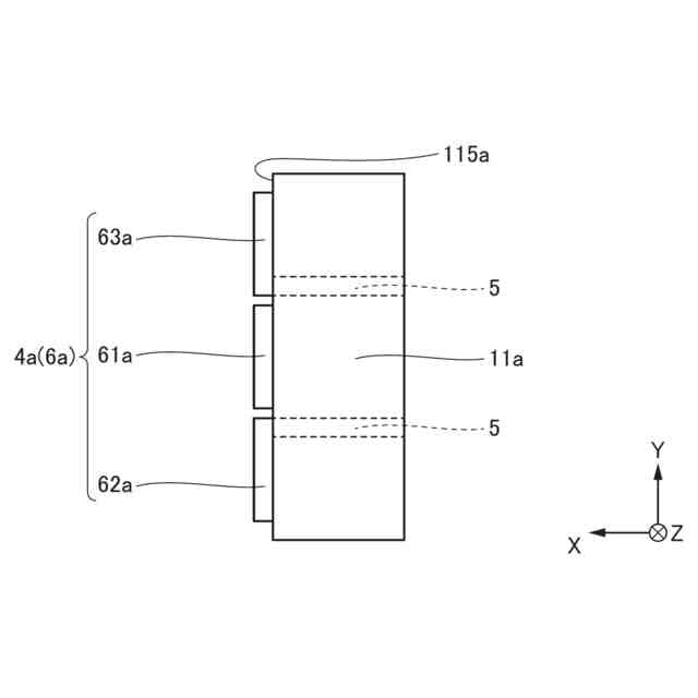
第一スロットに配置され、前記第三放熱部を含む第一の放熱部材と、
前記第一スロットと円周方向の一方側で隣り合う第二スロットに配置され、前記第二放熱部を含む第二の放熱部材と、を備え、
前記第一の放熱部材の前記第三放熱部と、前記第二の放熱部材の前記第二放熱部とは、円周方向において重なっており、前記回転軸の方向において離れて配置されている部分を含む、
請求項1に記載の回転電機。
【請求項3】
第一スロットに配置され、前記第三放熱部を含む第一の放熱部材と、
前記第一スロットと円周方向の一方側で隣り合う第二スロットに配置され、前記第二放熱部を含む第二の放熱部材と、を備え、
前記第一の放熱部材の前記第三放熱部と、前記第二の放熱部材の前記第二放熱部は、円周方向において重なっておらず、前記回転軸の方向において同じ高さに配置されている部分を含む、
請求項1に記載の回転電機。
【請求項4】
前記第一放熱部は、動径方向において、前記回転軸と直交する前記ステータコアの端面の端部まで延びている、
請求項1に記載の回転電機。
【請求項5】
前記伝熱部、前記第一放熱部、前記第二放熱部及び前記第三放熱部の少なくとも一つは、前記ステータコアを構成している材料よりも熱伝導率が高い材料で作製されている、
請求項1から請求項4のいずれか一つに記載の回転電機。
【請求項6】
前記第一放熱部、前記第二放熱部及び前記第三放熱部のうち前記回転軸と直交する前記ステータコアの端面に対向している面の少なくとも一部は、前記回転軸と直交する前記ステータコアの端面に密着している、
請求項1から請求項4のいずれか一つに記載の回転電機。
発明の詳細な説明
【技術分野】
【0001】
本発明は、回転電機に関する。
続きを表示(約 1,600 文字)
【背景技術】
【0002】
モータ、ジェネレータ等の回転電機は、駆動する際にコイルが発熱すること等により効率的に駆動することが困難になることがある。このため、回転電機の内部を冷却する技術が開発されている。このような技術として、例えば、特許文献1に開示されているモータ、特許文献2に開示されているモータが挙げられる。
【0003】
特許文献1に開示されているモータは、コイルで発生した熱を外側まで導く放熱層を備える。特許文献2に開示されているモータは、ステータコアと、内周側ハウジングと、外周側ハウジングと、熱伝導性シートとを備える。内周側ハウジング及び外周側ハウジングは、ステータコアの周りに設けられ、冷媒が流れる冷媒通路を形成する。熱伝導性シートは、ステータコアに接触して設けられる吸熱部と、内周側ハウジング及び外周側ハウジングに接触して設けられる放熱部とを有する。
【先行技術文献】
【特許文献】
【0004】
特開2003-319590号公報
特開2018-113750号公報
【発明の概要】
【発明が解決しようとする課題】
【0005】
しかし、特許文献1に開示されているモータは、放熱層がコイルの間のみに設けられているため、冷却性能が十分でない。そして、特許文献2に開示されているモータは、スロットの内部からスロットの外部に中心軸に平行に延びている熱伝導性シートを備えるため、少なくとも中心軸の方向に大型化してしまう。
【0006】
そこで、本発明は、ステータコア、コイル等を十分に冷却しつつ、小型化を可能にすることができる回転電機を提供することを課題とする。
【課題を解決するための手段】
【0007】
上述した課題を解決するために、本発明の回転電機は、コイルを収容するスロットを有するステータコアと、前記スロットに配置される放熱部材と、を備える。前記放熱部材は、前記スロット内で前記ステータコアと前記コイルの間に配置され、回転軸の方向に延びている伝熱部と、前記伝熱部と一体に形成されている放熱部とを備える。前記放熱部は、第一放熱部と、第二放熱部と、第三放熱部との少なくとも一つを備える。第一放熱部は、前記スロットの外側で前記ステータコアの動径方向に延びて前記回転軸と直交する前記ステータコアの端面を覆う。第二放熱部は、前記スロットの外側で前記ステータコアの円周方向の一方側に延びて前記回転軸と直交する前記ステータコアの端面を覆う。第三放熱部は、前記スロットの外側で前記ステータコアの円周方向の他方側に延びて前記回転軸と直交する前記ステータコアの端面を覆う。
【0008】
また、本発明の回転電機は、第一スロットに配置され、前記第三放熱部を含む第一の放熱部材と、前記第一スロットと円周方向の一方側で隣り合う第二スロットに配置され、前記第二放熱部を含む第二の放熱部材と、を備えていてもよい。この場合、前記第一の放熱部材の前記第三放熱部と、前記第二の放熱部材の前記第二放熱部とは、円周方向において重なっており、前記回転軸の方向において離れて配置されている部分を含む。
【0009】
また、本発明の回転電機は、第一スロットに配置され、前記第三放熱部を含む第一の放熱部材と、前記第一スロットと円周方向の一方側で隣り合う第二スロットに配置され、前記第二放熱部を含む第二の放熱部材と、を備えていてもよい。この場合、前記第一の放熱部材の前記第三放熱部と、前記第二の放熱部材の前記第二放熱部は、円周方向において重なっておらず、前記回転軸の方向において同じ高さに配置されている部分を含む。
【0010】
また、前記第一放熱部材は、動径方向において、前記回転軸と直交する前記ステータコアの端面の端部まで延びていてもよい。
(【0011】以降は省略されています)
この特許をJ-PlatPat(特許庁公式サイト)で参照する
関連特許
株式会社明電舎
回転機
26日前
株式会社明電舎
ドローン
29日前
株式会社明電舎
回転電機
1か月前
株式会社明電舎
回転電機
1か月前
株式会社明電舎
成膜装置
1日前
株式会社明電舎
負荷制御装置
今日
株式会社明電舎
負荷制御装置
今日
株式会社明電舎
負荷制御装置
今日
株式会社明電舎
車両固定装置
26日前
株式会社明電舎
車両固定装置
26日前
株式会社明電舎
電力系統システム
29日前
株式会社明電舎
電流制御システム
13日前
株式会社明電舎
ロータ及び回転機
26日前
株式会社明電舎
センサ固定用治具
27日前
株式会社明電舎
オゾン水の生成装置
26日前
株式会社明電舎
オゾン水の生成装置
26日前
株式会社明電舎
オゾン水の生成装置
26日前
株式会社明電舎
遮断器のリンク機構、遮断器
27日前
株式会社明電舎
不良検知装置及び不良検知方法
29日前
株式会社明電舎
ロータ、回転電機及び車両駆動用装置
19日前
株式会社明電舎
半導体モジュールおよび電力変換装置
1か月前
株式会社明電舎
架線位置計測装置及び架線位置計測方法
1か月前
株式会社明電舎
水冷式回転機のフレーム、及びその製造方法
27日前
株式会社明電舎
目標車速パターンデータ生成方法及び試験方法
29日前
株式会社明電舎
電力変換装置および電力変換装置のゲート指令生成方法
26日前
株式会社明電舎
出力調整機構、電界放射装置及び電界放射装置の出力制御方法
26日前
株式会社明電舎
絶縁型DC/DC変換器および絶縁型DC/DC変換器の制御方法
1か月前
国立大学法人長岡技術科学大学
グリッドフォーミングインバータの制御装置および制御方法
29日前
個人
単極モータ
14日前
株式会社アイシン
ロータ
18日前
株式会社アイシン
ロータ
14日前
日本精機株式会社
サージ保護回路
21日前
日星電気株式会社
ケーブル組立体
6日前
西部電機株式会社
充電装置
21日前
西部電機株式会社
充電装置
21日前
トヨタ自動車株式会社
固定子
19日前
続きを見る
他の特許を見る