TOP
|
特許
|
意匠
|
商標
特許ウォッチ
Twitter
他の特許を見る
公開番号
2025142583
公報種別
公開特許公報(A)
公開日
2025-10-01
出願番号
2024042031
出願日
2024-03-18
発明の名称
遮断器のリンク機構、遮断器
出願人
株式会社明電舎
代理人
個人
,
個人
,
個人
,
個人
主分類
H01H
33/666 20060101AFI20250924BHJP(基本的電気素子)
要約
【課題】2点切りの真空遮断器の導体ケースの通電性能を損なうことなく、耐摩耗性の向上を図る。
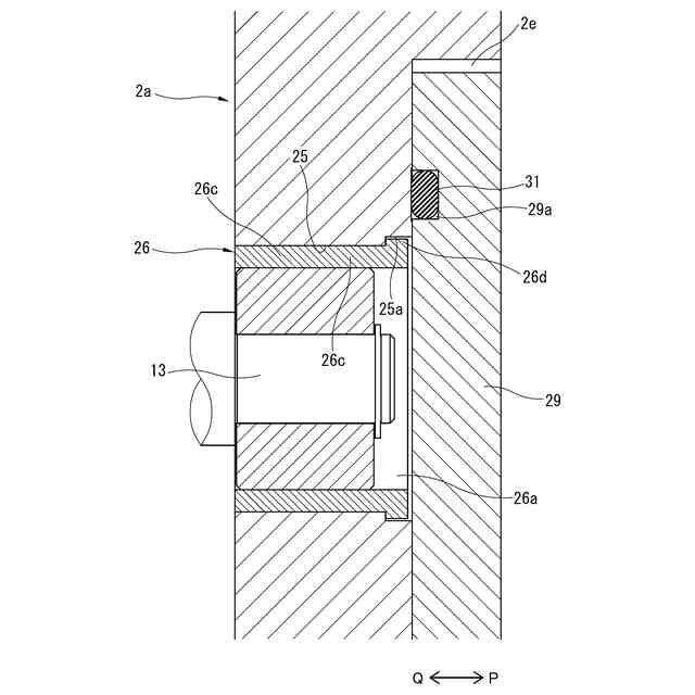
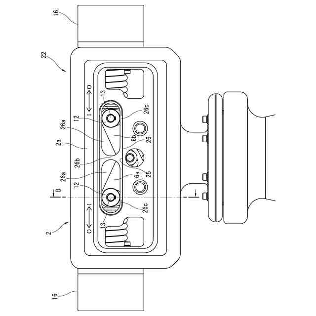
【解決手段】遮断器のリンク機構22は、真空インタラプタ16間の通電経路を構成する導体ケース2と、導体ケース2内に収容された一対のリンク部6と、各真空インタラプタ16に各リンク部6をそれぞれ回動自在に連結する軸部13と、軸部13の両端の転動部材12とを備えている。この導体ケース2の対向する側壁2aには取付孔25が形成され、各取付孔25の内周面にはフレーム状のガイド部材26が装着されている。このガイド部材26は一対のガイド孔26aを有している。この各ガイド孔26a内に各転動部材12がそれぞれ転動自在に配置されている。
【選択図】図3
特許請求の範囲
【請求項1】
絶縁ガスが充填された接地タンク内に配置された一対の真空インタラプタを絶縁操作棒の操作に応じて開閉動作させる遮断器のリンク機構であって、
前記真空インタラプタ間の通電経路を構成する導体ケースと、
前記導体ケース内に収容された一対のリンクと、
前記各真空インタラプタに前記各リンクをそれぞれ回動自在に連結する軸部と、
前記軸部材の両端に設けられた転動部材と、
前記導体ケースに対向形成された一対の取付孔と、
前記各取付孔の内周に設けられたガイド部材と、
を備え、
前記各転動部材を前記各ガイド部材内にそれぞれ転動自在に配置したことを特徴とする遮断器のリンク機構。
続きを表示(約 670 文字)
【請求項2】
前記各ガイド部材は、
フレーム状に形成され、
一対のガイド孔を有し、
前記各ガイド孔内に前記各転動部材がそれぞれ配置されている
ことを特徴とする請求項1記載の遮断器のリンク機構。
【請求項3】
前記取付孔の内周縁には、凹状部が形成されている一方、
前記ガイド部材の外周縁には、前記凹状部に嵌合する凸状部が形成されている
ことを特徴とする請求項1記載の遮断器のリンク機構。
【請求項4】
前記凹状部は、前記導体ケースの外側の前記内周縁に形成されている一方、
前記凸状部は、前記導体ケースの外側の前記外周縁に形成されている
ことを特徴とする請求項3記載の遮断器のリンク機構。
【請求項5】
前記嵌合後に前記取付孔を閉塞する導体カバーを備える
ことを特徴とする請求項4記載の遮断器のリンク機構。
【請求項6】
前記導体カバーと前記導体ケースとの間をシールする部材を設けたことを特徴とする請求項5記載の遮断器のリンク機構。
【請求項7】
絶縁ガスが充填された接地タンクと、
前記接地タンク内に配置された一対の真空インタラプタと、
前記各真空インタラプタの開閉を操作する絶縁操作棒と、
前記絶縁操作棒の操作に応じて前記各真空インタラプタを開閉動作させる請求項1~6のいずれかに記載された前記リンク機構と、
を備えることを特徴とする真空遮断器。
発明の詳細な説明
【技術分野】
【0001】
本発明は、2点切りの真空遮断器の技術に関する。
続きを表示(約 1,200 文字)
【背景技術】
【0002】
近年、真空遮断器の高電圧化・大容量化に対して真空インタラプタを2点直列に接続し、耐電圧性の向上を向上させたタイプが提案されている(特許文献1,2参照)。このタイプは、2点切りの真空遮断器と呼ばれ、遮断器にかかる電圧が各真空インタラプタに分担される。
【0003】
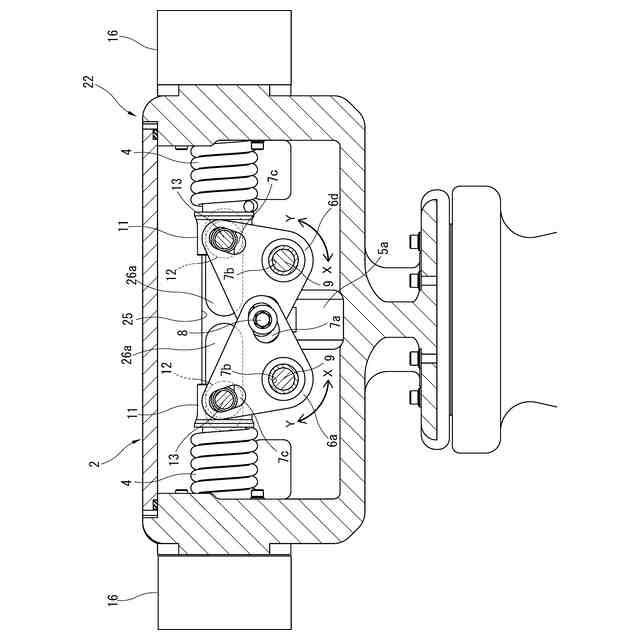
2点切りの真空遮断器は、接地タンク内に各真空インタラプタが配置され、各真空インタラプタの開閉による遮断動作を行わせるリンク機構を備えている。図8に基づき説明すれば、リンク機構1は各真空インタラプタ16間の導電経路を構成する導体ケース2と、導体ケース2内に収容された一対のリンク部6とを備えている。
【0004】
各真空インタラプタ16の可動リード3には、導体ケース2内に配置される連結部材11が装着されている。この連結部材11と導体ケース2との間にはバネ4が介装され、バネ4により可動リード3が付勢されている。
【0005】
導体ケース2内には絶縁操作棒の上端部5aが挿通され、各リンク部6は絶縁操作棒の上下動に応じて動作する一対のリンク部6を備えている。この各リンク部6は、相似の略三角形状に形成されたリンク6a,6bを備えている。
【0006】
リンク6a,6bは、軸部8を介して絶縁操作棒の上端部5aに回動自在に連結され、軸部9を介して導体ケース2の側壁2aに回動自在に軸支され、軸部13を介して連結部材11と回動自在に連結されている。この軸部13の両端部には円筒状に形成された鉄製の転動部材(コロ)12が装着され、各転動部材12は対向する側壁2aの上部に形成された一対のガイド孔10内にそれぞれ転動自在に収容されている。
【先行技術文献】
【特許文献】
【0007】
特開2007-188734
特開2016-127744
【発明の概要】
【発明が解決しようとする課題】
【0008】
図8の構成によれば、投入動作時に絶縁操作棒が上方に押し上げられると、リンク6a,6bがX方向に回動するため、可動リード3が押し出されて可動電極が固定電極に接触し、回路を閉路する。
【0009】
一方、遮断動作時に絶縁操作棒が下方に拘引されると、リンク6a,6bが矢印Y方向に回動するため、可動リード3が引き寄せられて可動電極が固定電極から離間し、回路を開いて電流を遮断する。
【0010】
このような開閉動作の際に転導部材12が、導体ケース2の側壁2aに形成されたガイド孔10の内周を転動する。ところが、導体ケース2は通電経路なため高導電率の材質が用いられ、ガイド孔10の内周は許容面圧が低い。
(【0011】以降は省略されています)
この特許をJ-PlatPat(特許庁公式サイト)で参照する
関連特許
株式会社明電舎
回転機
25日前
株式会社明電舎
回転電機
1か月前
株式会社明電舎
回転電機
1か月前
株式会社明電舎
ドローン
28日前
株式会社明電舎
電力変換装置
1か月前
株式会社明電舎
電力変換装置
1か月前
株式会社明電舎
車両固定装置
25日前
株式会社明電舎
車両固定装置
25日前
株式会社明電舎
電力系統システム
28日前
株式会社明電舎
センサ固定用治具
26日前
株式会社明電舎
電流制御システム
12日前
株式会社明電舎
ロータ及び回転機
25日前
株式会社明電舎
オゾン水の生成装置
25日前
株式会社明電舎
オゾン水の生成装置
25日前
株式会社明電舎
オゾン水の生成装置
25日前
株式会社明電舎
遮断器のリンク機構、遮断器
26日前
株式会社明電舎
電極構造,真空インタラプタ
1か月前
株式会社明電舎
不良検知装置及び不良検知方法
28日前
株式会社明電舎
ロータ、回転電機及び車両駆動用装置
18日前
株式会社明電舎
半導体モジュールおよび電力変換装置
1か月前
株式会社明電舎
架線位置計測装置及び架線位置計測方法
1か月前
株式会社明電舎
水冷式回転機のフレーム、及びその製造方法
26日前
株式会社明電舎
目標車速パターンデータ生成方法及び試験方法
28日前
株式会社明電舎
電力変換装置および電力変換装置のゲート指令生成方法
25日前
株式会社明電舎
出力調整機構、電界放射装置及び電界放射装置の出力制御方法
25日前
株式会社明電舎
絶縁型DC/DC変換器および絶縁型DC/DC変換器の制御方法
1か月前
国立大学法人長岡技術科学大学
グリッドフォーミングインバータの制御装置および制御方法
28日前
APB株式会社
蓄電セル
3日前
東ソー株式会社
絶縁電線
5日前
個人
フレキシブル電気化学素子
17日前
日新イオン機器株式会社
イオン源
13日前
ローム株式会社
半導体装置
26日前
ローム株式会社
半導体装置
26日前
ローム株式会社
半導体装置
24日前
株式会社ユーシン
操作装置
17日前
ローム株式会社
半導体装置
4日前
続きを見る
他の特許を見る