TOP
|
特許
|
意匠
|
商標
特許ウォッチ
Twitter
他の特許を見る
公開番号
2025143785
公報種別
公開特許公報(A)
公開日
2025-10-02
出願番号
2024043218
出願日
2024-03-19
発明の名称
回転機
出願人
株式会社明電舎
代理人
個人
,
個人
,
個人
,
個人
主分類
H02K
9/19 20060101AFI20250925BHJP(電力の発電,変換,配電)
要約
【課題】回転機の冷却構造を改善する。
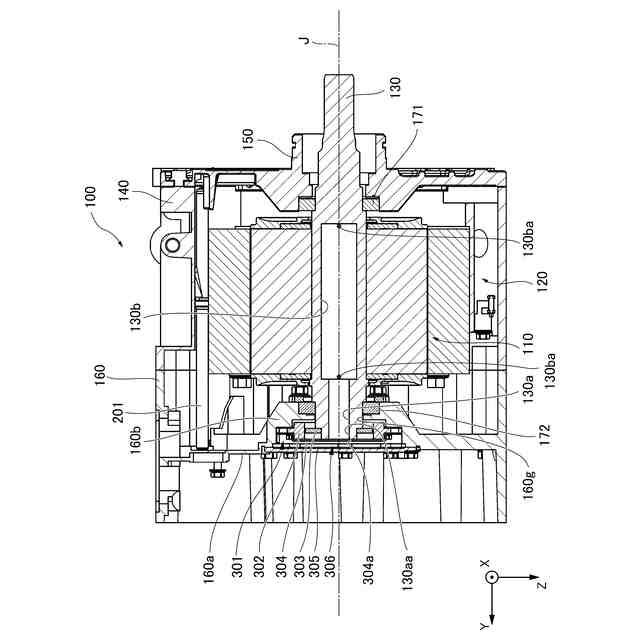
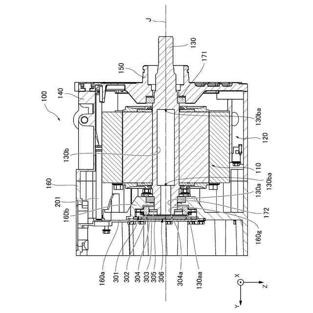
【解決手段】ステータと、ロータと、回転軸であるシャフトと、前記ロータの回転角度を測定するレゾルバと、前記レゾルバを収容するレゾルバ室と、冷媒を前記レゾルバ室に導くガイド部と、前記ステータ及び前記ロータを収容するフレームと、前記フレームの軸方向一方側に配置されたブラケットと、を有し、前記シャフトは、軸方向一方側に開口する開口部から軸方向他方側に延びる中空部と、前記中空部から径方向外側に前記シャフトを貫通する冷媒油路と、を有し、前記開口部は、前記レゾルバ室と連通し、前記シャフトの軸方向一方側端部は、前記ブラケットを軸方向他方側から軸方向一方側へと貫通し、前記レゾルバ室は、前記レゾルバ室の軸方向一方側の開口はセンサカバーで塞がれ、前記ガイド部は、前記ブラケットを軸方向他方側から軸方向一方側に貫通する貫通孔を含む。
【選択図】図1
特許請求の範囲
【請求項1】
ステータと、
前記ステータとギャップを介して対向するロータと、
前記ロータに固定された回転軸であるシャフトと、
前記ロータの回転角度を測定するレゾルバと、
前記シャフトの軸方向一方側で前記レゾルバを収容するレゾルバ室と、
冷媒を前記レゾルバ室に導くガイド部と、
前記ステータ及び前記ロータを収容するフレームと、
前記フレームの軸方向一方側に配置されたブラケットと、
を有し、
前記シャフトは、軸方向一方側に開口する開口部から軸方向他方側に延びる中空部と、前記中空部から径方向外側に前記シャフトを貫通する冷媒油路と、を有し、
前記シャフトは、軸受を介して前記ブラケットに軸支され、
前記開口部は、前記レゾルバ室と連通し、
前記シャフトの軸方向一方側端部は、前記ブラケットを軸方向他方側から軸方向一方側へと貫通し、
前記レゾルバ室は、前記ブラケットの軸方向一方側の空間であって、前記レゾルバ室の軸方向一方側の開口はセンサカバーで塞がれ、
前記ガイド部は、前記ブラケットを軸方向他方側から軸方向一方側に貫通する貫通孔を含む、
ことを特徴とする回転機。
続きを表示(約 160 文字)
【請求項2】
前記ガイド部は、前記ブラケットに設けたリブにより形成された流路を含む、
ことを特徴とする請求項1に記載の回転機。
【請求項3】
冷媒は、前記軸受を介して、前記ブラケットの軸方向他方側から軸方向一方側に流れて前記レゾルバ室に導かれる、
ことを特徴とする請求項1に記載の回転機。
発明の詳細な説明
【技術分野】
【0001】
本発明は、回転機に関する。
続きを表示(約 1,300 文字)
【背景技術】
【0002】
従来、冷却構造を備えた回転機が知られている。特許文献1は、電動機の回転軸であるロータ軸の中空部を介して、電動機のロータを内側から冷却する構造を開示している。また、特許文献2は、回転電機の回転軸であるシャフトに設けられたシャフト油路を有する構造を開示している。
【先行技術文献】
【特許文献】
【0003】
特開2021-93869号公報
特許第6355750号公報
【発明の概要】
【発明が解決しようとする課題】
【0004】
しかしながら、従来はロータ軸やシャフトにオイルを供給するための油路が複雑であり配管等が別途必要であり、サイズの小型化の障害となり、また部品追加でコスト上昇してしまうという問題があった。このため、従来は、回転機の冷却構造に改善の余地があった。
【0005】
本発明は、回転機の冷却構造を改善することを目的とする。
【課題を解決するための手段】
【0006】
本発明の一態様に係る回転機は、ステータと、前記ステータとギャップを介して対向するロータと、前記ロータに固定された回転軸であるシャフトと、前記ロータの回転角度を測定するレゾルバと、前記シャフトの軸方向一方側で前記レゾルバを収容するレゾルバ室と、冷媒を前記レゾルバ室に導くガイド部と、前記ステータ及び前記ロータを収容するフレームと、前記フレームの軸方向一方側に配置されたブラケットと、を有し、前記シャフトは、軸方向一方側に開口する開口部から軸方向他方側に延びる中空部と、前記中空部から径方向外側に前記シャフトを貫通する冷媒油路と、を有し、前記シャフトは、軸受を介して前記ブラケットに軸支され、前記開口部は、前記レゾルバ室と連通し、前記シャフトの軸方向一方側端部は、前記ブラケットを軸方向他方側から軸方向一方側へと貫通し、前記レゾルバ室は、前記ブラケットの軸方向一方側の空間であって、前記レゾルバ室の軸方向一方側の開口はセンサカバーで塞がれ、前記ガイド部は、前記ブラケットを軸方向他方側から軸方向一方側に貫通する貫通孔を含む、ことを特徴とする。
【0007】
上記の一態様の回転機において、前記ガイド部は、前記ブラケットに設けたリブにより形成された流路を含む、ことを特徴とする。
【0008】
上記の一態様の回転機において、冷媒は、前記軸受を介して、前記ブラケットの軸方向他方側から軸方向一方側に流れて前記レゾルバ室に導かれる、ことを特徴とする。
【発明の効果】
【0009】
本発明の一態様によれば、回転機の冷却構造を改善することが出来る。
【図面の簡単な説明】
【0010】
本発明の第1実施形態に係るモータ100の側断面図である。
モータ100からフレーム140を取り外した状態を示す斜視図である。
ブラケット160を軸方向他方側から見た側面図である。
【発明を実施するための形態】
(【0011】以降は省略されています)
この特許をJ-PlatPat(特許庁公式サイト)で参照する
関連特許
株式会社明電舎
回転機
1日前
株式会社明電舎
回転電機
7日前
株式会社明電舎
ドローン
4日前
株式会社明電舎
回転電機
16日前
株式会社明電舎
回転電機
14日前
株式会社明電舎
負荷発生装置
1か月前
株式会社明電舎
電力変換装置
16日前
株式会社明電舎
電力変換装置
14日前
株式会社明電舎
車両固定装置
1日前
株式会社明電舎
電力変換装置
1か月前
株式会社明電舎
車両固定装置
1日前
株式会社明電舎
センサ固定用治具
2日前
株式会社明電舎
電力系統システム
4日前
株式会社明電舎
電力系統システム
23日前
株式会社明電舎
ロータ及び回転機
1日前
株式会社明電舎
オゾン水の生成装置
1日前
株式会社明電舎
オゾン水の生成装置
1日前
株式会社明電舎
オゾン水の生成装置
1日前
株式会社明電舎
電極構造,真空インタラプタ
14日前
株式会社明電舎
軸受及びそれを備えた回転機
1か月前
株式会社明電舎
電極構造,真空インタラプタ
1か月前
株式会社明電舎
遮断器のリンク機構、遮断器
2日前
株式会社明電舎
不良検知装置及び不良検知方法
4日前
株式会社明電舎
電流センサおよび電力変換装置
23日前
株式会社明電舎
異常検知システム及び異常検知方法
1か月前
株式会社明電舎
半導体モジュールおよび電力変換装置
8日前
株式会社明電舎
架線位置計測装置及び架線位置計測方法
8日前
株式会社明電舎
機械学習支援装置及び機械学習支援方法
1か月前
株式会社明電舎
水冷式回転機のフレーム、及びその製造方法
2日前
株式会社明電舎
目標車速パターンデータ生成方法及び試験方法
4日前
株式会社明電舎
電力変換装置および電力変換装置のゲート指令生成方法
1日前
株式会社明電舎
出力調整機構、電界放射装置及び電界放射装置の出力制御方法
1日前
株式会社明電舎
絶縁型DC/DC変換器および絶縁型DC/DC変換器の制御方法
7日前
株式会社明電舎
電極構造,真空インタラプタ
1か月前
株式会社明電舎
部分放電測定システムおよびその測定装置、部分放電測定方法、部分放電測定プログラム
23日前
株式会社明電舎
ガス絶縁開閉ユニット及びガス絶縁開閉装置
1か月前
続きを見る
他の特許を見る