TOP
|
特許
|
意匠
|
商標
特許ウォッチ
Twitter
他の特許を見る
公開番号
2025143813
公報種別
公開特許公報(A)
公開日
2025-10-02
出願番号
2024043255
出願日
2024-03-19
発明の名称
出力調整機構、電界放射装置及び電界放射装置の出力制御方法
出願人
株式会社明電舎
代理人
個人
,
個人
,
個人
,
個人
主分類
H01J
35/06 20060101AFI20250925BHJP(基本的電気素子)
要約
【課題】単一の高圧電源により電界放射装置の出力特性を任意に制御できる出力調整機構、電界放射装置とその制御方法の提供。
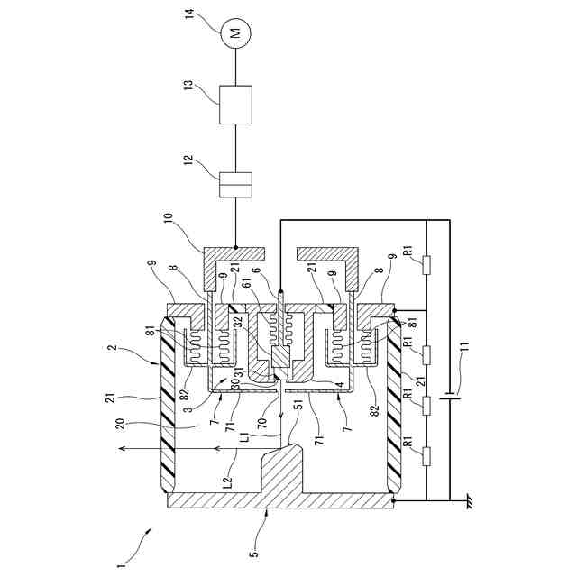
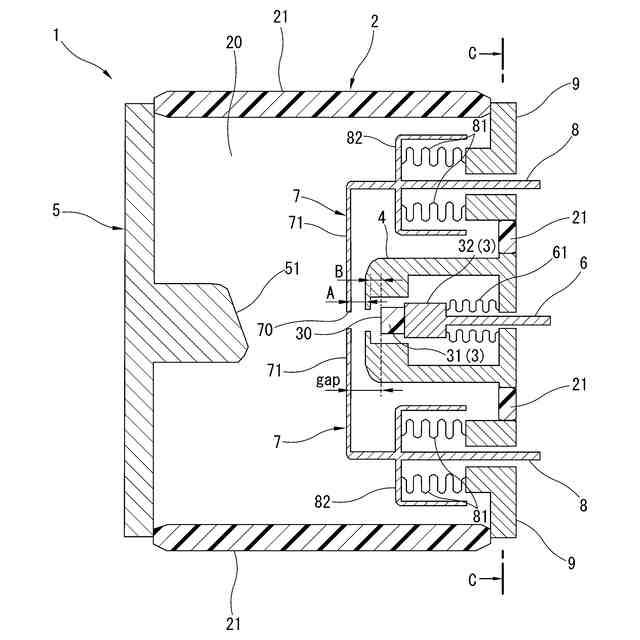
【解決手段】電界放射装置1は、真空容器2内でエミッタ31を支持するエミッタユニット3と、真空容器2内でエミッタ31と離接可能にエミッタ31の外周に設けられるガード電極4と、真空容器2内でエミッタ31と対向するターゲット51を備えたターゲットユニット5と、エミッタユニット3とターゲット51の間に配置されるグリッド電極7と、このグリッド電極7の電極本体部71からエミッタユニット3の方向に延出してグリッド電極7を前記軸方向に往復動可能に支持するグリッド電極支持体8と、このグリッド電極支持体8を前記軸方向に往復動可能に保持する支持体保持部10を有する。
【選択図】図1
特許請求の範囲
【請求項1】
真空容器にてエミッタを支持するエミッタユニットと、
前記真空容器にて前記エミッタと対向するターゲットを備えたターゲットユニットと、
前記真空容器にて前記エミッタと離接可能に当該エミッタの外周に設けられるガード電極と、
前記エミッタユニットと前記ターゲットの間に配置されるグリッド電極と、
このグリッド電極の電極本体部から前記エミッタユニットの方向に延出して当該グリッド電極を前記真空容器の軸方向に往復動可能に支持するグリッド電極支持体と、
このグリッド電極支持体を前記軸方向に往復動可能に保持する支持体保持部と、
を有することを特徴とする出力調整機構。
続きを表示(約 820 文字)
【請求項2】
前記グリッド電極支持体が挿通されるベローズを介して前記グリッド電極と電気的に接続されて前記真空容器の一端側を封止するグリッド電極フランジをさらに有し、
前記グリッド電極フランジには、前記ガード電極が挿入されて密閉される挿入孔と、
前記グリッド電極支持体が挿通される挿通孔が形成されたこと
を特徴とする請求項1に記載の出力調整機構。
【請求項3】
前記グリッド電極支持体は、前記ベローズの一端側の外周面を遮蔽する遮蔽部をさらに備えることを特徴とする請求項2に記載の出力調整機構。
【請求項4】
前記支持体保持部は、管電流を増加させる際に前記グリッド電極と前記ガード電極との間の距離が縮小するように、当該管電流を減少させる際に当該距離が拡大するように、前記グリッド電極支持体を動作させることを特徴とする請求項1に記載の出力調整機構。
【請求項5】
前記エミッタユニットと前記ターゲットユニットの間に接続される単一の電源と、
前記エミッタユニットと前記グリッド電極の間及び前記ターゲットユニットと前記グリッド電極の間に接続される抵抗と、
をさらに備えたことを特徴とする請求項1に記載の出力調整機構。
【請求項6】
前記エミッタユニットを前記軸方向に往復動可能に支持するエミッタユニット支持体をさらに備えたことを特徴とする請求項1に記載の出力調整機構。
【請求項7】
請求項1に記載の出力調整機構を備えたことを特徴する電界放射装置。
【請求項8】
請求項1に記載の出力調整機構を備えた電界放射装置の出力制御方法であって、前記支持体保持部は前記グリッド電極支持体を動作させることで前記グリッド電極と前記ガード電極との間の距離を調整して管電流を制御することを特徴とする電界放射装置の出力制御方法。
発明の詳細な説明
【技術分野】
【0001】
本発明はX線装置,電子管,照明装置等の種々の機器に適用される電界放射装置及び電界遮へい構造に関する。
続きを表示(約 1,400 文字)
【背景技術】
【0002】
X線装置,電子管,照明装置等の種々の機器に適用される電界放射装置の一例としては、真空容器の真空室において互いに対向した方向に位置するエミッタとターゲットとの間に電圧印加し、エミッタから放出した電子線をターゲットに衝突させて所望の機能(例えばX線装置の場合はX線による透視分解能)を発揮する。
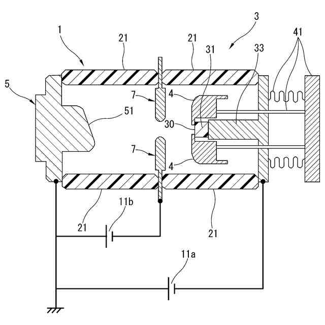
【0003】
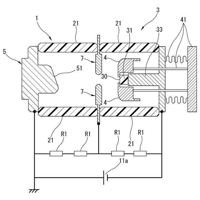
例えば、図4に示された特許文献1の電界放射装置1は、筒状の絶縁体21の一端,他端がエミッタユニット3,ターゲットユニット5により各々封止されて真空室20を成す真空容器2を備える。エミッタユニット3とターゲットユニット5との間には、真空室20の径方向に延在するグリッド電極7が設けられる。エミッタユニット3とターゲットユニット5には高圧電源11aが接続される。グリッド電極7とターゲットユニット5には高圧電源11bが接続される。
【0004】
エミッタユニット3は、ターゲットユニット5と対向する電子発生部30を有するエミッタ31と、このエミッタ31を真空室20内で支持して絶縁体21の一端を封止するエミッタ支持部33を備える。
【0005】
エミッタ31の電子発生部30の外周側にはガード電極4が設けられる。ガード電極4は、エミッタ31と離接可能にエミッタ31の外周側に設けられて真空室20の両端方向に延在した筒状を成す。そして、このガード電極4は、絶縁体21の一端側で真空容器2の軸方向に移動可能にガード電極支持部41により支持される。
【0006】
電界放射装置1において、閃絡現象の抑制を図るためのガード電極4等の改質処理は、ガード電極支持部41を操作し、ガード電極4をグリッド電極7側に移動させてエミッタ31の電界放射を抑制し、ガード電極4に電圧を印加して放電が繰り返して行われる。これにより、エミッタ31の電界放射を抑制しながらガード電極4等を改質処理でき、電界放射装置の特性の向上が図られる。
【先行技術文献】
【特許文献】
【0007】
特開2017-224399号公報
【発明の概要】
【発明が解決しようとする課題】
【0008】
電界放射装置1は、エミッタユニット3、ターゲットユニット5及びグリッド電極7の3つの電極を有するため、高圧電源が2つ必要になる。一般に、管電圧が大きいほど高圧電源は大きくなり、電界放射装置1と高圧電源を組み合わせたシステム全体が大きくなる。ここで、図5に示した複数の抵抗R1により分圧すれば単一の高圧電源11から電界放射装置1に電圧を印加できる。
【0009】
しかしながら、抵抗R1側の電圧は高圧電源11aの電圧で一意に決まるため、前記電界放射装置1の出力特性(例えば管電流)を任意に制御できない。ガード電極4と共にエミッタ31を可動させる前記出力特性を制御する方式も考えられるが可動構造やその制御も複雑となる。
【0010】
本発明は、以上の事情を鑑みなされたもので、単一の高圧電源により電界放射装置の出力特性を任意に制御できる出力調整機構、電界放射装置とその制御方法の提供を課題とする。
【課題を解決するための手段】
(【0011】以降は省略されています)
この特許をJ-PlatPat(特許庁公式サイト)で参照する
関連特許
株式会社明電舎
回転機
25日前
株式会社明電舎
成膜装置
今日
株式会社明電舎
回転電機
1か月前
株式会社明電舎
回転電機
1か月前
株式会社明電舎
回転電機
1か月前
株式会社明電舎
ドローン
28日前
株式会社明電舎
負荷発生装置
1か月前
株式会社明電舎
電力変換装置
1か月前
株式会社明電舎
電力変換装置
1か月前
株式会社明電舎
電力変換装置
2か月前
株式会社明電舎
車両固定装置
25日前
株式会社明電舎
車両固定装置
25日前
株式会社明電舎
電力系統システム
1か月前
株式会社明電舎
ロータ及び回転機
25日前
株式会社明電舎
電流制御システム
12日前
株式会社明電舎
電力系統システム
28日前
株式会社明電舎
センサ固定用治具
26日前
株式会社明電舎
オゾン水の生成装置
25日前
株式会社明電舎
オゾン水の生成装置
25日前
株式会社明電舎
オゾン水の生成装置
25日前
株式会社明電舎
軸受及びそれを備えた回転機
1か月前
株式会社明電舎
電極構造,真空インタラプタ
1か月前
株式会社明電舎
遮断器のリンク機構、遮断器
26日前
株式会社明電舎
電極構造,真空インタラプタ
1か月前
株式会社明電舎
不良検知装置及び不良検知方法
28日前
株式会社明電舎
電流センサおよび電力変換装置
1か月前
株式会社明電舎
異常検知システム及び異常検知方法
2か月前
株式会社明電舎
半導体モジュールおよび電力変換装置
1か月前
株式会社明電舎
ロータ、回転電機及び車両駆動用装置
18日前
株式会社明電舎
機械学習支援装置及び機械学習支援方法
1か月前
株式会社明電舎
架線位置計測装置及び架線位置計測方法
1か月前
株式会社明電舎
水冷式回転機のフレーム、及びその製造方法
26日前
株式会社明電舎
目標車速パターンデータ生成方法及び試験方法
28日前
株式会社明電舎
電力変換装置および電力変換装置のゲート指令生成方法
25日前
株式会社明電舎
出力調整機構、電界放射装置及び電界放射装置の出力制御方法
25日前
株式会社明電舎
絶縁型DC/DC変換器および絶縁型DC/DC変換器の制御方法
1か月前
続きを見る
他の特許を見る