TOP
|
特許
|
意匠
|
商標
特許ウォッチ
Twitter
他の特許を見る
公開番号
2025143815
公報種別
公開特許公報(A)
公開日
2025-10-02
出願番号
2024043257
出願日
2024-03-19
発明の名称
オゾン水の生成装置
出願人
株式会社明電舎
代理人
個人
,
個人
,
個人
,
個人
主分類
B01F
21/20 20220101AFI20250925BHJP(物理的または化学的方法または装置一般)
要約
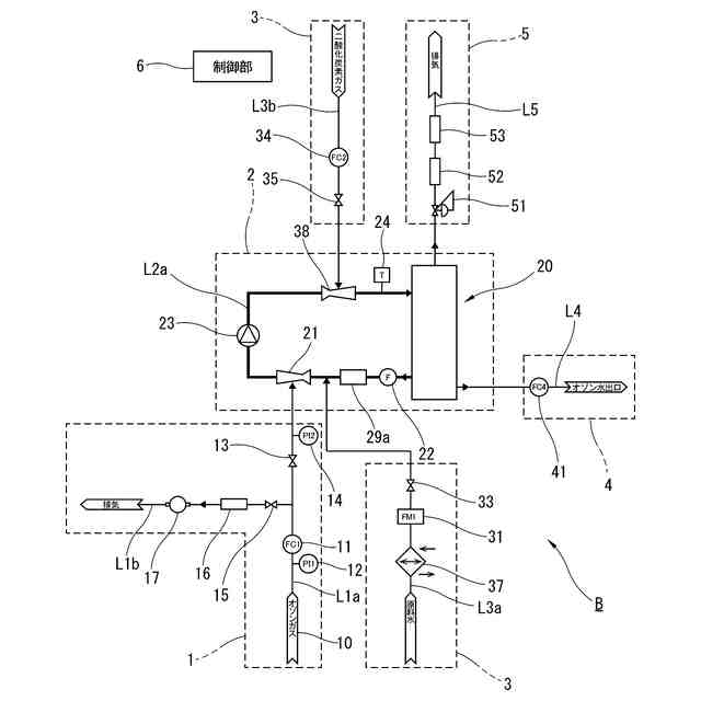
【課題】所望濃度のオゾン水(高濃度のオゾン水等)を生成し易くすることに貢献可能な技術を提供する。
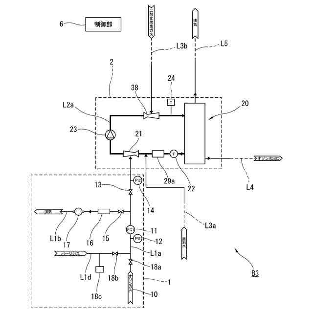
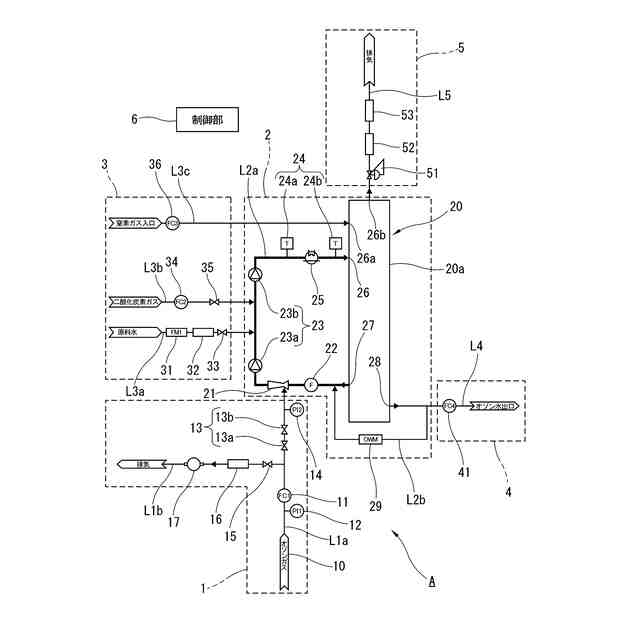
【解決手段】オゾンガスを供給可能なオゾンガス供給ラインL1aと、気液混合器21を介して供給されるオゾンガスを溶解可能な溶媒を循環する循環ラインL2aと、を備える。気液混合器21は、循環状態において溶媒が流通する溶媒流通路と、オゾンガス供給ラインL1aから供給されたオゾンガスを当該溶媒流通路に導入するオゾンガス導入路と、を有しているものとする。循環ラインL2aは、当該循環ラインL2aの外周側の少なくとも一部の領域Rが、断熱材によって包覆されている、または冷媒が循環可能な冷却ジャケットによって包覆されているものとする。
【選択図】図1
特許請求の範囲
【請求項1】
オゾンガスを供給可能なオゾンガス供給ラインと、
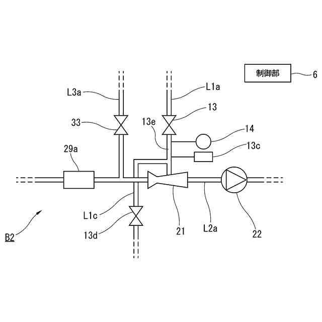
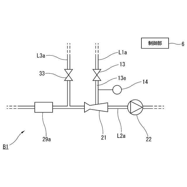
気液混合器を介して前記オゾンガスが供給され、当該オゾンガスを溶解可能な溶媒を循環する循環ラインと、
を備え、
前記気液混合器は、
前記溶媒が循環している循環状態において当該溶媒が流通する溶媒流通路と、
前記溶媒流通路に接続して設けられ、前記オゾンガス供給ラインから供給されたオゾンガスを当該溶媒流通路に導入するオゾンガス導入路と、
を有し、
前記循環ラインは、当該循環ラインの外周側の少なくとも一部が、断熱材によって包覆されていることを特徴とするオゾン水の生成装置。
続きを表示(約 590 文字)
【請求項2】
オゾンガスを供給可能なオゾンガス供給ラインと、
気液混合器を介して前記オゾンガスが供給され、当該オゾンガスを溶解可能な溶媒を循環する循環ラインと、
を備え、
前記気液混合器は、
前記溶媒が循環している循環状態において当該溶媒が流通する溶媒流通路と、
前記溶媒流通路に接続して設けられ、前記オゾンガス供給ラインから供給されたオゾンガスを当該溶媒流通路に導入するオゾンガス導入路と、
を有し、
前記循環ラインは、当該循環ラインの外周側の少なくとも一部が、冷媒が循環可能な冷却ジャケットによって包覆されていることを特徴とするオゾン水の生成装置。
【請求項3】
前記冷却ジャケットに循環させる前記冷媒の温度を制御可能な制御部を、更に備え、
前記制御部は、前記冷媒の温度を、前記循環状態における前記溶媒が凍結状態となる温度よりも高く、かつ摂氏零度以下となるように、制御することを特徴とする請求項2記載のオゾン水の生成装置。
【請求項4】
前記制御部は、前記循環状態における前記溶媒の温度を、当該循環状態における前記溶媒が凍結状態となる温度よりも高く、かつ前記冷却ジャケットの外周側の温度以下となるように、制御することを特徴とする請求項2記載のオゾン水の生成装置。
発明の詳細な説明
【技術分野】
【0001】
本発明は、オゾン水の生成装置に貢献可能な技術に関するものである。
続きを表示(約 1,400 文字)
【背景技術】
【0002】
オゾンを溶媒(例えば純水等の原料水)に溶解して得られるオゾン水は、強い酸化力を持つことから、例えば上水道や食品の殺菌などに利用されてきた。このようなオゾン水の利用は、オゾンが最終的には酸素に分解し易く、残留薬品等を残すことも無いため、環境に優しい手段として評価されている。
【0003】
近年、例えば精密電子部品(例えば半導体素子やFPD等のディスプレイ部品)等の各種工業部品を製造する際に行われている洗浄工程においても、オゾン水を利用する試みが進んでおり、当該オゾン水の高濃度化や工業的に安定供給すること等が、検討されている。
【0004】
特許文献1では、まずオゾンガスを冷却(濃縮)して得たオゾン水を再気化し、その再気化して得たオゾンガス(濃縮オゾンガス)を冷却式捕集器で捕集し、更に当該捕集物(液体オゾンまたは固体オゾン)を水に溶解してオゾン水を得る構成により、オゾン水を高濃度化することが開示されている。
【0005】
特許文献2では、原料水(例えば25℃以下(好ましくは5℃~20℃の原料水)に対しオゾンガスおよび炭酸ガスを同時に溶解して得た洗浄液を、45℃以上に加温した状態で基材上のレジスト膜(有機皮膜)に接触させる構成により、当該洗浄液のオゾン濃度を高濃度で維持し、レジスト膜を除去し易くすることが開示されている。
【0006】
特許文献3では、オゾンガス生成装置(特許文献3では、酸素ガスを原料とする装置)のオゾンガスと原料水とを気液混合器により混合してオゾン水を生成するものであって、当該オゾンガス生成装置と気液混合器との間にオリフィスを設けた構成により、オゾンガス生成装置側が負圧状態(すなわち常圧(約101.33kPa)未満の状態)になることを防止でき、オゾンガス溶解効率を高めることが開示されている。
【0007】
特許文献4では、オゾン水を循環するオゾン水循環ラインと、そのオゾン水循環ラインから排出される排オゾンガスと原料水とを接触させるオゾンガス接触機構(フッ素樹脂で形成された浸透膜)と、を有した構成により、当該排オゾンガスを有効利用して、オゾン水を高濃度化することが開示されている。
【0008】
特許文献5では、オゾンガス生成装置(特許文献5では、酸素ガスを原料とする装置)のオゾンガスと原料水とを気液混合器により混合してオゾン水を生成するものであって、当該原料水によって低濃度化し過ぎたオゾン水(特許文献5では符号34で示すタンク内のオゾン水)を当該気液混合器に通過させる構成により、オゾン水を高濃度化することが開示されている。
【0009】
非特許文献1では、オゾンが外的要因(例えば、電気的スパーク,分解を誘発するコンタミ等によるトリガ)により急激な自己分解反応を起こし得る場合に、当該自己分解反応を抑制する抑制剤としてCF
4
ガスを適用することが開示されている。
【0010】
特許文献1~5に示す構成によれば、ある程度のオゾン濃度(例えば100ppm程度)のオゾン水を生成できる可能性はあるが、比較的大きい酸化力を必要とする洗浄工程では、更なる高濃度(例えば半導体素子の洗浄工程では200ppm以上)のオゾン水が要求されるものと考えられる。
【先行技術文献】
【特許文献】
(【0011】以降は省略されています)
この特許をJ-PlatPat(特許庁公式サイト)で参照する
関連特許
株式会社明電舎
回転機
25日前
株式会社明電舎
成膜装置
今日
株式会社明電舎
回転電機
1か月前
株式会社明電舎
回転電機
1か月前
株式会社明電舎
回転電機
1か月前
株式会社明電舎
ドローン
28日前
株式会社明電舎
負荷発生装置
1か月前
株式会社明電舎
電力変換装置
1か月前
株式会社明電舎
電力変換装置
1か月前
株式会社明電舎
電力変換装置
2か月前
株式会社明電舎
車両固定装置
25日前
株式会社明電舎
車両固定装置
25日前
株式会社明電舎
電力系統システム
1か月前
株式会社明電舎
ロータ及び回転機
25日前
株式会社明電舎
電流制御システム
12日前
株式会社明電舎
電力系統システム
28日前
株式会社明電舎
センサ固定用治具
26日前
株式会社明電舎
オゾン水の生成装置
25日前
株式会社明電舎
オゾン水の生成装置
25日前
株式会社明電舎
オゾン水の生成装置
25日前
株式会社明電舎
軸受及びそれを備えた回転機
1か月前
株式会社明電舎
電極構造,真空インタラプタ
1か月前
株式会社明電舎
遮断器のリンク機構、遮断器
26日前
株式会社明電舎
電極構造,真空インタラプタ
1か月前
株式会社明電舎
不良検知装置及び不良検知方法
28日前
株式会社明電舎
電流センサおよび電力変換装置
1か月前
株式会社明電舎
異常検知システム及び異常検知方法
2か月前
株式会社明電舎
半導体モジュールおよび電力変換装置
1か月前
株式会社明電舎
ロータ、回転電機及び車両駆動用装置
18日前
株式会社明電舎
機械学習支援装置及び機械学習支援方法
1か月前
株式会社明電舎
架線位置計測装置及び架線位置計測方法
1か月前
株式会社明電舎
水冷式回転機のフレーム、及びその製造方法
26日前
株式会社明電舎
目標車速パターンデータ生成方法及び試験方法
28日前
株式会社明電舎
電力変換装置および電力変換装置のゲート指令生成方法
25日前
株式会社明電舎
出力調整機構、電界放射装置及び電界放射装置の出力制御方法
25日前
株式会社明電舎
絶縁型DC/DC変換器および絶縁型DC/DC変換器の制御方法
1か月前
続きを見る
他の特許を見る