TOP
|
特許
|
意匠
|
商標
特許ウォッチ
Twitter
他の特許を見る
10個以上の画像は省略されています。
公開番号
2025134610
公報種別
公開特許公報(A)
公開日
2025-09-17
出願番号
2024163236
出願日
2024-09-20
発明の名称
電力変換装置
出願人
株式会社明電舎
代理人
個人
,
個人
,
個人
,
個人
主分類
H02M
7/48 20070101AFI20250909BHJP(電力の発電,変換,配電)
要約
【課題】複数の半導体モジュールを冷却器で冷却する電力変換装置において、小型化、組立工数の削減、冷却効率の改善、高出力密度化を図る。
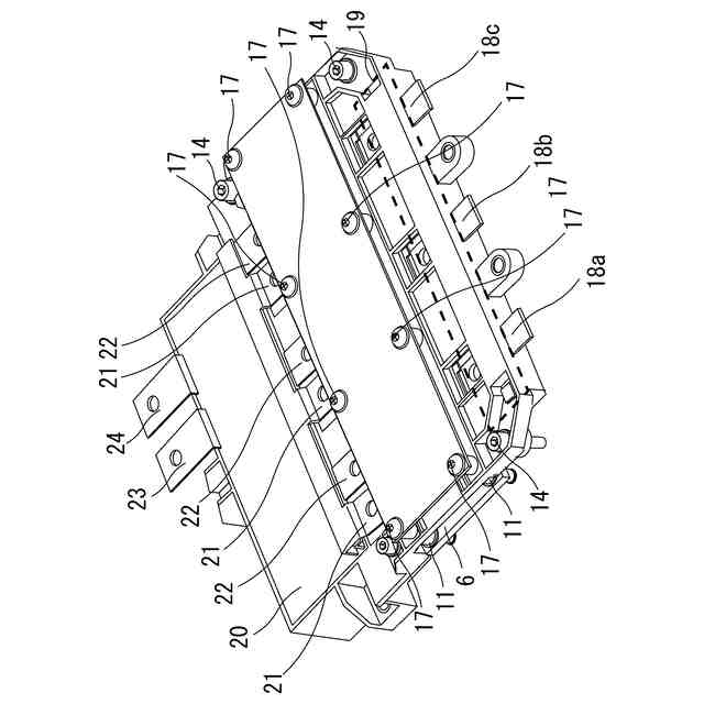
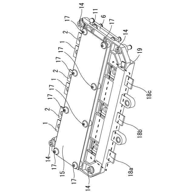
【解決手段】冷却器6は複数の半導体モジュール10a、10b、10cを冷却する。複数の半導体モジュール10a、10b、10cは冷却器6上に配置される。固定部材12は、半導体モジュール10a、10b、10cの冷却器6の反対側に配置され、複数の半導体モジュール10a、10b、10cを覆う。バネ部7a、7b、7cは、固定部材12の半導体モジュール10a、10b、10c側の面、かつ、半導体モジュール10a、10b、10cと重なる位置にインサート成型される。固定部材12は、バネ部7a、7b、7cと重なる箇所に開口部13a、13b、13cが形成される。冷却器6を電力変換装置の筐体に固定し、固定部材12を電力変換装置の筐体に固定する。
【選択図】図3
特許請求の範囲
【請求項1】
複数の半導体モジュールを冷却する冷却器と、
前記冷却器上に配置された複数の前記半導体モジュールと、
前記半導体モジュールの前記冷却器の反対側に配置され、複数の前記半導体モジュールを覆う固定部材と、
前記固定部材の前記半導体モジュール側の面、かつ、前記半導体モジュールと重なる位置にインサート成型されたバネ部と、
を備え、
前記固定部材は、前記バネ部と重なる箇所に開口部が形成され、
前記冷却器を電力変換装置の筐体に固定し、前記固定部材を前記電力変換装置の前記筐体に固定したことを特徴とする電力変換装置。
続きを表示(約 370 文字)
【請求項2】
前記固定部材に基板を固定する固定機構を設けたことを特徴とする請求項1記載の電力変換装置。
【請求項3】
前記固定部材は樹脂であることを特徴とする請求項1記載の電力変換装置。
【請求項4】
前記固定部材に、前記半導体モジュールの交流端子に接続される導体と、前記導体に流れる電流を検出する電流センサがインサート成型されたことを特徴とする請求項1記載の電力変換装置。
【請求項5】
前記固定部材に平滑コンデンサを固定する機構を設けたことを特徴とする請求項1記載の電力変換装置。
【請求項6】
前記平滑コンデンサの一方側の正極端子と一方側の負極端子は、前記半導体モジュールの正極端子および負極端子とネジまたは溶接で固定されたことを特徴とする請求項5記載の電力変換装置。
発明の詳細な説明
【技術分野】
【0001】
本願発明は、電力変換装置の半導体モジュールの固定技術に係り、特に、カード型タイプの半導体モジュールをヒートシンク(冷却器)に固定する技術に関する。
続きを表示(約 1,000 文字)
【背景技術】
【0002】
一般的なインバータは、直流入力側に平滑コンデンサが接続され、交流出力側に導体が接続され、その導体に電流センサを設けて電流検出を行い、インバータ制御を行う場合が多い。
【0003】
車載用などのインバータでは、従来平型タイプのピンフィン付き半導体モジュールが主に使われていた。今後は、従来平型タイプの半導体モジュールに加え、カード型タイプの半導体モジュールも普及していくと予想されている。
【0004】
カード型タイプの半導体モジュールは、図1に示すように高さ方向の寸法が低いモジュール形状をしており、半導体モジュール10の側面部から各端子(正極端子1、負極端子2、制御端子3、AC端子4)が突出している。
【0005】
このようなカード型タイプの半導体モジュールでは、半導体モジュールのベースプレートをヒートシンク(ピンフィン、くし形等)へ密着、固定させ、冷却する必要が有る。なお、バネ部品を用いて半導体モジュールをヒートシンクに固定する先行技術として、特許文献1が開示されている。
【先行技術文献】
【特許文献】
【0006】
特開2012-222069号公報
【発明の概要】
【発明が解決しようとする課題】
【0007】
バネ部品を用いてカード型タイプのパワー半導体をヒートシンクに密着させる構造として、特許文献1を応用した図2のような構成が考えられる。図2に示すように、バネ部品7a、7b、7cをヒートシンク6へボルト8で締結する。バネ部品7a、7b、7cからの押圧によって、半導体モジュール10a、10b、10cがヒートシンク6に圧接された状態で固定される。
【0008】
なお、図2の丸孔9を用いて、ヒートシンク6はインバータ回路全体を収容する筐体(ケース)にネジ固定される。
【0009】
この場合、各半導体モジュール10a、10b、10cに対して、それぞれバネ部品7a、7b、7cを配置する必要が有り、インバータを小型化、組立簡易化を行う上で課題となっている。
【0010】
また、バネ部品7a、7b、7cを固定するために、ヒートシンク6にボルト8受けの雌ネジ部が形成されてしまうため、ヒートシンク6が液冷式の場合は流路設計の最適化が妨げられ、冷媒の圧力損失が増加し、冷却性能の低下にもつながっていた。
(【0011】以降は省略されています)
この特許をJ-PlatPat(特許庁公式サイト)で参照する
関連特許
株式会社明電舎
回転機
8日前
株式会社明電舎
回転電機
21日前
株式会社明電舎
ドローン
11日前
株式会社明電舎
回転電機
14日前
株式会社明電舎
回転電機
23日前
株式会社明電舎
車両固定装置
8日前
株式会社明電舎
車両固定装置
8日前
株式会社明電舎
負荷発生装置
1か月前
株式会社明電舎
電力変換装置
21日前
株式会社明電舎
電力変換装置
23日前
株式会社明電舎
ロータ及び回転機
8日前
株式会社明電舎
電力系統システム
11日前
株式会社明電舎
電力系統システム
1か月前
株式会社明電舎
センサ固定用治具
9日前
株式会社明電舎
オゾン水の生成装置
8日前
株式会社明電舎
オゾン水の生成装置
8日前
株式会社明電舎
オゾン水の生成装置
8日前
株式会社明電舎
軸受及びそれを備えた回転機
1か月前
株式会社明電舎
電極構造,真空インタラプタ
21日前
株式会社明電舎
遮断器のリンク機構、遮断器
9日前
株式会社明電舎
電極構造,真空インタラプタ
1か月前
株式会社明電舎
電流センサおよび電力変換装置
1か月前
株式会社明電舎
不良検知装置及び不良検知方法
11日前
株式会社明電舎
ロータ、回転電機及び車両駆動用装置
1日前
株式会社明電舎
半導体モジュールおよび電力変換装置
15日前
株式会社明電舎
架線位置計測装置及び架線位置計測方法
15日前
株式会社明電舎
機械学習支援装置及び機械学習支援方法
1か月前
株式会社明電舎
水冷式回転機のフレーム、及びその製造方法
9日前
株式会社明電舎
目標車速パターンデータ生成方法及び試験方法
11日前
株式会社明電舎
電力変換装置および電力変換装置のゲート指令生成方法
8日前
株式会社明電舎
出力調整機構、電界放射装置及び電界放射装置の出力制御方法
8日前
株式会社明電舎
絶縁型DC/DC変換器および絶縁型DC/DC変換器の制御方法
14日前
株式会社明電舎
電極構造,真空インタラプタ
1か月前
株式会社明電舎
部分放電測定システムおよびその測定装置、部分放電測定方法、部分放電測定プログラム
1か月前
国立大学法人長岡技術科学大学
グリッドフォーミングインバータの制御装置および制御方法
11日前
株式会社FUJI
制御盤
11日前
続きを見る
他の特許を見る