TOP
|
特許
|
意匠
|
商標
特許ウォッチ
Twitter
他の特許を見る
公開番号
2025134233
公報種別
公開特許公報(A)
公開日
2025-09-17
出願番号
2024032006
出願日
2024-03-04
発明の名称
回転電機
出願人
株式会社明電舎
代理人
個人
,
個人
,
個人
,
個人
主分類
H02K
9/19 20060101AFI20250909BHJP(電力の発電,変換,配電)
要約
【課題】
小型化を容易にし、製造に必要なコストを減少させ、製造を容易にすることができる回転電機を提供すること。
【解決手段】
回転電機は、回転電機のコイルに電力を供給する回路の端子を保持する端子保持部材と、前記端子保持部材と一体に形成されており、前記回転電機を冷却する冷媒を一時的に貯留する貯留部を有し、前記貯留部の底に形成されている貫通穴から下方に前記冷媒を流す冷媒槽と、を備える。
【選択図】図2
特許請求の範囲
【請求項1】
回転電機のコイルに電力を供給する回路の端子を保持する端子保持部材と、
前記端子保持部材と一体に形成されており、前記回転電機を冷却する冷媒を一時的に貯留する貯留部を有し、前記貯留部の底に形成されている貫通穴から下方に前記冷媒を流す冷媒槽と、
を備える回転電機。
発明の詳細な説明
【技術分野】
【0001】
本発明は、回転電機に関する。
続きを表示(約 1,600 文字)
【背景技術】
【0002】
モータ、ジェネレータ等の回転電機は、駆動する際にコイルが発熱することにより効率的に駆動することが困難になることがある。このため、回転電機の内部を冷却する技術が開発されている。このような技術として、例えば、特許文献1に開示されている回転電機が挙げられる。この回転電機は、コイルエンド部の頂上部の周壁上に当該コイルエンド部を冷却するための冷却液を貯える冷却液槽を備える。この冷却液槽は、供給された冷却液を貯える冷却液貯留部と、当該冷却液貯留部に接続され、冷却液をコイルエンド部の頂上側からコイルエンド部の両側の周壁上に分配して供給する少なくとも二つの冷却液供給口とが設けられている。また、一般的に、回転電機は、コイルに電力を供給する回路の端子を保持する端子保持部材を備えている。
【先行技術文献】
【特許文献】
【0003】
特開2005-229672号公報
【発明の概要】
【発明が解決しようとする課題】
【0004】
しかし、上述した回転電機は、互いに独立している冷却液槽と端子保持部材とを備えている。このため、上述した回転電機は、冷却液槽を設置するための構造、部品等と、端子保持部材を設置するための構造、部品等との両方を必要とする。したがって、上述した回転電機は、小型化が困難になり、製造に必要なコストが増大し、製造が困難になってしまうことがある。
【0005】
そこで、本発明は、小型化を容易にし、製造に必要なコストを減少させ、製造を容易にすることができる回転電機を提供することを課題とする。
【課題を解決するための手段】
【0006】
上述した課題を解決するために、本発明の回転電機は、回転電機のコイルに電力を供給する回路の端子を保持する端子保持部材と、前記端子保持部材と一体に形成されており、前記回転電機を冷却する冷媒を一時的に貯留する貯留部を有し、前記貯留部の底に形成されている貫通穴から下方に前記冷媒を流す冷媒槽と、を備える。
【発明の効果】
【0007】
本発明によれば、小型化を容易にし、製造に必要なコストを減少させ、製造を容易にすることができる回転電機を提供することができる。
【図面の簡単な説明】
【0008】
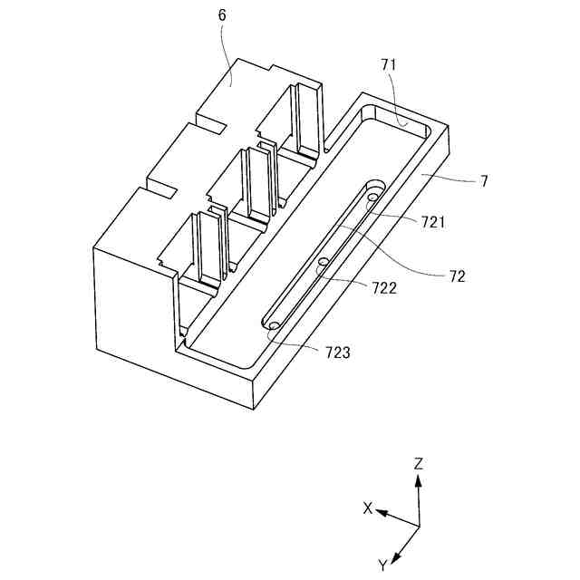
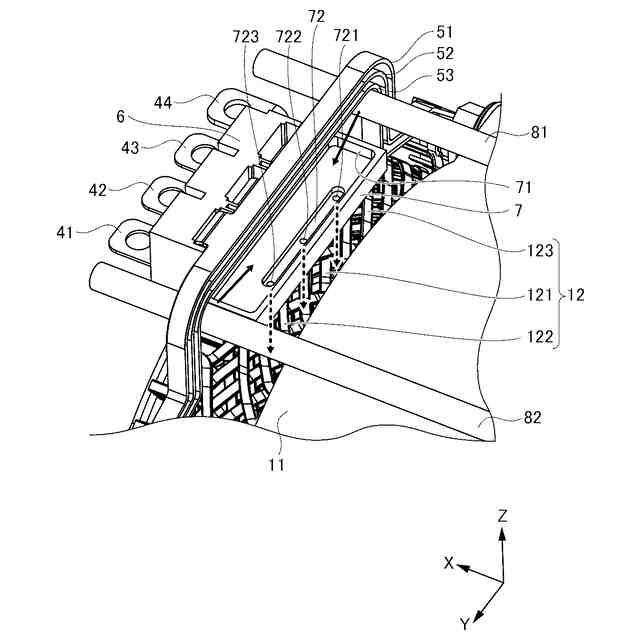
実施形態に係るモータのステータ、端子保持部材、冷媒槽、冷媒吐出管等の例を示す図である。
実施形態に係る冷媒槽、冷媒吐出管及びこれら二つの周囲の構造の例を示す図である。
実施形態に係る端子保持部材及び冷媒槽の例を示す図である。
【発明を実施するための形態】
【0009】
以下、本発明を実施するための形態について図面を参照しながら説明する。本実施形態では、回転電機として、モータを例に挙げて説明する。このモータは、例えば、電気自動車(Electric Vehicle)のホイールを回転させるために電気自動車に搭載される。また、本実施形態に関する説明では、後述するモータの回転軸Aに平行な軸であるX軸と、X軸に直交するY軸と、X軸及びY軸に直交するZ軸とを使用する。また、X軸、Y軸及びZ軸は、右手系を形成している。なお、Z軸は、重力が加わる方向と平行になっている。
【0010】
図1は、実施形態に係るモータのステータ、端子保持部材、冷媒槽、冷媒吐出管等の例を示す図である。図2は、実施形態に係る冷媒槽、冷媒吐出管及びこれら二つの周囲の構造の例を示す図である。実施形態に係るモータは、図1及び図2に示すように、ステータ1、端子41、端子42、端子43、端子44、バスバー51、バスバー52、バスバー53及びバスバー54を備える。また、モータは、図1及び図2に示すように、端子保持部材6、冷媒槽7、冷媒吐出管81及び冷媒吐出管82を備える。
(【0011】以降は省略されています)
この特許をJ-PlatPat(特許庁公式サイト)で参照する
関連特許
株式会社明電舎
回転機
1か月前
株式会社明電舎
ドローン
1か月前
株式会社明電舎
回転電機
2か月前
株式会社明電舎
成膜装置
23日前
株式会社明電舎
回転電機
2か月前
株式会社明電舎
回転電機
1か月前
株式会社明電舎
電力変換装置
2か月前
株式会社明電舎
電力変換装置
2か月前
株式会社明電舎
負荷制御装置
22日前
株式会社明電舎
負荷制御装置
22日前
株式会社明電舎
車両固定装置
1か月前
株式会社明電舎
負荷制御装置
22日前
株式会社明電舎
車両固定装置
1か月前
株式会社明電舎
電力系統システム
2か月前
株式会社明電舎
電流制御システム
1か月前
株式会社明電舎
センサ固定用治具
1か月前
株式会社明電舎
ロータ及び回転機
1か月前
株式会社明電舎
電力系統システム
1か月前
株式会社明電舎
オゾン水の生成装置
1か月前
株式会社明電舎
オゾン水の生成装置
1か月前
株式会社明電舎
オゾン水の生成装置
1か月前
株式会社明電舎
電極構造,真空インタラプタ
2か月前
株式会社明電舎
軸受及びそれを備えた回転機
2か月前
株式会社明電舎
遮断器のリンク機構、遮断器
1か月前
株式会社明電舎
不良検知装置及び不良検知方法
1か月前
株式会社明電舎
電流センサおよび電力変換装置
2か月前
株式会社明電舎
半導体モジュールおよび電力変換装置
1か月前
株式会社明電舎
ロータ、回転電機及び車両駆動用装置
1か月前
株式会社明電舎
架線位置計測装置及び架線位置計測方法
1か月前
株式会社明電舎
水冷式回転機のフレーム、及びその製造方法
1か月前
株式会社明電舎
目標車速パターンデータ生成方法及び試験方法
1か月前
株式会社明電舎
電力変換装置および電力変換装置のゲート指令生成方法
1か月前
株式会社明電舎
出力調整機構、電界放射装置及び電界放射装置の出力制御方法
1か月前
株式会社明電舎
絶縁型DC/DC変換器および絶縁型DC/DC変換器の制御方法
1か月前
株式会社明電舎
部分放電測定システムおよびその測定装置、部分放電測定方法、部分放電測定プログラム
2か月前
国立大学法人長岡技術科学大学
グリッドフォーミングインバータの制御装置および制御方法
1か月前
続きを見る
他の特許を見る