TOP
|
特許
|
意匠
|
商標
特許ウォッチ
Twitter
他の特許を見る
公開番号
2025128847
公報種別
公開特許公報(A)
公開日
2025-09-03
出願番号
2024025802
出願日
2024-02-22
発明の名称
軸受及びそれを備えた回転機
出願人
株式会社明電舎
代理人
個人
,
個人
,
個人
,
個人
主分類
F16C
35/067 20060101AFI20250827BHJP(機械要素または単位;機械または装置の効果的機能を生じ維持するための一般的手段)
要約
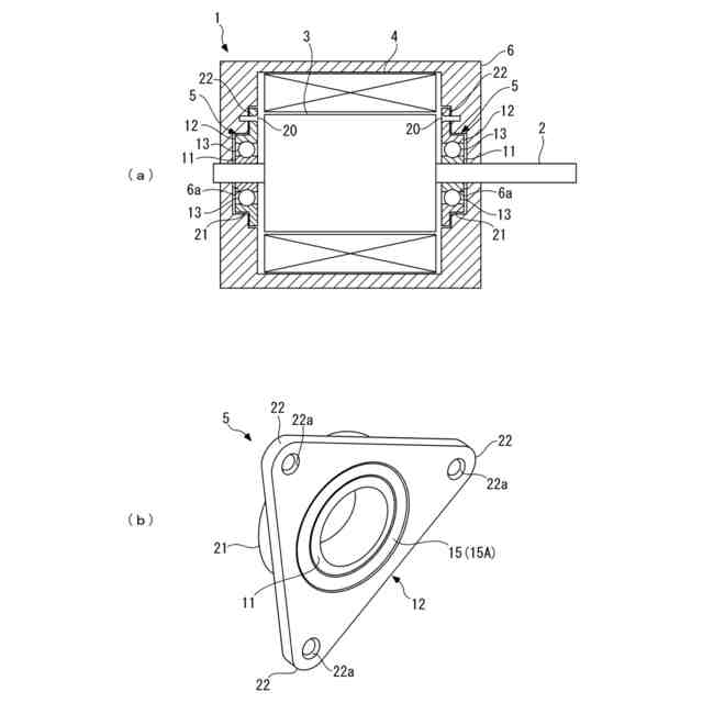
【課題】外輪のクリープの発生を防止できることで、予圧を適切に維持することができる軸受、及びその軸受を用いることで、ハウジングにおける軸線方向の外形寸法をコンパクトに構成することができる回転機を提供する。
【解決手段】リング状に形成された内輪11と、この内輪11の外周側に設けられ、内輪11に対して相対的に回転可能な外輪12と、を備えた軸受5であって、外輪12は、リング状に形成された外輪本体部21と、この外輪本体部21から径方向の外側に突出するように設けられ、軸受5が設置される軸受設置部6aに外輪12を固定するための外輪固定部22と、を有している。
【選択図】図1
特許請求の範囲
【請求項1】
リング状に形成された内輪と、この内輪の外周側に設けられ、当該内輪に対して相対的に回転可能な外輪と、を備えた軸受であって、
前記外輪は、リング状に形成された外輪本体部と、
この外輪本体部から径方向の外側に突出するように設けられ、前記軸受が設置される軸受設置部に前記外輪を固定するための外輪固定部と、
を有していることを特徴とする軸受。
続きを表示(約 610 文字)
【請求項2】
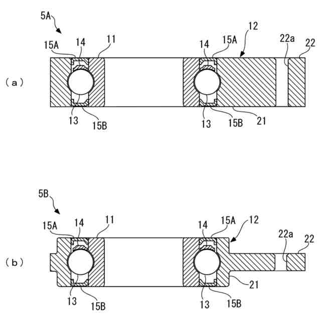
前記外輪固定部は、前記外輪本体部と一体に成形されていることを特徴とする請求項1に記載の軸受。
【請求項3】
前記外輪固定部は、前記外輪本体部の周方向に沿って配置された複数の外輪固定部で構成されていることを特徴とする請求項2に記載の軸受。
【請求項4】
前記複数の外輪固定部の各々は、前記外輪本体部と同じ厚さ、又は当該外輪本体部よりも薄い厚さを有するように構成されていることを特徴とする請求項3に記載の軸受。
【請求項5】
前記各外輪固定部には、厚さ方向に貫通し、前記軸受を前記軸受設置部に設置する際に前記外輪を前記軸受設置部に固定するためのボルトが挿通されるボルト孔が設けられていることを特徴とする請求項4に記載の軸受。
【請求項6】
前記各外輪固定部は、前記外輪本体部よりも薄い厚さを有し、当該外輪本体部の厚さ方向の一方の端部、又は厚さ方向の中央部に設けられていることを特徴とする請求項5に記載の軸受。
【請求項7】
回転軸を有する回転機であって、
前記回転軸が、請求項1~6のいずれかに記載の軸受によって回転自在に支持されていることを特徴とする回転機。
【請求項8】
前記軸受は、前記外輪固定部を介して、前記回転機のハウジングに固定されていることを特徴とする請求項7に記載の回転機。
発明の詳細な説明
【技術分野】
【0001】
本発明は、回転軸を有する各種の機器に適用され、その回転軸を回転自在に支持する軸受及びそれを備えた回転機に関する。
続きを表示(約 2,000 文字)
【背景技術】
【0002】
従来、モータに適用され、そのシャフトを回転自在に支持する軸受として、例えば特許文献1に記載されたものが知られている。このモータは、シャフトが貫通したロータを間にした状態で、互いにシャフトの軸線方向に所定距離を隔てて配置された一対のボールベアリング(以下、本欄において「ベアリング」という)を備えている。各ベアリングは、モータハウジングの両端部にそれぞれ設けられた一対のエンドブラケットの嵌合孔に嵌合されている。また、各エンドブラケットの嵌合孔には、ベアリングが嵌合された状態で、リング状の抜止め金具が取り付けられている。この抜止め金具は、ベアリングの外輪とほぼ同じ外径及び内径を有するリング部と、リング部の外周部に沿って、径方向外側に突出する複数の係止片とを有している。そして、抜止め金具がエンドブラケットの嵌合孔に取り付けられた際には、リング部が外輪の側面に当接するとともに、各係止片が嵌合孔の内周面に食い込んだ状態で固定されるようになっている。
【0003】
また、ベアリングの他の取付け方法として、ウチコフタを用いたものがある。このウチコフタは、ベアリングよりも大きい外径を有するリング状に形成されており、外周部に複数の取付孔が設けられている。そして、ベアリングが嵌合孔に嵌合された状態において、ウチコフタは、ベアリングの外輪の側面を覆った状態でこれに当接し、各取付孔にそれぞれ挿通された複数のねじによって、エンドブラケットにねじ止めされるようになっている。
【0004】
上記特許文献1の抜止め金具やウチコフタを用いたモータでは、ベアリングが嵌合孔に嵌合されるとともに、ベアリングの外輪の両側面が、エンドブラケットの壁部と、抜止め金具やウチコフタとによって挟持されることにより、ベアリングがエンドブラケットの嵌合孔に強固に取り付けられている。
【先行技術文献】
【特許文献】
【0005】
特開2010-57356号公報
【発明の概要】
【発明が解決しようとする課題】
【0006】
しかし、ベアリングの外輪と、モータのハウジング(エンドブラケット)の材質が互いに異なることで、それらの線膨張係数が互いに異なる場合には、モータの回転時における温度上昇に起因して、ベアリングの外輪とハウジングの嵌合孔の内周面との間に隙間が生じることがある。その場合には、モータの回転時において、ベアリングの外輪が、その周方向に回転するクリープが発生することがある。このようなクリープが発生すると、ハウジングにおける嵌合孔の内周面や外輪の側面が当接する壁部が摩耗し、それにより、ベアリングに対して軸線方向に作用させる予圧を適切に維持することができなくなるおそれがある。
【0007】
また、上記の抜止め金具を用いる場合には、抜止め金具自体を嵌合孔に圧入する必要があり、その分、ベアリングが嵌合する嵌合孔を長くする必要がある。一方、ウチコフタを用いる場合には、ウチコフタを設置する分、ハウジング内にウチコフタ自体の厚さ分のスペースが必要になる。したがって、抜止め金具やウチコフタを用いる場合には、モータのハウジングにおける軸線方向の外形寸法が大きくなってしまう。
【0008】
本発明は、以上のような課題を解決するためになされたものであり、外輪のクリープの発生を防止できることで、予圧を適切に維持することができる軸受、及びその軸受を用いることで、ハウジングにおける軸線方向の外形寸法をコンパクトに構成することができる回転機を提供することを目的とする。
【課題を解決するための手段】
【0009】
上記の目的を達成するために、請求項1に係る発明は、リング状に形成された内輪と、この内輪の外周側に設けられ、内輪に対して相対的に回転可能な外輪と、を備えた軸受であって、外輪は、リング状に形成された外輪本体部と、この外輪本体部から径方向の外側に突出するように設けられ、軸受が設置される軸受設置部に外輪を固定するための外輪固定部と、を有していることを特徴とする。
【0010】
この構成によれば、軸受は、上記の内輪及び外輪を備えており、外輪が、リング状に形成された外輪本体部と、外輪を固定するための外輪固定部とを有している。外輪固定部は、外輪本体部から径方向の外側に突出するように設けられているので、外輪固定部を介して外輪が軸受設置部に固定されることにより、外輪が周方向に不動の状態で、軸受を軸受設置部に設置することができる。これにより、上記構成の軸受で支持された回転軸が内輪と一体に回転する場合でも、外輪が周方向に回転するクリープの発生を防止することができ、それにより、軸受に対する予圧を適切に維持することができる。
(【0011】以降は省略されています)
この特許をJ-PlatPat(特許庁公式サイト)で参照する
関連特許
株式会社明電舎
回転機
27日前
株式会社明電舎
成膜装置
2日前
株式会社明電舎
回転電機
1か月前
株式会社明電舎
回転電機
1か月前
株式会社明電舎
ドローン
1か月前
株式会社明電舎
回転電機
1か月前
株式会社明電舎
負荷制御装置
1日前
株式会社明電舎
負荷制御装置
1日前
株式会社明電舎
車両固定装置
27日前
株式会社明電舎
車両固定装置
27日前
株式会社明電舎
電力変換装置
1か月前
株式会社明電舎
負荷制御装置
1日前
株式会社明電舎
電力変換装置
1か月前
株式会社明電舎
センサ固定用治具
28日前
株式会社明電舎
電力系統システム
1か月前
株式会社明電舎
ロータ及び回転機
27日前
株式会社明電舎
電流制御システム
14日前
株式会社明電舎
オゾン水の生成装置
27日前
株式会社明電舎
オゾン水の生成装置
27日前
株式会社明電舎
オゾン水の生成装置
27日前
株式会社明電舎
遮断器のリンク機構、遮断器
28日前
株式会社明電舎
電極構造,真空インタラプタ
1か月前
株式会社明電舎
電流センサおよび電力変換装置
1か月前
株式会社明電舎
不良検知装置及び不良検知方法
1か月前
株式会社明電舎
半導体モジュールおよび電力変換装置
1か月前
株式会社明電舎
ロータ、回転電機及び車両駆動用装置
20日前
株式会社明電舎
架線位置計測装置及び架線位置計測方法
1か月前
株式会社明電舎
水冷式回転機のフレーム、及びその製造方法
28日前
株式会社明電舎
目標車速パターンデータ生成方法及び試験方法
1か月前
株式会社明電舎
電力変換装置および電力変換装置のゲート指令生成方法
27日前
株式会社明電舎
出力調整機構、電界放射装置及び電界放射装置の出力制御方法
27日前
株式会社明電舎
絶縁型DC/DC変換器および絶縁型DC/DC変換器の制御方法
1か月前
株式会社明電舎
部分放電測定システムおよびその測定装置、部分放電測定方法、部分放電測定プログラム
1か月前
国立大学法人長岡技術科学大学
グリッドフォーミングインバータの制御装置および制御方法
1か月前
個人
留め具
15日前
個人
鍋虫ねじ
2か月前
続きを見る
他の特許を見る