TOP
|
特許
|
意匠
|
商標
特許ウォッチ
Twitter
他の特許を見る
10個以上の画像は省略されています。
公開番号
2025127502
公報種別
公開特許公報(A)
公開日
2025-09-02
出願番号
2024024211
出願日
2024-02-21
発明の名称
電極構造,真空インタラプタ
出願人
株式会社明電舎
代理人
個人
,
個人
,
個人
,
個人
主分類
H01H
33/664 20060101AFI20250826BHJP(基本的電気素子)
要約
【課題】コイル部等の抵抗損失の抑制と磁束密度の増大との両方に貢献し易くすることが可能な技術を提供する。
【解決手段】各電極2のコイル部3に、Z巻き方向で延在した形状の第1スリット孔31,第2スリット孔32を、コイル部3の周方向に交互に複数個形成する。接点部4には、軸心35側から径方向の外側に延在し当該径方向の外側に開口して第3スリット開口端部が形成されている第3スリット孔41を、周方向に複数個形成する。第3スリット孔41は、対向方向側から臨んだ状態で時計回り方向に湾曲した円弧形状とする。第3スリット孔41の第3スリット閉端部41bは、接点部4の軸心から径方向の外側に離反して位置させると共に、第1スリット開口端部31aに対向して位置させる。各電極2のうち一方における第3スリット開口端部41aと、当該各電極2のうち他方における第3スリット開口端部41aと、は軸心方向において互いに対向させる。
【選択図】図2
特許請求の範囲
【請求項1】
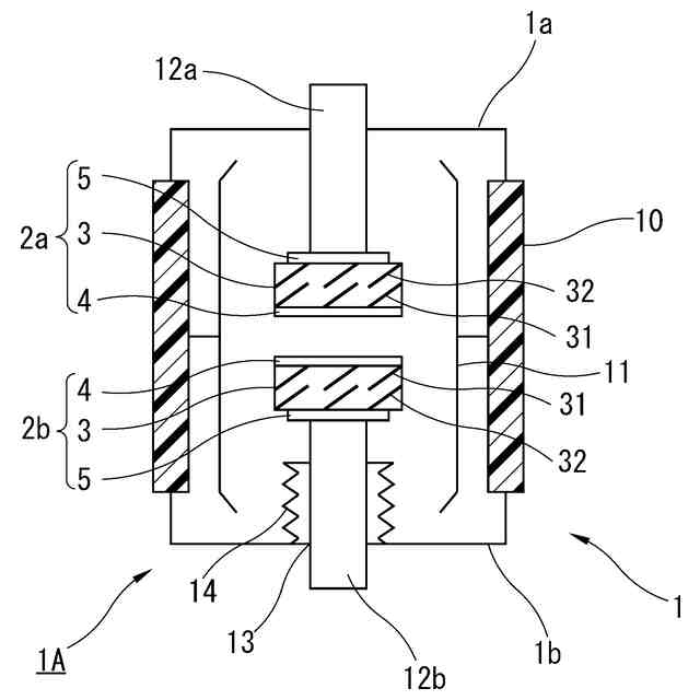
絶縁性の筒状本体を有して成る真空容器内において、当該筒状本体の軸心方向で互いに対向して接離自在に設けられている一対の電極と、
前記各電極をそれぞれ前記対向方向の反対側で支持している一対の通電軸と、
を備え、
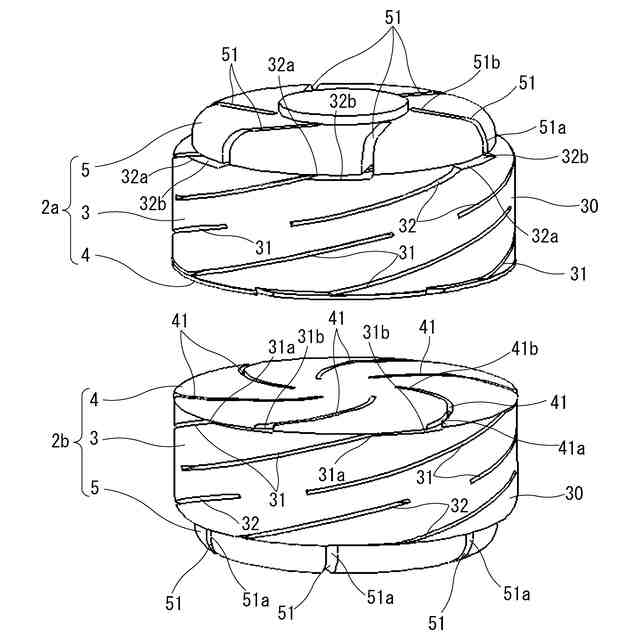
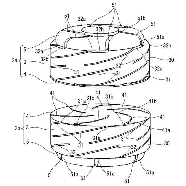
前記各電極は、
前記軸心方向に延在した筒状のコイル部と、
前記コイル部における前記対向方向側の開口部に設けられている接点部と、
前記コイル部における前記対向方向の反対側に設けられ、前記通電軸に支持されているアダプタ部と、
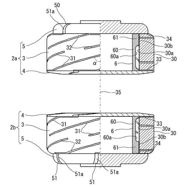
前記コイル部よりも小径の筒状であって、当該コイル部の内周側に同心状に配置されている補強部と、
を有し、
前記コイル部は、
当該コイル部の径方向に貫通した形状、および当該コイル部における前記軸心方向の中央部から前記対向方向に対しZ巻き方向で延在した形状であって、当該対向方向に開口して第1スリット開口端部が形成されている第1スリット孔と、
前記径方向に貫通した形状、および当該コイル部における前記軸心方向の中央部から前記対向方向の反対側に対しZ巻き方向で延在した形状であって、当該対向方向の反対側に開口して第2スリット開口端部が形成されている第2スリット孔と、
が当該コイル部の周方向に所定間隔を隔てて交互に複数個形成されており、
前記接点部は、
前記軸心方向に貫通した形状、および当該接点部の軸心側から前記径方向の外側に延在した形状であって、当該径方向の外側に開口して第3スリット開口端部が形成されている第3スリット孔が、前記周方向に所定間隔を隔てて複数個形成されており、
前記各第3スリット孔は、
前記対向方向側から臨んだ状態で時計回り方向に湾曲した円弧形状となっており、
当該第3スリット孔における前記第3スリット開口端部の反対側である第3スリット閉端部が、前記接点部の軸心から前記径方向の外側に離反して位置し、
当該第3スリット開口端部が、前記第1スリット開口端部に対向して位置し、
前記各電極のうち一方における前記第3スリット開口端部と、当該各電極のうち他方における前記第3スリット開口端部と、が前記軸心方向において互いに対向していることを特徴とする電極構造。
続きを表示(約 650 文字)
【請求項2】
前記各電極は、前記接点部の半径をR0、前記第3スリット孔の曲率半径をRs、当該接点部の軸心と前記第3スリット閉端部との間の距離をR1、当該接点部の軸心と当該第3スリット孔における曲率中心点との間の距離をR2とした場合に、下記(1),(2)式を満たすことを特徴とする請求項1記載の電極構造。
Rs>R0-R2 …(1)
|R1-R2|≧Rs>(R1+R2)×0.7 …(2)
【請求項3】
前記第1スリット開口端部の開口縁面は、前記径方向に貫通している形状の第1スリット溝が形成されていることを特徴とする請求項1記載の電極構造。
【請求項4】
前記アダプタ部は、
前記軸心方向に貫通した形状、および当該アダプタ部の軸心側から前記径方向の外側に延在した形状であって、当該径方向の外側に開口して第4スリット開口端部が形成されている第4スリット孔が、前記周方向に所定間隔を隔てて複数個形成されており、
前記第4スリット開口端部が、前記第2スリット開口端部に対向して位置している、
ことを特徴とする請求項1記載の電極構造。
【請求項5】
前記第2スリット開口端部の開口縁面は、前記径方向に貫通している形状の第2スリット溝が形成されていることを特徴とする請求項1記載の電極構造。
【請求項6】
請求項1~5の何れかに記載の電極構造を備えていることを特徴とする真空インタラプタ。
発明の詳細な説明
【技術分野】
【0001】
本発明は、電極構造,真空インタラプタに係るものであって、例えば種々の電力設備等に適用可能な技術に関するものである。
続きを表示(約 1,500 文字)
【背景技術】
【0002】
例えば種々の電力設備等に適用されている真空インタラプタの一例としては、絶縁性の筒状本体を有して成る真空容器内において、当該筒状本体の軸心方向(以下、単に軸心方向と適宜称する)に互いに対向(以下、当該対向する方向を、単に対向方向と適宜称する)した姿勢で接離自在となるように、一対の電極(固定電極,可動電極)を設けた構成が挙げられる。この真空容器には、各電極の背面側(対向方向の反対側)をそれぞれ支持するように、一対の通電軸(リード)が設けられている。また、各通電軸のうち一方(例えば後述の可動側通電軸12b)は、軸心方向に伸縮自在なベローズを介して、真空容器内側に支持されている。
【0003】
このような構成の真空インタラプタによれば、真空容器内(具体的には真空容器内におけるベローズの外周側)の真空状態を維持しながら、各通電軸のうち一方(可動側通電軸)を軸心方向に移動させることができる。これにより、当該通電軸の移動に応じて各電極を接離し、接点を開閉することが可能となる。
【0004】
各電極においては、所望の遮断性能を発揮し易くする等の目的で、磁界発生機能を持つように構成することが、一般的となっている。この構成の一例としては、軸心方向に延在した筒状のコイル部(磁界発生コイル部)と、当該コイル部における対向方向側(接点側)に設けられている接点部と、当該コイル部における背面側(対向方向の反対側)を通電軸に支持するアダプタ部と、を有した構成が挙げられる(例えば特許文献1~4)。
【0005】
このような構成の各電極を接離して接点を開閉する場合、当該電極に対して応力(例えば、軸心方向の慣性力や機械的衝撃力等)が加わることがある。コイル部や接点部等には、磁界発生機能を持つように複数個のスリット孔が設けられているため、電極の機械的強度等が低くなり易い。その結果、所望の電極特性(機械的特性,電気的特性等)を維持することが困難となることも考えられる。
【0006】
今後、真空インタラプタの高電圧化や大容量化等が図られると、接点の開閉速度が速くなり、その開閉に要する操作力も大きくなり得ることから、前記のような応力も大きくなってしまうおそれがある。
【0007】
そこで、コイル部の内周側に筒状の補強部を同心状に設ける等により、前記応力に耐え得るようにし、所望の電極特性を維持し易くすることが検討されている。
【先行技術文献】
【特許文献】
【0008】
特開2003-086068号公報
特開2003-086067号公報
特開2003-151413号公報
特開2018-181681号公報
【発明の概要】
【発明が解決しようとする課題】
【0009】
各電極のコイル部等は、例えば定格電流通電時の抵抗損失(発熱量)を抑制することが望ましい。しかしながら、前記のようにコイル部等にスリット孔を設けてしまうと、当該コイル部等の通電断面積が小さくなり易く、抵抗損失を抑制することが困難となるおそれがある。
【0010】
例えば、コイル部の径方向(以下、単に径方向と適宜称する)の肉厚寸法を大きくした場合には、当該コイル部の通電断面積も大きくなり、抵抗損失の抑制が容易になる可能性はある。しかしながら、各電極間に発生(電流遮断時に発生)し得る磁界の磁束密度(以下、単に磁束密度と適宜称する)が小さくなってしまい、所望の遮断性能が得られ難くなくなるおそれがある。
(【0011】以降は省略されています)
この特許をJ-PlatPat(特許庁公式サイト)で参照する
関連特許
株式会社明電舎
回転機
28日前
株式会社明電舎
回転電機
1か月前
株式会社明電舎
成膜装置
3日前
株式会社明電舎
回転電機
1か月前
株式会社明電舎
回転電機
1か月前
株式会社明電舎
ドローン
1か月前
株式会社明電舎
負荷制御装置
2日前
株式会社明電舎
負荷制御装置
2日前
株式会社明電舎
電力変換装置
1か月前
株式会社明電舎
電力変換装置
1か月前
株式会社明電舎
負荷制御装置
2日前
株式会社明電舎
負荷発生装置
1か月前
株式会社明電舎
車両固定装置
28日前
株式会社明電舎
車両固定装置
28日前
株式会社明電舎
ロータ及び回転機
28日前
株式会社明電舎
電力系統システム
1か月前
株式会社明電舎
電流制御システム
15日前
株式会社明電舎
センサ固定用治具
29日前
株式会社明電舎
電力系統システム
1か月前
株式会社明電舎
オゾン水の生成装置
28日前
株式会社明電舎
オゾン水の生成装置
28日前
株式会社明電舎
オゾン水の生成装置
28日前
株式会社明電舎
軸受及びそれを備えた回転機
1か月前
株式会社明電舎
電極構造,真空インタラプタ
1か月前
株式会社明電舎
電極構造,真空インタラプタ
1か月前
株式会社明電舎
遮断器のリンク機構、遮断器
29日前
株式会社明電舎
不良検知装置及び不良検知方法
1か月前
株式会社明電舎
電流センサおよび電力変換装置
1か月前
株式会社明電舎
ロータ、回転電機及び車両駆動用装置
21日前
株式会社明電舎
半導体モジュールおよび電力変換装置
1か月前
株式会社明電舎
機械学習支援装置及び機械学習支援方法
2か月前
株式会社明電舎
架線位置計測装置及び架線位置計測方法
1か月前
株式会社明電舎
水冷式回転機のフレーム、及びその製造方法
29日前
株式会社明電舎
目標車速パターンデータ生成方法及び試験方法
1か月前
株式会社明電舎
電力変換装置および電力変換装置のゲート指令生成方法
28日前
株式会社明電舎
出力調整機構、電界放射装置及び電界放射装置の出力制御方法
28日前
続きを見る
他の特許を見る