TOP
|
特許
|
意匠
|
商標
特許ウォッチ
Twitter
他の特許を見る
公開番号
2025126368
公報種別
公開特許公報(A)
公開日
2025-08-29
出願番号
2024022485
出願日
2024-02-19
発明の名称
機械学習支援装置及び機械学習支援方法
出願人
株式会社明電舎
代理人
園田・小林弁理士法人
主分類
G06Q
50/26 20240101AFI20250822BHJP(計算;計数)
要約
【課題】 機械学習に用いられる学習データを容易に収集し、AIモデルの精度を向上させること。
【解決手段】 機械学習支援装置は、仮想的な下水道施設が配置されたゲームマップにおいて、ゲーム状況を設定するゲーム制御部と、ゲーム状況に対してユーザが決定する運転設定であって前記下水道施設に備えられる設備の運転設定を含む設備情報を取得する取得部と、前記ゲームマップにおける天候、人口及び工業発展度の少なくとも1つの情報に基づいて、前記下水道施設へ流入する下水の水量及び水質を示す流入データを生成する流入データ生成部と、設備情報と流入データとに基づいて、前記下水道施設における水処理をシミュレーションするシミュレーション処理部と、前記設備情報と前記流入データとシミュレーション結果とを対応付けて機械学習に用いられる学習データを生成する生成部と、を有する。
【選択図】 図3
特許請求の範囲
【請求項1】
仮想的な下水道施設が配置されたゲームマップにおいて、ゲーム状況を設定するゲーム制御部と、
前記ゲーム制御部によって設定されたゲーム状況に対してユーザが決定する運転設定であって前記下水道施設に備えられる設備の運転設定を含む設備情報を取得する取得部と、
前記ゲームマップにおける天候、人口及び工業発展度の少なくとも1つの情報に基づいて、前記下水道施設へ流入する下水の水量及び水質を示す流入データを生成する流入データ生成部と、
前記取得部によって取得された設備情報と前記流入データ生成部によって生成された流入データとに基づいて、前記下水道施設における水処理をシミュレーションするシミュレーション処理部と、
前記設備情報と前記流入データと前記シミュレーション処理部によるシミュレーション結果とを対応付けて機械学習に用いられる学習データを生成する生成部と、
を有する機械学習支援装置。
続きを表示(約 760 文字)
【請求項2】
前記ゲーム制御部は、
前記シミュレーション処理部によるシミュレーション結果に基づいてゲーム状況を更新する
請求項1に記載の機械学習支援装置。
【請求項3】
前記シミュレーション処理部は、
前記下水道施設において水処理された処理水の水量及び水質をシミュレーション結果として導出する
請求項1に記載の機械学習支援装置。
【請求項4】
前記ゲーム制御部は、
前記ゲーム状況として、前記ゲームマップにおける都市の人口及び工業発展度を設定する
請求項1に記載の機械学習支援装置。
【請求項5】
前記取得部は、
前記ゲーム状況に対してユーザが決定する設備の配置であって前記下水道施設に備えられる設備の配置をさらに含む設備情報を取得する
請求項1に記載の機械学習支援装置。
【請求項6】
仮想的な下水道施設が配置されたゲームマップにおいて、ゲーム状況を設定することと、
設定されたゲーム状況に対してユーザが決定する運転設定であって前記下水道施設に備えられる設備の運転設定を含む設備情報を取得することと、
前記ゲームマップにおける天候、人口及び工業発展度の少なくとも1つの情報に基づいて、前記下水道施設へ流入する下水の水量及び水質を示す流入データを生成することと、
取得された設備情報と生成された流入データとに基づいて、前記下水道施設における水処理をシミュレーションすることと、
前記設備情報と前記流入データと前記シミュレーションのシミュレーション結果とを対応付けて機械学習に用いられる学習データを生成することと、
を有する機械学習支援方法。
発明の詳細な説明
【技術分野】
【0001】
本開示は、機械学習支援装置及び機械学習支援方法に関する。
続きを表示(約 1,700 文字)
【背景技術】
【0002】
近年、例えば下水処理場などの下水道施設においては、運転員の老齢化や減少に伴い、機器や設備の運転技術の継承が問題となっている。この問題への対策の1つとして、AI(Artificial Intelligence:人工知能)を用いる運転補助技術が検討されている。
【0003】
このような運転補助技術においては、例えば、天候や流入水量などの環境条件と、環境条件下における機器や設備の運転設定と、機器や設備によって処理された処理水の水質や水量などの処理水情報とを含む過去の蓄積データをAIに学習させる。そして、学習済みのAIモデルによって、入力される環境条件に対する適切な運転設定や予測される処理水情報が運転員に提示される。
【先行技術文献】
【特許文献】
【0004】
特開2022-39126号公報
特開2023-131390号公報
【発明の概要】
【発明が解決しようとする課題】
【0005】
しかしながら、AIを用いる運転補助技術においては、十分なデータをAIに学習させることが容易ではないという問題がある。具体的には、AIがAIモデルを生成するために学習するデータは、過去に実際に発生した環境条件及び運転設定であるため、例えば異常気象が発生した場合のような異常時のデータは学習されないか、学習されるとしても対象となるデータ量は少ない。この結果、学習済みのAIモデルの精度には一定の限界があり、異常気象発生時には、適切な運転設定や正確な処理水情報を提示することが困難である。
【0006】
また、下水道施設を構成する設備・機器群やそれらの適切な運転設定は、時代の要求や技術進歩に応じて変更されることがあり、同時に、求められる処理水情報も変化することがある。この点、AIが学習するデータが過去の運転設定及び処理水情報であるため、学習済みのAIモデルに最新の技術や知見に基づく運転設定及び処理水情報が反映されない恐れがある。
【0007】
さらに、下水道施設を構成する設備・機器群やそれらの適切な運転設定は、下水道施設が存在する地域の諸状況(人口、天候及び産業など)によって異なるため、ある地域において環境条件、運転設定及び処理水情報を学習するのみでは、他の地域において機能するAIモデルが生成されない可能性が高い。
【0008】
このように、AIに学習させるデータは、限られた条件の下に得られるデータとなる傾向があり、精度が高いAIモデルを得るのに十分なデータを学習させることが困難になっている。このため、様々な状況に応じた多様な学習データを容易に収集することが求められている。
【0009】
本開示は、上記に鑑みてなされたものであり、機械学習に用いられる学習データを容易に収集し、AIモデルの精度を向上させることができる機械学習支援装置及び機械学習支援方法を提供することを目的とする。
【課題を解決するための手段】
【0010】
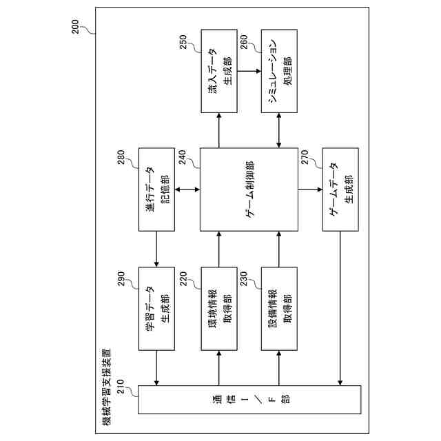
本開示の一態様によれば、機械学習支援装置は、仮想的な下水道施設が配置されたゲームマップにおいて、ゲーム状況を設定するゲーム制御部と、前記ゲーム制御部によって設定されたゲーム状況に対してユーザが決定する運転設定であって前記下水道施設に備えられる設備の運転設定を含む設備情報を取得する取得部と、前記ゲームマップにおける天候、人口及び工業発展度の少なくとも1つの情報に基づいて、前記下水道施設へ流入する下水の水量及び水質を示す流入データを生成する流入データ生成部と、前記取得部によって取得された設備情報と前記流入データ生成部によって生成された流入データとに基づいて、前記下水道施設における水処理をシミュレーションするシミュレーション処理部と、前記設備情報と前記流入データと前記シミュレーション処理部によるシミュレーション結果とを対応付けて機械学習に用いられる学習データを生成する生成部と、を有する。
(【0011】以降は省略されています)
この特許をJ-PlatPat(特許庁公式サイト)で参照する
関連特許
株式会社明電舎
回転機
1か月前
株式会社明電舎
成膜装置
24日前
株式会社明電舎
回転電機
2か月前
株式会社明電舎
回転電機
1か月前
株式会社明電舎
ドローン
1か月前
株式会社明電舎
負荷制御装置
23日前
株式会社明電舎
電力変換装置
2か月前
株式会社明電舎
負荷制御装置
23日前
株式会社明電舎
電力変換装置
2か月前
株式会社明電舎
負荷制御装置
23日前
株式会社明電舎
車両固定装置
1か月前
株式会社明電舎
車両固定装置
1か月前
株式会社明電舎
ロータ及び回転機
1か月前
株式会社明電舎
センサ固定用治具
1か月前
株式会社明電舎
電流制御システム
1か月前
株式会社明電舎
電力系統システム
1か月前
株式会社明電舎
オゾン水の生成装置
1か月前
株式会社明電舎
オゾン水の生成装置
1か月前
株式会社明電舎
オゾン水の生成装置
1か月前
株式会社明電舎
電極構造,真空インタラプタ
2か月前
株式会社明電舎
遮断器のリンク機構、遮断器
1か月前
株式会社明電舎
不良検知装置及び不良検知方法
1か月前
株式会社明電舎
ロータ、回転電機及び車両駆動用装置
1か月前
株式会社明電舎
半導体モジュールおよび電力変換装置
1か月前
株式会社明電舎
架線位置計測装置及び架線位置計測方法
1か月前
株式会社明電舎
水冷式回転機のフレーム、及びその製造方法
1か月前
株式会社明電舎
目標車速パターンデータ生成方法及び試験方法
1か月前
株式会社明電舎
電力変換装置および電力変換装置のゲート指令生成方法
1か月前
株式会社明電舎
出力調整機構、電界放射装置及び電界放射装置の出力制御方法
1か月前
株式会社明電舎
絶縁型DC/DC変換器および絶縁型DC/DC変換器の制御方法
1か月前
国立大学法人長岡技術科学大学
グリッドフォーミングインバータの制御装置および制御方法
1か月前
個人
詐欺保険
1か月前
個人
縁伊達ポイン
1か月前
個人
職業自動販売機
6日前
個人
RFタグシート
24日前
個人
5掛けポイント
13日前
続きを見る
他の特許を見る