TOP
|
特許
|
意匠
|
商標
特許ウォッチ
Twitter
他の特許を見る
公開番号
2025143097
公報種別
公開特許公報(A)
公開日
2025-10-01
出願番号
2024042839
出願日
2024-03-18
発明の名称
木製梁の接合構造
出願人
株式会社竹中工務店
,
株式会社スクリムテックジャパン
代理人
弁理士法人太陽国際特許事務所
主分類
E04B
1/30 20060101AFI20250924BHJP(建築物)
要約
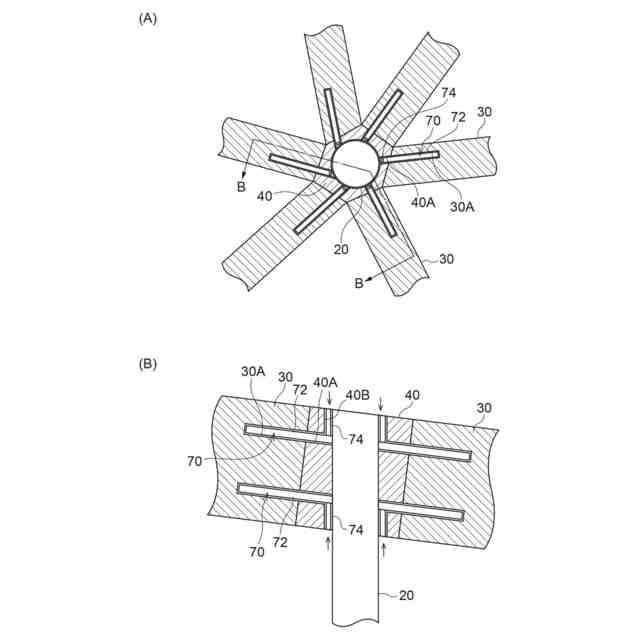
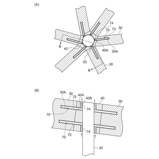
【課題】コネクタ同士の干渉を避け易い木製梁の接合構造を提供する
【解決手段】木製梁の接合構造は、複数の木製梁(梁30)と、複数の木製梁の交差部に配置され、側面がそれぞれの木製梁の端面と対向する鉄骨柱(柱20)と、木製梁の内部にそれぞれ埋設されると共に一端が鉄骨柱に固定された、木製梁と鉄骨柱とを接合するコネクタ70と、を備える。
【選択図】図3
特許請求の範囲
【請求項1】
複数の木製梁と、
前記複数の木製梁の交差部に配置され、側面がそれぞれの前記木製梁の端面と対向する鉄骨柱と、
前記木製梁の内部にそれぞれ埋設されると共に一端が前記鉄骨柱に固定された、前記木製梁と前記鉄骨柱とを接合するコネクタと、
を備えた、
木製梁の接合構造。
続きを表示(約 180 文字)
【請求項2】
前記コネクタは、
排出孔と注入孔とを備えた中空の管体であり、
前記木製梁には、前記コネクタが挿入される挿入孔が形成され、
前記注入孔から前記コネクタの内部へ注入されたグラウト材が、前記排出孔から排出されて前記コネクタの外周と前記挿入孔の内周壁との間に充填される、
請求項1に記載の木製梁の接合構造。
発明の詳細な説明
【技術分野】
【0001】
本発明は、木製梁の接合構造に関する。
続きを表示(約 1,200 文字)
【背景技術】
【0002】
下記特許文献1には、第1軸方向に沿う第1木製構造部材と、第2軸方向に沿う第2木製構造部材と、の接合構造が示されている。この接合構造においては、第1木製構造部材と第2木製構造部材との間に、PC製構造部材を配置している。また、PC製構造部材の両側の第1木製構造部材に亘って第1棒状材が埋設され、同様に、PC製構造部材の両側の第2木製構造部材に亘って第2棒状材が埋設されている。
【先行技術文献】
【特許文献】
【0003】
特開2022-62837号公報
【発明の概要】
【発明が解決しようとする課題】
【0004】
上記特許文献1に示されたように、互いに対向する木製構造部材に亘って棒状材などのコネクタを配置する場合、交差するコネクタの干渉を避ける必要がある。このため、木製構造部材及びPC製構造部材の断面寸法を、互いに交差するコネクタを重ねて配置できる大きさだけ確保する必要がある。このような場合、部材の断面寸法が過剰に大きくなる場合がある。また、木製構造部材が直線上に配置されない場合は、コネクタの配置が難しい。
【0005】
本発明は、上記事実を考慮し、コネクタ同士の干渉を避け易い木製梁の接合構造を提供することを目的とする。
【課題を解決するための手段】
【0006】
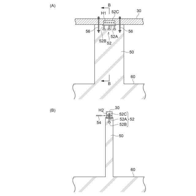
請求項1の木製梁の接合構造は、複数の木製梁と、前記複数の木製梁の交差部に配置され、側面がそれぞれの前記木製梁の端面と対向する鉄骨柱と、前記木製梁の内部にそれぞれ埋設されると共に一端が前記鉄骨柱に固定された、前記木製梁と前記鉄骨柱とを接合するコネクタと、を備えている。
【0007】
請求項1の木製梁の接合構造では、鉄骨柱にコネクタが固定されている。そして、コネクタはそれぞれの木製梁と鉄骨柱とを接合する。
【0008】
このため、対向する梁同士に亘って鉄骨柱を貫通する長いコネクタを配置する必要がなく、コネクタ同士の干渉を避けられる。また、対向する梁が直線上に配置されない場合でも、それぞれの梁の軸方向に沿ってコネクタを配置できるので、木製梁と鉄骨柱との接合強度を確保し易い。
【0009】
また、それぞれのコネクタは鉄骨柱に固定されているので、コネクタがバラバラな場合と比較して施工し易い。さらに、木製梁が接合される仕口部が鉄骨柱と一体化しているため、仕口部と鉄骨柱とを別々に形成する場合と比較して施工し易い。
【0010】
請求項2の木製梁の接合構造は、請求項1に記載の木製梁の接合構造において、前記コネクタは、注入孔と排出孔とを備えた中空の管体であり、前記木製梁には、前記コネクタが挿入される挿入孔が形成され、前記注入孔から前記コネクタの内部へ注入されたグラウト材が、前記排出孔から排出されて前記コネクタの外周と前記挿入孔の内周壁との間に充填される。
(【0011】以降は省略されています)
この特許をJ-PlatPat(特許庁公式サイト)で参照する
関連特許
株式会社竹中工務店
発電システム
22日前
株式会社竹中工務店
水素供給システム
10日前
株式会社竹中工務店
排水処理システム
1日前
株式会社竹中工務店
配管ユニット構造
29日前
株式会社竹中工務店
塗装方法及び積層材料
8日前
株式会社竹中工務店
水平打ち継ぎ部補強構造
1日前
株式会社竹中工務店
ラチス構造材の補強構造
17日前
株式会社竹中工務店
被覆基材及び被覆基材の製造方法
8日前
株式会社竹中工務店
天井構造及び天井構造の固定方法
16日前
株式会社竹中工務店
制御装置、制御方法、及び制御プログラム
2日前
株式会社竹中工務店
構真柱の施工方法、及び構真柱の支持構造
16日前
株式会社竹中工務店
CaCO3量推定方法及び炭酸化度判定方法
1日前
株式会社竹中工務店
パラメータ探索装置及びパラメータ探索方法
1日前
株式会社竹中工務店
信号処理装置、信号処理方法、及び信号処理プログラム
9日前
個人
接合構造
2か月前
個人
タッチミー
2か月前
個人
屋台
2か月前
個人
安心補助てすり
1か月前
個人
転落防止用手摺
2か月前
積水樹脂株式会社
柵体
2か月前
個人
ベンリナアングル
2か月前
個人
筋交自動設定装置
2か月前
個人
免震建築構造
1日前
株式会社フジタ
合成床
1日前
株式会社シンケン
住宅
1か月前
個人
身体用シェルター
2か月前
個人
防災建築物
1か月前
個人
身体用シェルター
2か月前
三協立山株式会社
構造体
1か月前
株式会社熊谷組
吊り治具
2か月前
個人
可搬型供養墓
2か月前
イワブチ株式会社
組立柱
2か月前
株式会社熊谷組
床構成材
1か月前
三協立山株式会社
構造体
2か月前
三協立山株式会社
構造体
2か月前
三協立山株式会社
構造体
2か月前
続きを見る
他の特許を見る