TOP
|
特許
|
意匠
|
商標
特許ウォッチ
Twitter
他の特許を見る
10個以上の画像は省略されています。
公開番号
2025142946
公報種別
公開特許公報(A)
公開日
2025-10-01
出願番号
2024042592
出願日
2024-03-18
発明の名称
物流計画システム及び物流計画方法
出願人
株式会社日立製作所
代理人
弁理士法人信友国際特許事務所
主分類
G06Q
10/083 20240101AFI20250924BHJP(計算;計数)
要約
【課題】考慮すべき変数の組合せが多い物流計画においては、物流計画の最適解を現実的な時間で導出することが難しかった。
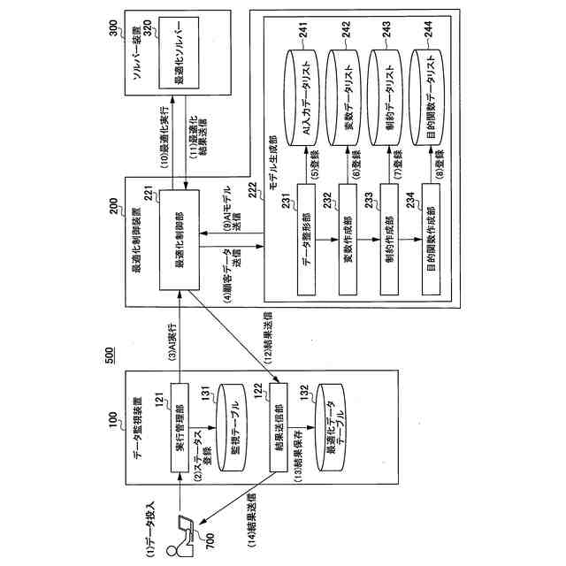
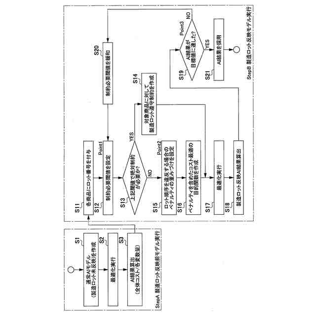
【解決手段】物流計画システム500は、商品を輸送する物流ネットワークの要素ごとのデータを入力とし、制約条件の下で物流計画を出力する学習モデルを生成する最適化制御装置200と、学習モデルを用いて最適化を実行して、目的関数として物流にかかるコストを最小にする最適解を計算するソルバー装置300と、を備える。最適化制御装置200は、上記データに含まれる商品の製造ロットに基づいて当該商品にロット番号を付与するとともに、該ロット番号から制約必要閾値を設定し、制約必要閾値より古い製造ロットに対してロット番号の順序を必ず遵守すべきという制約を作成し、制約必要閾値よりも新しい製造ロットに対してなるべくロット番号の順序を守るほうがよいという制約を作成する。
【選択図】図8
特許請求の範囲
【請求項1】
商品を輸送する物流ネットワークの要素ごとのデータを入力とし、制約条件の下で物流計画を出力する学習モデルを生成する最適化制御部と、
前記学習モデルを用いて最適化を実行して、目的関数として物流にかかるコストを最小にする最適解を計算する最適化実行部と、を備え、
前記最適化制御部は、前記データに含まれる商品の製造ロットに基づいて当該商品にロット番号を付与するとともに、前記ロット番号から制約必要閾値を設定し、前記制約必要閾値より古い製造ロットに対して前記ロット番号の順序を必ず遵守すべきという制約を課し、前記制約必要閾値よりも新しい製造ロットに対してなるべく前記ロット番号の順序を守るほうがよいという制約を課す
物流計画システム。
続きを表示(約 690 文字)
【請求項2】
前記最適化制御部は、なるべく前記ロット番号の順序を守るほうがよい製造ロットに対して、ペナルティの重みづけを行う
請求項1に記載の物流計画システム。
【請求項3】
前記最適化制御部は、前記最適化実行部により前記最適化を実行して得られたコストが目標値を満たしていない場合、前記制約必要閾値を緩和して再設定する
請求項2に記載の物流計画システム。
【請求項4】
前記最適化制御部は、前記最適化実行部により前記最適化を実行して得られた物流計画を外部端末に送信するよう制御する
請求項1乃至3のいずれか一項に記載の物流計画システム。
【請求項5】
商品を輸送する物流ネットワークの要素ごとのデータを入力とし、制約条件の下で物流計画を出力する学習モデルを生成する最適化制御部と、前記学習モデルを用いて最適化を実行して、目的関数として物流にかかるコストを最小にする最適解を計算する最適化実行部と、を備えた物流計画システムによる物流計画方法であって、
前記最適化制御部により、前記データに含まれる商品の製造ロットに基づいて当該商品にロット番号を付与する処理と、
前記最適化制御部により、前記ロット番号から制約必要閾値を設定する処理と、
前記最適化制御部により、前記制約必要閾値より古い製造ロットに対して前記ロット番号の順序を必ず遵守すべきという制約を課し、前記制約必要閾値よりも新しい製造ロットに対してなるべく前記ロット番号の順序を守るほうがよいという制約を課す
物流計画方法。
発明の詳細な説明
【技術分野】
【0001】
本発明は、物流計画システム及び物流計画方法に係る。
続きを表示(約 1,900 文字)
【背景技術】
【0002】
産業系の物流では、なるべく古い商品の在庫をはき、新しい商品を在庫として持つことが重要である。これまで物流計画では、数理最適化を使った最適な物流計画の立案に取り組んできた。しかし、“いつ製造した商品なのか”を考慮し、その適切な出荷の順序を決定するためには、商品の製造日を数理最適化AI(Artificial-Intelligence)モデルに反映する必要がある。この場合、数理最適化AIモデルの要素数の増加に伴って変数の組合せの数量が指数関数的に増加するため、最適な出荷の順序を現実的な時間で決定することは困難であった。現実的な時間として、通常半日(12時間)ほどが業務で使用する許容時間とされる。実際の業務では、顧客から数時間での出荷順序の決定を要望されることもある。本明細書では、数理最適化AIを「AI」と略称する。
【0003】
物流の最適化について各社が関心を高めている。特に、物流を担うトラック等の運転手の残業規制が強化されて、従来の輸送力を維持できなくなる「物流の2024年問題」の解決が急務となっている。このため、AI技術などを活用した物流計画立案の需要が高まっている。
【0004】
例えば、特許文献1には、配送計画問題をエネルギー関数の最小化問題として定式化してシミュレーテッド・アニーリング法を用いてこのエネルギー関数の最小状態を求めることにより、配車と配送順序との最適解を探索するようにした配送計画問題の最適解探索方法が開示されている。特許文献1に記載の方法では、具体的に目標値を設定し得る制約条件を表す制約項と、制約条件以外の最小にしたいコスト関数を表すコスト項とに分けて定義されたエネルギー関数中の制約項に関して、重み係数の調節手段によって、その重み係数の値をパラメーター更新則によって自動的に調節する。
【先行技術文献】
【特許文献】
【0005】
特開平8-153085号公報
【発明の概要】
【発明が解決しようとする課題】
【0006】
上記特許文献1に記載の方法では、重み係数の値を調節するパラメーター更新則の適用に際して、初期温度における制約条件満足度の目標値の値を、初期温度における制約条件満足度の値と同一又はその近傍の値に設定するようにしている。これにより、パラメーター更新則の適用回数を減らすことができ、処理時間が短縮される。しかしながら、特許文献1に記載の方法では、制約数が膨大な場合は満足度を達成するための重みの組合せが多く、処理時間が延びるという問題があった。
【0007】
物流計画に用いられるAIモデルは、製品の生産計画のAIモデルと比較しても計画立案の変数の組合せが多く、なおかつ数週間にわたる長期間の計画立案も求められる。したがって、物流計画のAIモデルの場合、考慮すべき変数の組合せが膨大となり、計画立案がサーバー性能(メモリ不足)の面で困難である。
【0008】
上記の状況から、考慮すべき変数の組合せが多い物流計画において、物流計画の最適解を現実的な時間で導出する手法が要望されていた。
【課題を解決するための手段】
【0009】
上記課題を解決するために、本発明の一態様の物流計画システムは、商品を輸送する物流ネットワークの要素ごとのデータを入力とし、制約条件の下で物流計画を出力する学習モデルを生成する最適化制御部と、学習モデルを用いて最適化を実行して、目的関数として物流にかかるコストを最小にする最適解を計算する最適化実行部と、を備える。最適化制御部は、上記データに含まれる商品の製造ロットに基づいて当該商品にロット番号を付与するとともに、ロット番号から制約必要閾値を設定し、制約必要閾値より古い製造ロットに対してロット番号の順序を必ず遵守すべきという制約を作成し、制約必要閾値よりも新しい製造ロットに対してなるべくロット番号の順序を守るほうがよいという制約を作成する。
【発明の効果】
【0010】
本発明の少なくとも一態様によれば、製造ロットの特徴を考慮し、古い商品の在庫をはき新しい商品を在庫として持つような物流計画の最適解を現実的な時間で導出することができる。
上記した以外の課題、構成及び効果は、以下の発明を実施するための形態の説明により明らかにされる。
【図面の簡単な説明】
(【0011】以降は省略されています)
この特許をJ-PlatPat(特許庁公式サイト)で参照する
関連特許
株式会社日立製作所
鉄道車両
9日前
株式会社日立製作所
半導体装置
17日前
株式会社日立製作所
形状制御システム
3日前
株式会社日立製作所
ガス濃度測定装置
9日前
株式会社日立製作所
欠陥知識循環システム
23日前
株式会社日立製作所
計画装置および計画方法
15日前
株式会社日立製作所
管理システムおよび管理方法
5日前
株式会社日立製作所
訓練システムおよび訓練方法
5日前
株式会社日立製作所
直動接点および巻線切替装置
1か月前
株式会社日立製作所
回転電機および電動機システム
1日前
株式会社日立製作所
状態検知装置及び状態検知方法
17日前
株式会社日立製作所
人物特性推定システム及び方法
24日前
株式会社日立製作所
情報処理装置及び情報処理方法
5日前
株式会社日立製作所
情報処理装置及び情報処理方法
1日前
株式会社日立製作所
費用対効果算出方法および装置
3日前
株式会社日立製作所
搬送制御装置及び搬送制御方法
1か月前
株式会社日立製作所
電力変換器およびインバータ装置
5日前
株式会社日立製作所
情報処理システム、及び予測方法
2日前
株式会社日立製作所
再エネ調達手段選定支援システム
1か月前
株式会社日立製作所
電子機器および電子機器制御方法
17日前
株式会社日立製作所
情報処理システム、情報処理方法
1か月前
株式会社日立製作所
昇降機システム及び昇降機制御方法
5日前
株式会社日立製作所
Webページ更新管理装置及び方法
9日前
株式会社日立製作所
建物管理システム及び建物管理方法
15日前
株式会社日立製作所
異常検知システム及び異常検知方法
15日前
株式会社日立製作所
計算機システム及びデータ検索方法
5日前
株式会社日立製作所
ワークフロー作成支援装置及び方法
1か月前
株式会社日立製作所
障害対応システム及び障害対応方法
23日前
株式会社日立製作所
ログ抽出方法及びログ抽出システム
25日前
株式会社日立製作所
物流計画システム及び物流計画方法
3日前
株式会社日立製作所
音声分析システム及び音声分析方法
9日前
株式会社日立製作所
制御装置、制御方法およびプログラム
17日前
株式会社日立製作所
データ出力装置およびデータ出力方法
5日前
株式会社日立製作所
電力監視システムおよび電力監視方法
15日前
株式会社日立製作所
通貨管理システム、及び通貨管理方法
9日前
株式会社日立製作所
図面整合システムおよび図面整合方法
26日前
続きを見る
他の特許を見る