TOP
|
特許
|
意匠
|
商標
特許ウォッチ
Twitter
他の特許を見る
公開番号
2025142513
公報種別
公開特許公報(A)
公開日
2025-10-01
出願番号
2024041919
出願日
2024-03-18
発明の名称
送電装置及び受電装置
出願人
本田技研工業株式会社
代理人
弁理士法人航栄事務所
主分類
H02J
7/10 20060101AFI20250924BHJP(電力の発電,変換,配電)
要約
【課題】送電装置と受電装置との組み合わせによらずに、最適な電力伝送制御を行うこと。
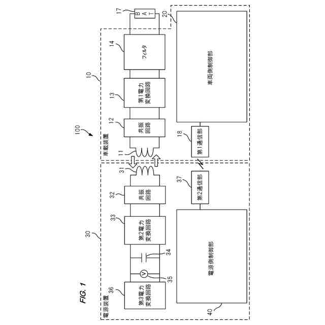
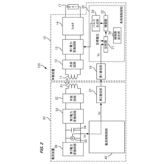
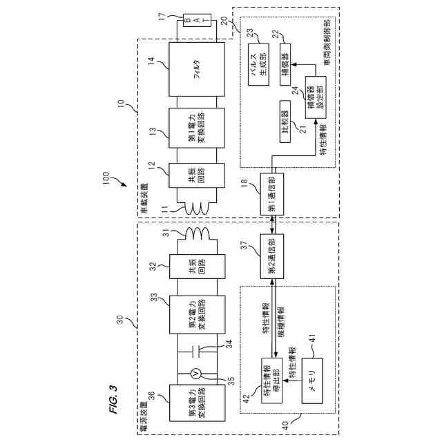
【解決手段】車載装置10は、車両側コイル11と、車両側コイル11に供給する供給電力を二次電池17の電力を用いて生成する第1電力変換回路13と、電源装置30が受電した電力によって充電されるコンデンサ34の端子電圧Vcを取得可能、且つ第1電力変換回路13を制御可能に構成され、端子電圧Vcが目標電圧となるように第1電力変換回路13を介して上記供給電力を制御する給電制御を実行可能な車両側制御部20と、を備え、車両側制御部20は、上記給電制御の実行前に、コンデンサ34を充電する系の特性情報を車載装置10から取得し、この特性情報に基づいて、上記給電制御時の上記供給電力を制御する。
【選択図】図3
特許請求の範囲
【請求項1】
受電装置に対して非接触電力伝送により送電する送電部と、
前記送電部に供給する供給電力を第1電源部の電力を用いて生成し、当該供給電力を前記送電部に供給する電力変換部と、
前記受電装置が受電した電力によって充電される第2電源部の端子電圧を取得可能、且つ前記電力変換部を制御可能に構成され、前記端子電圧が目標電圧となるように前記電力変換部を介して前記供給電力を制御する給電制御を実行可能な制御部と、
を備え、
前記制御部は、
前記給電制御の実行前に、前記第2電源部を充電する系の特性情報を前記受電装置から取得し、
取得した前記特性情報に基づいて、前記給電制御時の前記供給電力を制御する、
送電装置。
続きを表示(約 1,100 文字)
【請求項2】
請求項1に記載の送電装置であって、
前記制御部は、さらに、
前記給電制御の実行中に、現在の前記系の状態に応じた前記特性情報を前記受電装置から取得し、
取得した前記特性情報に基づいて、前記給電制御時における前記供給電力を制御する、
送電装置。
【請求項3】
請求項1又は2に記載の送電装置であって、
前記特性情報は、前記系の伝達関数に関する伝達関数情報を含み、
前記制御部は、前記伝達関数情報に基づいて、前記給電制御時の前記供給電力を制御する、
送電装置。
【請求項4】
請求項3に記載の送電装置であって、
前記伝達関数情報は、前記伝達関数の極及び零点を示す情報であり、
前記制御部は、前記極及び零点を示す情報に基づいて、位相余裕が0度以上となるように前記供給電力を制御する、
送電装置。
【請求項5】
請求項4に記載の送電装置であって、
前記送電装置は、前記第1電源部の電力を用いて駆動される駆動源としての電動機を備える車両に設けられる、
送電装置。
【請求項6】
送電装置から非接触電力伝送により送電された電力を受電する受電部と、
前記受電部によって受電された電力によって充電可能、且つ蓄積した電力を負荷に対して供給可能に構成された受電側電源部と、
制御部と、を備え、
前記送電装置は、前記受電側電源部の端子電圧が目標電圧となるように前記送電装置から前記受電部への供給電力を制御する給電制御を実行可能であり、
前記制御部は、前記送電装置による前記給電制御の実行前に、前記送電装置に対応した、前記受電側電源部を充電する系の特性情報を取得し、前記特性情報を前記送電装置に送信する制御を行い、
前記送電装置では、前記特性情報に基づいて、前記給電制御時の前記供給電力の制御が行われる、
受電装置。
【請求項7】
請求項6に記載の受電装置であって、
前記制御部は、さらに、
前記送電装置による前記給電制御の実行中に、現在の前記系の状態に応じた前記特性情報を取得して当該特性情報を前記送電装置に送信し、
前記送電装置では、当該特性情報に基づいて、前記給電制御時の前記供給電力の制御が行われる、
受電装置。
【請求項8】
請求項7に記載の受電装置であって、
前記特性情報は、前記系の伝達関数に関する伝達関数情報を含む、
受電装置。
【請求項9】
請求項8に記載の受電装置であって、
前記伝達関数情報は、前記系の極及び零点を示す情報である、
受電装置。
発明の詳細な説明
【技術分野】
【0001】
本開示の技術は、送電装置及び受電装置に関する。
続きを表示(約 970 文字)
【背景技術】
【0002】
近年、より多くの人々が手ごろで信頼でき、持続可能かつ先進的なエネルギーへのアクセスを確保できるようにするため、エネルギーの効率化に貢献する二次電池を搭載するモビリティにおける充給電に関する研究開発が行われている。
【0003】
例えば、充給電に関する研究開発として、2つの装置間で非接触により電力を伝送する非接触電力伝送に関する研究開発が行われている。
【0004】
特許文献1には、送電装置から転送される電力を、電磁共鳴によって非接触で受電するための受電装置が記載されている。
【0005】
特許文献2には、外部に設けられた送電装置から非接触で受電可能な移動体が記載されている。
【0006】
特許文献3には、受信機コイル、補償回路網、電力変換器、および受信端コントローラを備える無線充電受信端が記載されている。
【0007】
特許文献4には、インバータと、1次コイルと、インバータと1次コイルとの間に設けられた給電側共振回路とを含む給電装置と、1次コイルと磁気的に結合され、1次コイルからエネルギーを取得する2次コイルとを含み、2次コイルにより取得されたエネルギーを電圧変換して出力電力を生成する受電装置とを備える非接触給電装置が記載されている。
【0008】
特許文献5には、充電ステーションから車両へ非接触で電力を伝送する非接触電力伝送システムにおいて、充電ステーションと車両とのインピーダンス不整合を抑制することが記載されている。
【先行技術文献】
【特許文献】
【0009】
特開2013-005615号公報
特開2023-20323号公報
特表2023-500133号公報
国際公開第2015/104779号
特開2015-109769号公報
【発明の概要】
【発明が解決しようとする課題】
【0010】
本開示の技術は、送電装置と受電装置との組み合わせによらずに、最適な電力伝送制御を行うことを目的としている。
【課題を解決するための手段】
(【0011】以降は省略されています)
この特許をJ-PlatPat(特許庁公式サイト)で参照する
関連特許
本田技研工業株式会社
車両
12日前
本田技研工業株式会社
装置
11日前
本田技研工業株式会社
モータ
8日前
本田技研工業株式会社
車両構造
8日前
本田技研工業株式会社
保管装置
6日前
本田技研工業株式会社
保管装置
6日前
本田技研工業株式会社
保持装置
5日前
本田技研工業株式会社
切断装置
4日前
本田技研工業株式会社
会話装置
4日前
本田技研工業株式会社
車両構造
8日前
本田技研工業株式会社
内燃機関
11日前
本田技研工業株式会社
内燃機関
11日前
本田技研工業株式会社
通知装置
11日前
本田技研工業株式会社
ステータ
4日前
本田技研工業株式会社
固体電池
6日前
本田技研工業株式会社
バッテリ
5日前
本田技研工業株式会社
受電装置
6日前
本田技研工業株式会社
送電装置
6日前
本田技研工業株式会社
断続装置
6日前
本田技研工業株式会社
バッテリ
5日前
本田技研工業株式会社
リアクトル
11日前
本田技研工業株式会社
リンク機構
4日前
本田技研工業株式会社
鞍乗型車両
18日前
本田技研工業株式会社
放電処理方法
6日前
本田技研工業株式会社
潤滑システム
6日前
本田技研工業株式会社
鞍乗り型車両
4日前
本田技研工業株式会社
鞍乗り型車両
4日前
本田技研工業株式会社
運転制御装置
8日前
本田技研工業株式会社
分離システム
8日前
本田技研工業株式会社
鞍乗り型車両
5日前
本田技研工業株式会社
車両制御装置
12日前
本田技研工業株式会社
車両制御装置
今日
本田技研工業株式会社
固体二次電池
18日前
本田技研工業株式会社
ガス回収装置
今日
本田技研工業株式会社
電源システム
6日前
本田技研工業株式会社
車両用冷却装置
4日前
続きを見る
他の特許を見る