TOP
|
特許
|
意匠
|
商標
特許ウォッチ
Twitter
他の特許を見る
公開番号
2025142452
公報種別
公開特許公報(A)
公開日
2025-10-01
出願番号
2024041804
出願日
2024-03-18
発明の名称
電気自動車の車体下部構造
出願人
JFEスチール株式会社
代理人
個人
主分類
B62D
21/15 20060101AFI20250924BHJP(鉄道以外の路面車両)
要約
【課題】側面衝突時に十分な衝突性能を確保しつつ、バッテリーを車体下方側に拡張可能にバッテリーパックを搭載することができる電気自動車の車体下部構造を提供する。
【解決手段】本発明に係る電気自動車の車体下部構造1は、左右一対のサイドシル10と、車体幅方向外周側にバッテリーフレーム23が配設されたバッテリーパック20と、フロアクロスメンバ30と、を備えたものであって、車体幅方向に直交する断面が閉断面形状であり、車内側の端部40aがバッテリーフレーム23の下面に接続し、車外側の端部40bがサイドシル10の下面と接続するバッテリーマウント40を備え、バッテリーマウント40は、閉断面形状を有する閉断面形状部41と、閉断面形状部41内の中央部に設けられて車内側と車外側とに仕切る仕切り板43と、を有し、閉断面形状部41がバッテリーフレーム23よりも引張強度が低い金属板を用いて作製されているものである。
【選択図】 図1
特許請求の範囲
【請求項1】
車体幅方向の車外側に配設されて車体前後方向に延在する左右一対のサイドシルと、
該左右一対のサイドシルの間に配設され、車体幅方向外周側にバッテリーフレームが配設されたバッテリーパックと、
該バッテリーパックの上方に設置されるフロアパネルの上面側に設置され、車体幅方向に延在するフロアクロスメンバと、を備えた電気自動車の車体下部構造であって、
車体幅方向に直交する断面が閉断面形状であり、車内側の端部が前記バッテリーフレームの下面に接続し、車外側の端部が前記サイドシルの下面と接続するバッテリーマウントを備え、
前記フロアクロスメンバは、車体下方側が開口した溝形状であり、両先端が左右の前記サイドシルの側面に当接し、
前記バッテリーマウントは、前記閉断面形状を形成する閉断面形状部と、該閉断面形状部内に上面と下面とを繋ぐように設けられて車内側と車外側とに仕切る仕切り板と、を有し、前記閉断面形状部が前記バッテリーフレームよりも引張強度が低い金属板を用いて作製されている、ことを特徴とする電気自動車の車体下部構造。
続きを表示(約 1,000 文字)
【請求項2】
前記フロアクロスメンバにおける前記溝形状の前記両先端は開いた形状である、ことを特徴とする請求項1に記載の電気自動車の車体下部構造。
【請求項3】
前記フロアパネルと前記バッテリーパックとの間に設置され、車体幅方向に延在し、両先端が左右の前記サイドシルの側面に当接している溝形状のフロア下クロスメンバを有する、ことを特徴とする請求項1又は2に記載の電気自動車の車体下部構造。
【請求項4】
前記フロアクロスメンバは、車体幅方向に直交する断面形状が車体幅方向に沿って略一定である、ことを特徴とする請求項1又は2に記載の電気自動車の車体下部構造。
【請求項5】
前記バッテリーマウントは、3枚以上の金属板を用いて作製されている、ことを特徴とする請求項1又は2に記載の電気自動車の車体下部構造。
【請求項6】
前記フロア下クロスメンバは、
車体幅方向に直交する断面においてハット断面形状が少なくとも3つ連続する連続ハット断面形状部材と、
該連続ハット断面形状部材の上面を覆う上部金属板と、
前記連続ハット断面形状部材の下面を覆う下部金属板と、を備えて構成されていることを特徴とする請求項3に記載の電気自動車の車体下部構造。
【請求項7】
前記フロア下クロスメンバは、直線状であり、車体幅方向に直交する断面形状が車体幅方向に沿って略一定である、ことを特徴とする請求項3に記載の電気自動車の車体下部構造。
【請求項8】
前記フロア下クロスメンバは、直線状であり、前記バッテリーパックよりも車外側において端部に向かって前記溝形状の溝深さが深くなっている、ことを特徴とする請求項3に記載の電気自動車の車体下部構造。
【請求項9】
前記サイドシル及び前記フロアクロスメンバは、引張強度980MPa級以上の鋼板を用いて作製され、
前記バッテリーマウントは、少なくとも前記閉断面形状部が引張強度590MPa級以上の鋼板を用いて作製されている、ことを特徴とする請求項1又は2に記載の電気自動車の車体下部構造。
【請求項10】
前記フロア下クロスメンバは、引張強度980MPa級以上の鋼板を用いて作製されていることを特徴とする請求項3に記載の電気自動車の車体下部構造。
発明の詳細な説明
【技術分野】
【0001】
本発明は、バッテリーパックが車体下部のフロア部に搭載された電気自動車の車体下部構造に関する。
続きを表示(約 2,100 文字)
【背景技術】
【0002】
近年、特に自動車産業においては環境問題に起因して、エンジン車から電気自動車への置換が進みつつある。電気自動車においては、車体下部のフロア部に大きな電池(バッテリー)を収容したバッテリーパックが搭載されている。そして、バッテリーにはLi系の材料を用いることが多く、衝突時にバッテリーパックが破損して内部のバッテリーから液漏れすると発火の危険性があるので、バッテリーパックを保護可能に車体に搭載する構造が必要となる。
【0003】
これまでに、電気自動車等の車体下部にバッテリーパックを搭載する構造が多く提案されている。
例えば、特許文献1には、バッテリーを収容するトレイ(本願の「バッテリーパック」に相当)を格納するバッテリーケースの骨格をなすフレームの下部に、車幅方向に延びるクロスメンバーを備えた構造が開示されている。
また、特許文献2には、電池モジュールを収納するロアケースを備えたバッテリユニット(本願の「バッテリーパック」に相当)を、ロアケースの下面に固定されたクロスメンバと、クロスメンバの両端を固定するサイドメンバと、により、フロアパネルの床裏面に搭載する構造が開示されている。
さらに、特許文献3には、フロアパネルの下方に位置するバッテリパックの車両幅方向外側に位置してロッカ(本願の「サイドシル」に相当)に固定されるとともに、バッテリパックを車体に対して固定するエネルギー吸収材を備えた構造が開示されている。
【先行技術文献】
【特許文献】
【0004】
特開2022-42851号公報
特許第6197363号公報
特開2023-146163号公報
【発明の概要】
【発明が解決しようとする課題】
【0005】
特許文献1~特許文献3の構造は、バッテリーパックの下方に設けられた部品(特許文献1のクロスメンバ―、特許文献2のクロスメンバ、特許文献3の支持部)によりバッテリーパックを支持することで車体下部に搭載するものである。そのため、航続距離の延長を目的としてバッテリーの容量を増やそうとしても、バッテリーを地面側(車体下方側)に拡張することができない。
【0006】
さらに、特許文献3の構造は、車両の側面衝突時に、エネルギー吸収材が圧縮変形することによって衝突エネルギーを吸収し、バッテリーパックに伝達される荷重を低減するものであった。しかしながら、特許文献3のエネルギー吸収材は、側面衝突によりサイドシルが十分に潰れる前に圧縮変形が開始すると、サイドシルが押しつぶされずに衝突エネルギーを十分に吸収することができず、バッテリーパックに伝達される荷重を低減することができず、十分な衝突性能を確保できない場合がある。また、当該エネルギー吸収材は、構造体として複雑な断面であり重量が重く、車体重量増を招く場合がある。
【0007】
本発明は、上記のような課題を解決するためになされたものであり、車両の側面衝突において十分な衝突性能を確保しつつ、バッテリーを車体下方側に拡張可能にバッテリーパックを搭載することができる電気自動車の車体下部構造を提供することを目的とする。
【課題を解決するための手段】
【0008】
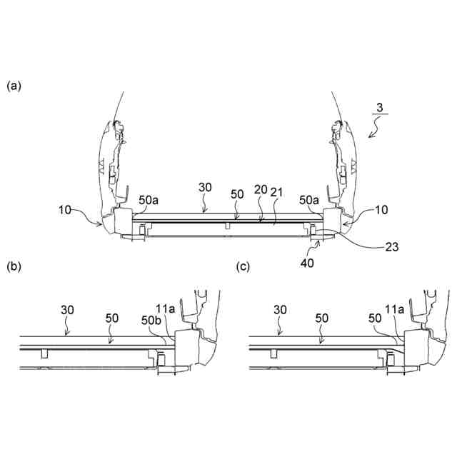
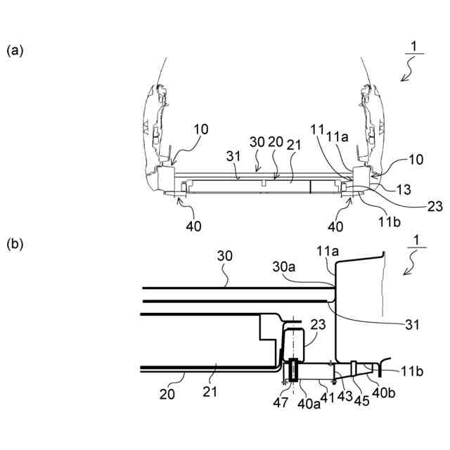
(1)本発明に係る電気自動車の車体下部構造は、車体幅方向の車外側に配設されて車体前後方向に延在する左右一対のサイドシルと、
該左右一対のサイドシルの間に配設され、車体幅方向外周側にバッテリーフレームが配設されたバッテリーパックと、
該バッテリーパックの上方に設置されるフロアパネルの上面側に設置され、車体幅方向に延在するフロアクロスメンバと、を備えたものであって、
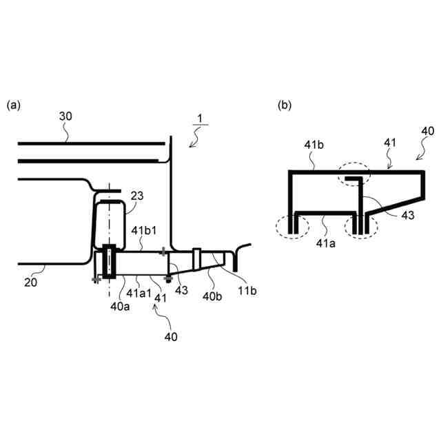
車体幅方向に直交する断面が閉断面形状であり、車内側の端部が前記バッテリーフレームの下面に接続し、車外側の端部が前記サイドシルの下面と接続するバッテリーマウントを備え、
前記フロアクロスメンバは、車体下方側が開口した溝形状であり、両先端が左右の前記サイドシルの側面に当接し、
前記バッテリーマウントは、前記閉断面形状を形成する閉断面形状部と、該閉断面形状部内に上面と下面とを繋ぐように設けられて車内側と車外側とに仕切る仕切り板と、を有し、前記閉断面形状部が前記バッテリーフレームよりも引張強度が低い金属板を用いて作製されている、ことを特徴とするものである。
【0009】
(2)上記(1)に記載のものにおいて、
前記フロアクロスメンバにおける前記溝形状の前記両先端は開いた形状である、ことを特徴とするものである。
【0010】
(3)上記(1)又は(2)に記載のものにおいて、
前記フロアパネルと前記バッテリーパックとの間に設置され、車体幅方向に延在し、両先端が左右の前記サイドシルの側面に当接している溝形状のフロア下クロスメンバを有する、ことを特徴とするものである。
(【0011】以降は省略されています)
この特許をJ-PlatPat(特許庁公式サイト)で参照する
関連特許
個人
カート
2か月前
個人
走行装置
3か月前
個人
乗り物
4か月前
個人
電動走行車両
3か月前
個人
折り畳み自転車
10か月前
個人
発音装置
7か月前
個人
閂式ハンドル錠
3か月前
個人
駐輪設備
29日前
個人
電動モビリティ
7か月前
個人
ボギー・フレーム
1か月前
個人
自転車用傘捕捉具
11か月前
個人
“zen-go.”
2か月前
個人
自由方向乗車自転車
7か月前
個人
体重掛けリフト台車
10か月前
個人
ルーフ付きトライク
2か月前
個人
ルーフ付きトライク
1か月前
個人
パワーアシスト自転車
1か月前
個人
アタッチメント
11か月前
個人
自転車用荷物台
10か月前
個人
キャンピングトライク
8か月前
個人
ステアリングの操向部材
8か月前
株式会社CPM
駐輪機
11か月前
株式会社豊田自動織機
産業車両
4か月前
個人
フロントフットブレーキ。
3か月前
株式会社三五
リアサブフレーム
10か月前
個人
ホイールハブ駆動構造
3か月前
個人
乗用自動車のディフューザー
8日前
ヤマハ発動機株式会社
車両
11か月前
豊田鉄工株式会社
小型車両
2か月前
ヤマハ発動機株式会社
車両
11か月前
ヤマハ発動機株式会社
車両
11か月前
ヤマハ発動機株式会社
車両
11か月前
学校法人千葉工業大学
車両
9か月前
学校法人千葉工業大学
車両
9か月前
豊田合成株式会社
操舵装置
11か月前
学校法人千葉工業大学
車両
9か月前
続きを見る
他の特許を見る