TOP
|
特許
|
意匠
|
商標
特許ウォッチ
Twitter
他の特許を見る
10個以上の画像は省略されています。
公開番号
2025142281
公報種別
公開特許公報(A)
公開日
2025-09-30
出願番号
2025125805,2022035097
出願日
2025-07-28,2022-03-08
発明の名称
塔体の建て起こし装置
出願人
大成建設株式会社
代理人
主分類
E04G
21/16 20060101AFI20250919BHJP(建築物)
要約
【課題】大掛かりな設備やその設置施工を不要としながら、効率的な塔体の荷下ろしと建て起こしを実現できる、塔体の建て起こし装置と建て起こし方法を提供する。
【解決手段】塔体の建て起こし装置100であり、塔体Tを搭載する運搬車両Dが進入する離間tを置いて配設されている、一対の支持構造体50を有し、それぞれの支持構造体50は、脚材10と、脚材10に支持される受け材20を備え、運搬された塔体Tの一端Taに着脱自在な回動軸60が取付けられ、該回動軸60を受け材20に載置した状態から、受け材20の上で回動軸60が移動(滑動)および回動しながら塔体Tが建て起こされる。
【選択図】図4
特許請求の範囲
【請求項1】
塔体の建て起こし装置であって、
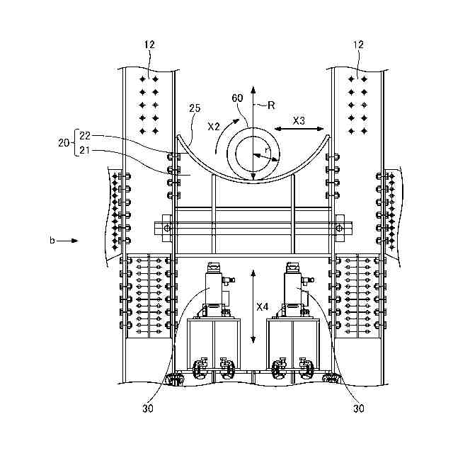
前記塔体を搭載する運搬車両が進入する離間を置いて配設されている、一対の支持構造体を有し、それぞれの該支持構造体は、脚材と、該脚材に支持される受け材と、該受け材に支持される回動軸を備え、
前記回動軸は、前記塔体の下部と着脱自在な接合部を有しており、
前記受け材は下に凸の湾曲面材を含み、
前記湾曲面材は前記回動軸の半径よりも大きい曲率半径を有しており
、
前記塔体の建て起こし時は、該塔体の下部と前記接合部を介して一体化させた前記回動軸が、前記受け材の前記湾曲面材の上で移動および回動しながら該塔体が建て起こされるようになっていることを特徴とする、塔体の建て起こし装置。
続きを表示(約 500 文字)
【請求項2】
前記受け材が、前記脚材に対してジャッキを介して取り付けられており、
前記ジャッキの上下方向の伸縮により、前記脚材に対して前記受け材が上下に昇降することを特徴とする、請求項1に記載の塔体の建て起こし装置。
【請求項3】
前記受け材の表面、もしくは、前記回動軸の表面に、低摩擦材が設けられていることを特徴とする、請求項1もしくは請求項2に記載の塔体の建て起こし装置。
【請求項4】
前記脚材にカウンターウェイトが取り付けられていることを特徴とする、請求項1乃至3のいずれか一項に記載の塔体の建て起こし装置。
【請求項5】
前記塔体の一端には、第一ボルト孔を備えた取り付けフランジが設けられ、
前記回動軸には、前記取り付けフランジに直接的もしくは間接的に当接される被取り付けフランジが設けられており、
前記被取り付けフランジには、径の異なる複数の前記塔体の前記取り付けフランジの前記第一ボルト孔に対応する複数の第二ボルト孔が設けられていることを特徴とする、請求項1乃至4のいずれか一項に記載の塔体の建て起こし装置。
発明の詳細な説明
【技術分野】
【0001】
本発明は、塔体の建て起こし装置に関する。
続きを表示(約 2,500 文字)
【背景技術】
【0002】
太陽光や風力、地熱、水力、バイオマスといった再生可能エネルギーは、温室効果ガスを排出せず、国内生産が可能であり、エネルギー安全保障にも寄与できる重要な低炭素の国産エネルギーである。その中で、風力エネルギーは、高効率で電気エネルギーに変換できること、太陽光発電と異なり風さえあれば夜間でも発電できることから注目されており、陸上と洋上の双方で発電システムが開発され、建設されている。陸上の風力発電システムにおいては、その主たる構成要素である発電用風車(塔状建造物)を構成するタワーの高さが、例えば50mかそれ以上にも及び得る。
上記する長尺のタワーは、複数の塔体に分割され、分割された塔体が設置場所において建て起こされて設置され、複数の塔体が順次上方に積層されることにより、所定長さのタワーが施工される。
複数に分割された塔体も基本的には長尺であり、重量も大きいことから、運搬車両にて施工場所に搬送されてきた塔体を荷下ろし、次いで建て起こす作業においては、例えば二台のクレーンを用いて塔体の両端をそれぞれ吊り上げる、相吊りが一般的に適用される。
しかしながら、陸上の風力発電施設は山間部に設けられていることが多く、タワーの設置場所が狭隘な設置エリアとなる場合も往々にしてあることから、二台の大型のクレーンを配置するスペースを確保できない場合には、塔体の荷下ろし及び建て起こし作業ができなくなる恐れがある。
また、仮に二台のクレーンを配置するスペースを確保できたとしても、二台の大型のクレーンを作業期間中常備する必要があり、施工コストが高騰するといった課題もある。
【0003】
そこで、特許文献1には、一台のクレーンにより建材の建て起こしを実現できる、建材の建て起こし装置が提案されている。具体的には、一端が固定部材に回動可能に固定された第1の支持部材と、第1の支持部材の他端に、一端が回動可能に接続され、他端が水平方向に移動可能な第2の支持部材と、第2の支持部材の上部に沿うように設けられた載置架台とを備え、載置架台の上に建材を載置した状態で載置架台の上方を吊り上げ、第2の支持部材が他端を中心に回動されることにより、建材を建て起こすようになっている。
【先行技術文献】
【特許文献】
【0004】
特開2010-24776号公報
【発明の概要】
【発明が解決しようとする課題】
【0005】
特許文献1に記載の建材の建て起こし装置では、一台のクレーンにより建材の建て起こしを実現できるものの、トレーラ等の運搬車両から建材の荷下ろしを行った後、荷下ろした建材を載置架台に一旦載置する工程を必須とすることから、効率的な建て起こし作業を実現し難い。
また、第1の支持部材の回動支点となる一端には、建て起こしの際に多大な水平力が作用することから、基礎等に対して第1の支持部材の回動支点を大掛かりな固定構造として施工する必要があることから、工費の増大と工期の長期化に繋がり得るといった課題がある。
さらには、このように大掛かりな固定構造として基礎等に対して第1の支持部材の回動支点を固定することから、建て起こし装置を容易に盛り替えることができず、基礎等から第1の支持部材を取り外す施工も大掛かりなものとなり、取り外し作業にも時間を要する。
【0006】
本発明は、大掛かりな設備やその設置施工を不要としながら、効率的な塔体の荷下ろしと建て起こしを実現できる、塔体の建て起こし装置と建て起こし方法を提供することを目的としている。
【課題を解決するための手段】
【0007】
前記目的を達成すべく、本発明による塔体の建て起こし装置の一態様は、
前記塔体を搭載する運搬車両が進入する離間を置いて配設されている、一対の支持構造体を有し、それぞれの該支持構造体は、脚材と、該脚材に支持される受け材を備え、
前記塔体の一端に回動軸が設けられており、前記運搬車両から該回動軸が前記受け材に移載され、該受け材の上で該回動軸が回動しながら前記塔体が建て起こされるようになっていることを特徴とする。
【0008】
本態様によれば、塔体を搭載する運搬車両が進入する離間を置いて配設されている、一対の支持構造体の受け材に対して、塔体の一端に設けられている回動軸が移載され、受け材の上で回動軸が回動しながら塔体が建て起こされることにより、大掛かりな設備やその設置施工を不要としながら、効率的な塔体の荷下ろしと建て起こしを実現できる。ここで、回動軸そのものは塔体に対して回動することなく固定され、塔体の例えば上端が建て起こされる際に、受け材の上で塔体と同期して回動軸が回動する構造でもよいし、塔体に対して回動する構造でもよく、軸受け上をスムーズに動けばよい。
また、塔体を建て起こす支持構造体が一対の構成を有していること(二つに分離していること)から、各支持構造体を可及的にコンパクトにでき、搬送性や設置性も良好になる。
さらに、支持構造体は、脚材にて自立することから、例えば塔体の設置場所における基礎(例えば鉄筋コンクリート製の基礎)に対して強固に固定接続する必要がなく、設置や盛り替え等も短時間でかつ速やかに行うことができる。
【0009】
塔体が、その一端(下端)に設けられている回動軸を中心として受け材の上で回動しながら建て起こされることから、塔体の他端(上端)を一台のクレーンで吊り上げることで足り、従って従来の建て起こし方法のように二台のクレーンを常備する必要もなく、そのためのスペースも不要になることから、狭隘な施工スペースにおける塔体の建て起こしを実現できる。
【0010】
また、本発明による塔体の建て起こし装置の他の態様は、
前記受け材が、下に凸の湾曲面材を有し、該湾曲面材の上で前記回動軸が移動するようになっていることを特徴とする。
(【0011】以降は省略されています)
この特許をJ-PlatPat(特許庁公式サイト)で参照する
関連特許
大成建設株式会社
推定方法
4日前
大成建設株式会社
木質複合構造
1か月前
大成建設株式会社
ペレット製造装置
25日前
大成建設株式会社
摩擦制振ダンパー
1か月前
大成建設株式会社
既存建物の解体方法
24日前
大成建設株式会社
木材性状推定システム
19日前
大成建設株式会社
杭の施工方法および杭
28日前
大成建設株式会社
床版接合部の設計方法
28日前
大成建設株式会社
浚渫用施設および浚渫方法
1か月前
大成建設株式会社
足場装置および足場構築方法
5日前
大成建設株式会社
木材縦弾性係数推定システム
19日前
大成建設株式会社
土壌改良剤、及び土壌改良方法
13日前
大成建設株式会社
地下水排水構造と地下水排水方法
24日前
大成建設株式会社
免震基礎構造およびその構築方法
17日前
大成建設株式会社
単杭の極限先端支持力度の評価方法
10日前
大成建設株式会社
異種コンクリートの切替り特定方法
24日前
大成建設株式会社
到達立坑における掘進機の回収方法
28日前
大成建設株式会社
凍結地盤の掘削土の排土装置と排土方法
24日前
大成建設株式会社
水槽構造物および水槽構造物の施工方法
1か月前
大成建設株式会社
シールド到達構造およびシールド到達方法
1か月前
大成建設株式会社
既設トンネルの坑口補強構造と坑口補強方法
24日前
大成建設株式会社
内空変位計測システム及び内空変位計測方法
3日前
大成建設株式会社
吊荷向き制御システムおよびブレード設置方法
1か月前
大成建設株式会社
消音設計支援システム、防振設計支援システム
3日前
大成建設株式会社
既設トンネルと分岐トンネルの接合構造と接合方法
24日前
大成建設株式会社
上下の既設トンネルを繋ぐ接合トンネルとその施工方法
24日前
大成建設株式会社
上面増厚床版の非破壊評価方法及び非破壊評価システム
25日前
大成建設株式会社
鋼管により形成される立坑の坑口補強構造と坑口補強方法
28日前
大成建設株式会社
作業環境監視システム及び作業環境監視システムの監視方法
25日前
大成建設株式会社
インバート変位計測システムおよびインバート変位計測方法
4日前
大成建設株式会社
遊離脂肪酸の分離方法および遊離脂肪酸生産微生物の培養方法
26日前
大成建設株式会社
積層体部材、構造体、積層体部材を用いて構造体を構築する方法
3日前
大成建設株式会社
半潜水浮体式基礎
24日前
大成建設株式会社
接触回避システム
1か月前
大成建設株式会社
塔体の建て起こし装置
27日前
アキレス株式会社
養生シート製品、養生区画、及び養生区画の構築方法
10日前
続きを見る
他の特許を見る