TOP
|
特許
|
意匠
|
商標
特許ウォッチ
Twitter
他の特許を見る
10個以上の画像は省略されています。
公開番号
2025141783
公報種別
公開特許公報(A)
公開日
2025-09-29
出願番号
2024203398
出願日
2024-11-21
発明の名称
電気化学セルおよび二酸化炭素回収システム
出願人
株式会社デンソー
代理人
弁理士法人かいせい特許事務所
主分類
B01D
53/32 20060101AFI20250919BHJP(物理的または化学的方法または装置一般)
要約
【課題】耐久性を向上させつつ、CO
2
回収に必要な電気エネルギを低減できる電池化学セルおよび二酸化炭素回収システムを提供する。
【解決手段】CO
2
吸着材103bを含む作用極103と、対極105と、を備え、作用極と対極との間に電圧が印加されることで、対極から作用極に電子が供給され、CO
2
吸着材は電気が供給されることに伴ってCO
2
含有ガスに含まれるCO
2
と結合し、CO
2
吸着材は、一般式M
x
O
y
で表される遷移金属酸化物を含有する。ただし、Mは遷移金属であり、xは1≦x≦3の範囲内であり、yは1≦y≦5の範囲内であり、x=1かつy=2の組み合わせは除く。
【選択図】図2
特許請求の範囲
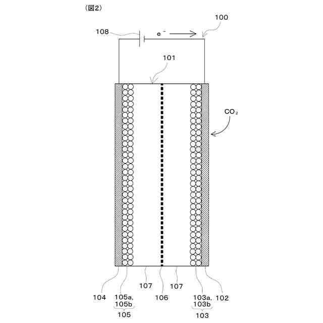
【請求項1】
CO
2
吸着材(103b)を含む作用極(103)と、対極(105)と、を備え、
前記作用極と前記対極との間に電圧が印加されることで、前記対極から前記作用極に電子が供給され、前記CO
2
吸着材は電気が供給されることに伴ってCO
2
含有ガスに含まれるCO
2
と結合し、
前記CO
2
吸着材は、一般式M
x
O
y
で表される遷移金属酸化物を含有する電気化学セル。
ただし、Mは遷移金属であり、xは1≦x≦3の範囲内であり、yは1≦y≦5の範囲内であり、x=1かつy=2の組み合わせは除く。
続きを表示(約 1,000 文字)
【請求項2】
前記CO
2
吸着材は、複合酸化物を含有しており、
前記複合酸化物は、主相として前記遷移金属酸化物M
x
O
y
を含むとともに、副相として前記遷移金属Mにおける前記遷移金属酸化物M
x
O
y
と価数が異なる酸化物を含む請求項1に記載の電気化学セル。
【請求項3】
前記CO
2
吸着材は、Cu
2
O、CuO、MoO
3
、SnO
2
、FeO、MnO、CoOおよびAg
2
Oの少なくともいずれかを含有する請求項1または2に記載の電気化学セル。
【請求項4】
前記CO
2
吸着材は、主相としてCu
2
Oを含むとともに、副相としてCuOおよびCuの少なくともいずれかを含む複合酸化物粒子を含有する請求項1または2に記載の電気化学セル。
【請求項5】
前記作用極は、多孔質状の電極基材(103a)、前記CO
2
吸着材、導電助剤およびバインダを有しており、
前記CO
2
吸着材、前記導電助剤および前記バインダは、混合されて前記電極基材に塗布されている請求項1または2に記載の電気化学セル。
【請求項6】
前記作用極および前記対極を覆う電解質(107)を備え、
前記電解質は、イオン液体である請求項1または2に記載の電気化学セル。
【請求項7】
前記イオン液体は、非プロトン性である請求項6に記載の電気化学セル。
【請求項8】
電気化学反応によってCO
2
含有ガスからCO
2
を分離する二酸化炭素回収システムであって、
請求項1または2に記載の電気化学セルを備え、
前記作用極と前記対極との間に第1電圧が印加されることで、前記対極から前記作用極に電子が供給され、前記作用極は前記CO
2
含有ガスに含まれるCO
2
を吸着し、前記作用極と前記対極との間に第2電圧が印加されることで、前記作用極から前記対極に電子が供給され、前記作用極からCO
2
が脱離される二酸化炭素回収システム。
発明の詳細な説明
【技術分野】
【0001】
本発明は、電気化学セルおよび二酸化炭素回収システムに関する。
続きを表示(約 1,400 文字)
【背景技術】
【0002】
従来、電気化学反応によって二酸化炭素(以下、CO
2
とも言う)を含む混合ガスからCO
2
を吸着および脱離する電気化学セルが知られている。例えば、CO
2
を吸着および脱離するCO
2
吸着材として、ポリアントラキノンを用いた電気化学セルが知られている。
【0003】
しかしながら、CO
2
吸着材としてポリアントラキノンのような有機材料を用いる場合には、有機化合物が電気化学セルから溶出することにより、耐久性が低下するおそれがある。
【0004】
これに対し、特許文献1には、CO
2
吸着材として炭素材料を用いた電気化学セルが開示されている。
【先行技術文献】
【特許文献】
【0005】
特開2022-177883号公報
【発明の概要】
【発明が解決しようとする課題】
【0006】
しかしながら、CO
2
吸着材として炭素材料を用いる場合には、CO
2
の吸着・脱離に必要な酸化還元電位が大きくなる可能性がある。その結果、CO
2
回収時に消費される電気エネルギが大きくなるおそれがある。
【0007】
本発明は、上記点に鑑みて、耐久性を向上させつつ、CO
2
回収に必要な電気エネルギを低減できる電池化学セルおよび二酸化炭素回収システムを提供することを目的とする。
【課題を解決するための手段】
【0008】
上記目的を達成するため、請求項1に記載の電気化学セルは、CO
2
吸着材(103b)を含む作用極(103)と、対極(105)と、を備え、
作用極と対極との間に電圧が印加されることで、対極から作用極に電子が供給され、CO
2
吸着材は電気が供給されることに伴ってCO
2
含有ガスに含まれるCO
2
と結合し、
CO
2
吸着材は、一般式M
x
O
y
で表される遷移金属酸化物を含有する。
【0009】
ただし、Mは遷移金属であり、xは1≦x≦3の範囲内であり、yは1≦y≦5の範囲内であり、x=1かつy=2の組み合わせは除く。
【0010】
これによれば、CO
2
吸着材として、上記M
x
O
y
で表される遷移金属酸化物を含有する物質を用いることで、CO
2
の吸着電位と脱離電位との差である電位幅を小さくすることができる。このため、CO
2
の吸着・脱離に必要な投入電力を低減することができ、CO
2
回収に必要な電気エネルギを低減することが可能となる。さらに、CO
2
の吸着電位である還元電位の低電位化を図ることができるので、活性酸素が発生する副反応を抑制することができる。このため、耐久性を向上させることが可能となる。
(【0011】以降は省略されています)
この特許をJ-PlatPat(特許庁公式サイト)で参照する
関連特許
株式会社デンソーウェーブ
筐体
4日前
株式会社デンソー
車載器
17日前
株式会社デンソー
回転機
4日前
株式会社デンソー
接合体
1か月前
株式会社デンソー
反力装置
11日前
株式会社デンソー
電子装置
11日前
株式会社デンソーエレクトロニクス
発音装置
21日前
株式会社デンソー
電子装置
21日前
株式会社デンソー
電子装置
12日前
株式会社デンソー
ステータ
1か月前
株式会社デンソー
ステータ
1か月前
株式会社デンソー
ステータ
17日前
株式会社デンソー
ステータ
17日前
株式会社デンソー
ねじ部材
17日前
株式会社デンソー
検出装置
3日前
株式会社デンソー
半導体装置
17日前
株式会社デンソーテン
インバータ
11日前
株式会社デンソー
電流センサ
4日前
株式会社デンソー
農業用装置
13日前
株式会社デンソー
レーダ装置
10日前
株式会社デンソー
レーダ装置
21日前
株式会社デンソー
車両制御装置
11日前
株式会社デンソー
車載システム
11日前
株式会社デンソー
車載システム
11日前
株式会社デンソー
電気化学セル
21日前
株式会社デンソー
電力変換装置
17日前
株式会社デンソー
電波吸収装置
21日前
株式会社デンソー
衝突予測装置
12日前
株式会社デンソー
衝突予測装置
12日前
株式会社デンソー
運転支援装置
12日前
株式会社デンソー
電子制御装置
1か月前
株式会社デンソー
光位相変調器
1か月前
株式会社デンソー
電子制御装置
17日前
株式会社デンソー
電圧変換回路
1か月前
株式会社デンソー
電力変換装置
13日前
株式会社デンソー
ステータコア
24日前
続きを見る
他の特許を見る