TOP
|
特許
|
意匠
|
商標
特許ウォッチ
Twitter
他の特許を見る
10個以上の画像は省略されています。
公開番号
2025141557
公報種別
公開特許公報(A)
公開日
2025-09-29
出願番号
2024041556
出願日
2024-03-15
発明の名称
情報処理方法、オークションシステム、情報処理装置、及び、コンピュータプログラム
出願人
株式会社GSユアサ
代理人
個人
,
個人
主分類
G06Q
30/08 20120101AFI20250919BHJP(計算;計数)
要約
【課題】中古電動移動体の蓄電池の状態を購入検討時に閲覧可能とする情報処理方法、情報処理装置、及びコンピュータプログラムを提供する。
【解決手段】情報処理方法は、コンピュータが、中古電動移動体の選択を受け付け、選択された中古電動移動体の駆動用蓄電池の健全度又は航続距離を取得し、前記駆動用蓄電池の急速充電回数、急速充電回数比率、急速充電電気量比率、セル抵抗、セル抵抗のバラつき、セル電圧のバラつき、及び、セル温度のバラつきのうち、少なくとも1つを取得し、取得した健全度又は航続距離と、前記急速充電回数、急速充電回数比率、急速充電電気量比率、セル抵抗、セル抵抗のバラつき、セル電圧のバラつき、及び、セル温度のバラつきのうち、少なくとも1つとを含む前記駆動用蓄電池の電池評価結果を出力する。
【選択図】図1
特許請求の範囲
【請求項1】
コンピュータが、
中古電動移動体の選択を受け付け、
選択された中古電動移動体の駆動用蓄電池の健全度又は航続距離を取得し、
前記駆動用蓄電池の急速充電回数、急速充電回数比率、急速充電電気量比率、セル抵抗、セル抵抗のバラつき、セル電圧のバラつき、及び、セル温度のバラつきのうち、少なくとも1つを取得し、
取得した健全度又は航続距離と、前記急速充電回数、急速充電回数比率、急速充電電気量比率、セル抵抗、セル抵抗のバラつき、セル電圧のバラつき、及び、セル温度のバラつきのうち、少なくとも1つとを含む前記駆動用蓄電池の電池評価結果を出力する
情報処理方法。
続きを表示(約 1,400 文字)
【請求項2】
前記コンピュータは、
メーカー、車種、及び、年式のうちの少なくとも1つによって中古電動移動体を抽出し、
抽出された中古電動移動体それぞれの駆動用蓄電池の前記電池評価結果を出力する
請求項1に記載の情報処理方法。
【請求項3】
前記コンピュータは、
駆動用蓄電池の健全度又は航続距離を検索条件として、前記検索条件に当てはまる駆動用蓄電池を搭載した中古電動移動体を抽出する
請求項1又は2に記載の情報処理方法。
【請求項4】
前記コンピュータは、
複数の中古電動移動体のうち、前記駆動用蓄電池に対する前記電池評価結果を取得できる中古電動移動体を抽出し、
抽出された中古電動移動体から選択を受け付ける
請求項1又は2に記載の情報処理方法。
【請求項5】
前記コンピュータは、
駆動用蓄電池の急速充電回数、急速充電回数比率、急速充電電気量比率、セル抵抗、セル抵抗のバラつき、セル電圧のバラつき、及び、セル温度のバラつきのうち、少なくとも1つを検索条件として、前記検索条件に当てはまる駆動用蓄電池を搭載した中古電動移動体を抽出する
請求項1又は2に記載の情報処理方法。
【請求項6】
駆動用蓄電池の健全度又は航続距離は、中古電動移動体それぞれに搭載されているオン・ボード・ダイアグノーシスから収集され、前記中古電動移動体の識別データと対応付けて記憶装置に記憶されている
請求項1又は2に記載の情報処理方法。
【請求項7】
駆動用蓄電池の急速充電回数、急速充電回数比率、急速充電電気量比率、セル抵抗、セル抵抗のバラつき、セル電圧のバラつき、及び、セル温度のバラつきのうち、少なくとも1つは、中古電動移動体それぞれに搭載されているオン・ボード・ダイアグノーシスから収集され、前記中古電動移動体の識別データと対応付けて記憶装置に記憶されている
請求項1又は2に記載の情報処理方法。
【請求項8】
前記コンピュータは、
前記電池評価結果として、対象の中古電動移動体の以後の健全度又は航続距離の推移を出力する
請求項1又は2に記載の情報処理方法。
【請求項9】
前記コンピュータは、
中古電動移動体それぞれに搭載されているオン・ボード・ダイアグノーシスから収集され、記憶装置に前記中古電動移動体の識別データと対応付けて記憶されている前記中古電動移動体の駆動用蓄電池に関するデータに基づき、前記以後の健全度又は航続距離の推移を算出する
請求項8に記載の情報処理方法。
【請求項10】
前記コンピュータは、
対象の中古電動移動体と同車種の電動移動体についての使用年数、走行距離、前記電動移動体の駆動用蓄電池の充電回数、急速充電回数、急速充電回数比率、充電電気量、急速充電電気量比率、セル抵抗、セル抵抗バラつき、セル電圧バラつき、又はセル温度バラつきと、前記駆動用蓄電池の健全度の実際の推移との関係、及び、前記対象の中古電動移動体の駆動用蓄電池の健全度から、前記以後の健全度を算出する
請求項9に記載の情報処理方法。
(【請求項11】以降は省略されています)
発明の詳細な説明
【技術分野】
【0001】
本発明は、駆動用蓄電池を搭載している電動移動体についての情報処理方法、オークションシステム、情報処理装置、及び、コンピュータプログラムに関する。
続きを表示(約 2,100 文字)
【背景技術】
【0002】
蓄電池の劣化状態の推定方法として、種々の方法が提案されて精度が向上しており、外観から劣化状態が把握しやすくなっている(特許文献1など)。しかしながら、蓄電池の劣化は、蓄電池のロット間の品質バラつきなどに左右されることもあり、蓄電池を搭載する同じ機器を使用していたとしても、劣化の進行が異なることがある。電気自動車などの電動移動体の駆動用電力源として使用される蓄電池の劣化の進行は、電動移動体自体の使用方法や、充電方法によって評価が異なる。電動移動体の駆動用蓄電池は、蓄電池のパックが高電圧であることや、高い出力を持つことなどから、蓄電池に関する造詣が深い蓄電池の製造事業者や販売会社でなければ正確な評価が困難であることが多い。
【先行技術文献】
【特許文献】
【0003】
特許第7103323号公報
【発明の概要】
【発明が解決しようとする課題】
【0004】
同じような使用履歴下であっても、蓄電池の劣化の進行が異なるのは、蓄電池の品質の寄与が大きい。蓄電池の劣化の差異が、蓄電池を搭載する電動移動体の所有者に起因するものではないにもかかわらず、蓄電池の状態によって電動移動体の買取価格が異なることから、その所有者間に不公平感が生まれる。また、電動移動体の取扱業者では、蓄電池の劣化の進行状況の把握が困難なことから、その蓄電池の劣化の進行の状況が、電動移動体の買取価格などに正確に反映されない場合がある。
【0005】
本発明の一態様は、中古電動移動体の蓄電池の状態を購入検討時に閲覧可能とする情報処理方法、オークションシステム、情報処理装置、及び、コンピュータプログラムを提供することを目的とする。
【課題を解決するための手段】
【0006】
本発明の一実施形態の情報処理方法は、コンピュータが、中古電動移動体の選択を受け付け、選択された中古電動移動体の駆動用蓄電池の健全度又は航続距離を取得し、前記駆動用蓄電池の急速充電回数、急速充電回数比率、急速充電電気量比率、セル抵抗、セル抵抗のバラつき、セル電圧のバラつき、及び、セル温度のバラつきのうち、少なくとも1つを取得し、取得した健全度又は航続距離と、前記急速充電回数、急速充電回数比率、急速充電電気量比率、セル抵抗、セル抵抗のバラつき、セル電圧のバラつき、及び、セル温度のバラつきのうち、少なくとも1つとを含む前記駆動用蓄電池の電池評価結果を出力する。
【発明の効果】
【0007】
本発明の一側面に係る情報処理方法によれば、中古の電動移動体の蓄電池の状態が、購入検討時に閲覧可能となる。中古の電動移動体の評価を、正確な蓄電池の評価を加味して正しく実施できる。
【図面の簡単な説明】
【0008】
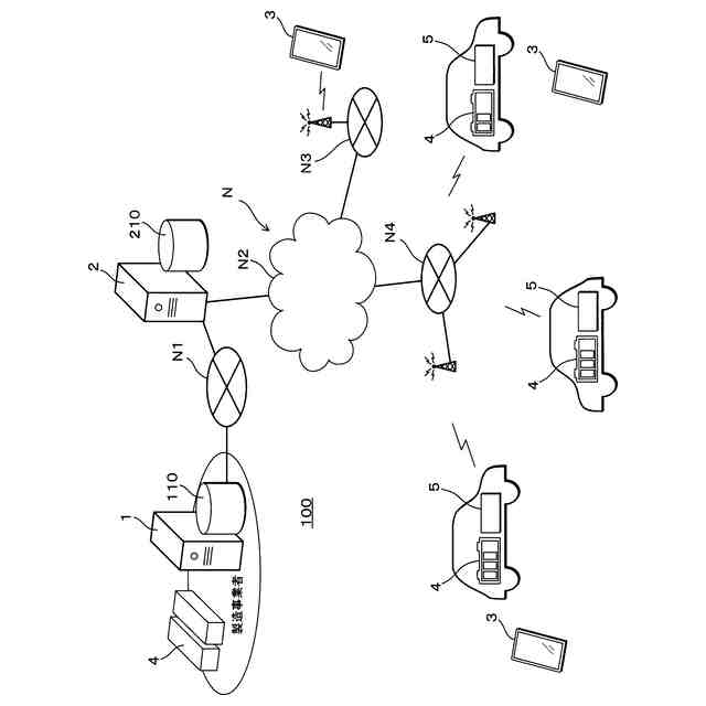
第1実施形態の情報処理システムの概要図である。
第1情報処理装置の構成を示すブロック図である。
第2情報処理装置の構成を示すブロック図である。
情報端末装置の構成を示すブロック図である。
通信装置の構成を示すブロック図である。
情報処理システムにおける処理手順の一例を示すフローチャートである。
中古自動車のリストの表示画面の一例を示す。
第1実施形態における電池評価結果の取得処理手順の一例を示すフローチャートである。
情報端末装置における表示画面の一例を示す図である。
情報端末装置における表示画面の他の一例を示す図である。
第2実施形態における電池評価結果の取得処理手順の一例を示すフローチャートである。
第2実施形態における表示画面の一例を示す図である。
第3実施形態におけるオークションを実施する処理手順の一例を示すフローチャートである。
第3実施形態におけるオークションを実施する処理手順の一例を示すフローチャートである。
第3実施形態における情報端末装置における表示画面の一例を示す図である。
【発明を実施するための形態】
【0009】
始めに、本明細書によって開示される情報処理方法、情報処理装置、及び、コンピュータプログラムの概要について説明する。
【0010】
(1)情報処理方法は、コンピュータが、中古電動移動体の選択を受け付け、選択された中古電動移動体の駆動用蓄電池の健全度又は航続距離を取得し、前記駆動用蓄電池の急速充電回数、急速充電回数比率、急速充電電気量比率、セル抵抗、セル抵抗のバラつき、セル電圧のバラつき、及び、セル温度のバラつきのうち、少なくとも1つを取得し、取得した健全度又は航続距離と、前記急速充電回数、急速充電回数比率、急速充電電気量比率、セル抵抗、セル抵抗のバラつき、セル電圧のバラつき、及び、セル温度のバラつきのうち、少なくとも1つとを含む前記駆動用蓄電池の電池評価結果を出力する。
(【0011】以降は省略されています)
この特許をJ-PlatPat(特許庁公式サイト)で参照する
関連特許
株式会社GSユアサ
蓄電設備
2日前
株式会社GSユアサ
蓄電装置
9日前
株式会社GSユアサ
PCS盤
3日前
株式会社GSユアサ
蓄電装置
13日前
株式会社GSユアサ
蓄電設備
2日前
株式会社GSユアサ
鉛蓄電池
5日前
株式会社GSユアサ
温度保護装置及び蓄電装置
17日前
株式会社GSユアサ
鉛蓄電池用極板及び鉛蓄電池
4日前
株式会社GSユアサ
鉛蓄電池用極板及び鉛蓄電池
4日前
株式会社GSユアサ
電力変換器、充電装置及び車両
2日前
株式会社GSユアサ
保護装置、蓄電装置、及び保護方法
23日前
株式会社GSユアサ
FETの駆動回路、保護装置及び蓄電装置
13日前
株式会社GSユアサ
全固体蓄電素子及び全固体蓄電素子の製造方法
11日前
株式会社GSユアサ
電力変換器、多脚トランス、充電装置及び車両
2日前
株式会社GSユアサ
コンバータ、パワーコンディショナ及び蓄電システム
13日前
株式会社GSユアサ
非水電解質蓄電素子、その使用方法及びその製造方法
4日前
株式会社GSユアサ
エネルギー貯蔵システム、蓄電バンクの初期充電方法
3日前
株式会社GSユアサ
電力変換器、電力変換器の制御方法、充電装置及び車両
2日前
株式会社GSユアサ
推定装置、推定システム、推定方法及び推定プログラム
23日前
株式会社GSユアサ
エネルギー貯蔵システム、蓄電池盤の満充電容量計測方法。
3日前
株式会社GSユアサ
蓄電設備の予防保全装置、予防保全方法、及びコンピュータプログラム
23日前
株式会社GSユアサ
コンバータシステム、コンバータシステムの制御方法及び無停電電源システム
13日前
株式会社GSユアサ
硫化物固体電解質及び全固体電池
17日前
株式会社GSユアサ
情報処理方法、オークションシステム、情報処理装置、及び、コンピュータプログラム
13日前
株式会社GSユアサ
電力変換器、充電装置、車両、電源装置、力率改善回路、DC-DCコンバータおよびインバータ
11日前
株式会社GSユアサ
充放電システム、及び、充放電システムの制御方法
13日前
個人
工程設計支援装置
1か月前
個人
フラワーコートA
2か月前
個人
QRコードの彩色
2日前
個人
地球保全システム
11日前
個人
介護情報提供システム
2か月前
個人
冷凍食品輸出支援構造
1か月前
個人
為替ポイント伊達夢貯
1か月前
個人
携帯情報端末装置
1か月前
個人
残土処理システム
4日前
個人
表変換編集支援システム
1か月前
続きを見る
他の特許を見る