TOP
|
特許
|
意匠
|
商標
特許ウォッチ
Twitter
他の特許を見る
10個以上の画像は省略されています。
公開番号
2025141492
公報種別
公開特許公報(A)
公開日
2025-09-29
出願番号
2024041448
出願日
2024-03-15
発明の名称
水上移動体用推進装置
出願人
本田技研工業株式会社
代理人
弁理士法人大島特許事務所
主分類
B63H
20/14 20060101AFI20250919BHJP(船舶またはその他の水上浮揚構造物;関連艤装品)
要約
【課題】水上移動体用推進装置の全高を低くすることで、水上移動体用推進装置の低頭化の要請に応える。
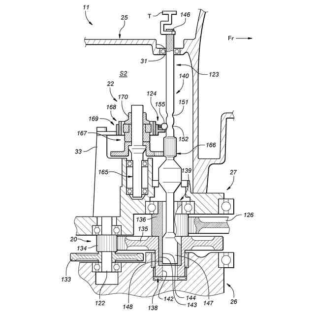
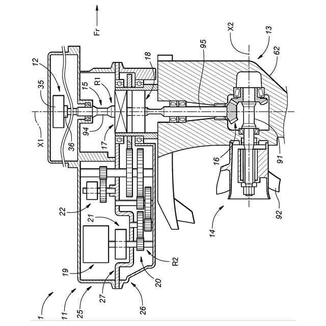
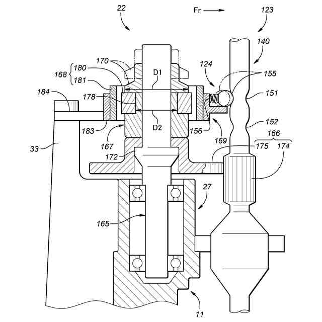
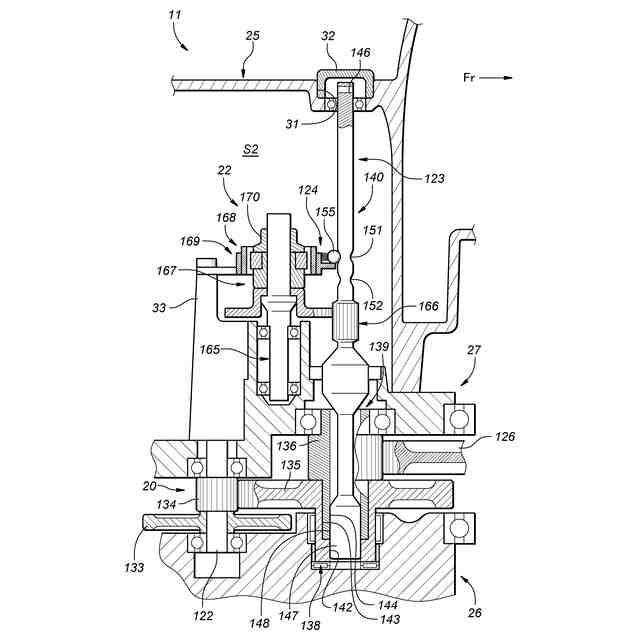
【解決手段】水上移動体用推進装置は、上部ケース11に回動軸X1回りに回動可能に支持される下部ケース13と、上部ケース11に収容される操舵モータ19と、操舵モータ19の回転を減速する操舵減速機構20と、を備え、操舵減速機構20は、操舵モータ19の出力軸118と同軸に配置される出力軸ギヤ125と、回動軸X1と同軸に配置されるリングギヤ126と、操舵力伝達経路R2において出力軸ギヤ125とリングギヤ126との間に介在する複数の減速ギヤ131~136と、を有し、複数の減速ギヤ131~136の少なくとも一つは、回動軸X1が鉛直方向に延在する状態において、出力軸ギヤ125よりも上方に位置する。
【選択図】図3
特許請求の範囲
【請求項1】
水上移動体用推進装置であって、
水上移動体の船体によって支持される上部ケースと、
前記上部ケースに収容される推進モータと、
前記上部ケースに回動軸回りに回動可能に支持される下部ケースと、
前記下部ケースに支持され、前記推進モータの駆動力によって推進軸回りに回転する推進器と、
前記上部ケースに収容される操舵モータと、
前記操舵モータから前記下部ケースに至る操舵力伝達経路に設けられ、前記操舵モータの回転を減速する操舵減速機構と、を備え、
前記操舵減速機構は、
前記操舵モータの出力軸と平行に配置される少なくとも一つのギヤ軸と、
前記操舵モータの前記出力軸と同軸に配置される出力軸ギヤと、
前記回動軸と同軸に配置されるリングギヤと、
前記少なくとも一つのギヤ軸に設けられ、前記操舵力伝達経路において前記出力軸ギヤと前記リングギヤとの間に介在する複数の減速ギヤと、を有し、
前記複数の減速ギヤの少なくとも一つは、前記回動軸が鉛直方向に延在する状態において、前記出力軸ギヤよりも上方に位置する水上移動体用推進装置。
続きを表示(約 900 文字)
【請求項2】
前記少なくとも一つのギヤ軸は、平面視において、前記リングギヤの左右方向の幅内に位置している請求項1に記載の水上移動体用推進装置。
【請求項3】
前記操舵モータの輪郭は、平面視において、前記リングギヤの左右方向の幅内に位置している請求項1又は2に記載の水上移動体用推進装置。
【請求項4】
前記操舵モータの前記出力軸と前記回動軸とは、前後方向に延びる同一直線上に配置されている請求項1又は2に記載の水上移動体用推進装置。
【請求項5】
前記下部ケースの回動を規制するブレーキ機構を更に備え、
前記ブレーキ機構の輪郭は、平面視において、前記リングギヤの左右方向の幅内に位置している請求項1又は2に記載の水上移動体用推進装置。
【請求項6】
前記上部ケースの内部空間をオイル室とドライ室とに区画するセパレータを更に備え、
前記操舵モータは、前記ドライ室に収容されるモータ本体を有し、
前記複数の減速ギヤは、前記オイル室に収容されている請求項1又は2に記載の水上移動体用推進装置。
【請求項7】
前記推進モータから前記推進器に至る駆動力伝達経路に設けられ、前記推進モータの回転を減速する遊星減速機構を更に備え、
前記下部ケースは、前記回動軸を中心とする円筒形状の回動部を有し、
前記遊星減速機構は、前記回動部の内周に配置され、
前記複数の減速ギヤは、前記回動部と同じ高さに配置されている請求項1又は2に記載の水上移動体用推進装置。
【請求項8】
前記複数の減速ギヤは、前記リングギヤと係合する下流端ギヤを含み、
前記下流端ギヤは、前記複数の減速ギヤの中で最も上方に位置している請求項1又は2に記載の水上移動体用推進装置。
【請求項9】
前記複数の減速ギヤは、前記出力軸ギヤと係合する上流端ギヤを含み、
前記上流端ギヤは、前記複数の減速ギヤの中で最も下方に位置している請求項1又は2に記載の水上移動体用推進装置。
発明の詳細な説明
【技術分野】
【0001】
本発明は、水上移動体用推進装置に関する。
続きを表示(約 1,600 文字)
【背景技術】
【0002】
近年、低炭素社会又は脱炭素社会の実現に向けた取り組みが活発化し、船外機などの水上移動体用推進装置においてもCO
2
排出量の削減やエネルギー効率の改善のために、電動化技術に関する研究開発が行われている。
【0003】
例えば、特許文献1には、プロペラを備えた推進器(推進ユニット)と、垂直軸を中心に推進器を回動させる操舵モータ(制御モータ)と、操舵モータの回転を減速する操舵減速機構(制御トランスミッション)と、を備えた水上移動体用推進装置(船舶推進装置)が開示されている。
【先行技術文献】
【特許文献】
【0004】
米国特許第8550948号公報
【発明の概要】
【発明が解決しようとする課題】
【0005】
特許文献1では、操舵減速機構は、遊星歯車機構によって構成されており、且つ、操舵モータと上下に重ねて配置されている。そのため、水上移動体用推進装置の全高が高くなり、水上移動体用推進装置の低頭化の要請に応えられなくなる虞がある。
【0006】
本発明は、以上の背景に鑑み、全高を低くすることで低頭化の要請に応えることが可能な水上移動体用推進装置を提供することを課題とする。そして、延いてはエネルギー効率の改善に寄与するものである。
【課題を解決するための手段】
【0007】
上記課題を解決するために本発明のある態様は、水上移動体用推進装置(1、201)であって、水上移動体(3)の船体(4)によって支持される上部ケース(11)と、前記上部ケースに収容される推進モータ(12)と、前記上部ケースに回動軸(X1)回りに回動可能に支持される下部ケース(13)と、前記下部ケースに支持され、前記推進モータの駆動力によって推進軸(X2)回りに回転する推進器(14)と、前記上部ケースに収容される操舵モータ(19)と、前記操舵モータから前記下部ケースに至る操舵力伝達経路(R2)に設けられ、前記操舵モータの回転を減速する操舵減速機構(20、203)と、を備え、前記操舵減速機構は、前記操舵モータの出力軸(118)と平行に配置される少なくとも一つのギヤ軸(121~123、211~214)と、前記操舵モータの前記出力軸と同軸に配置される出力軸ギヤ(125、215)と、前記回動軸と同軸に配置されるリングギヤ(126、216)と、前記少なくとも一つのギヤ軸に設けられ、前記操舵力伝達経路において前記出力軸ギヤと前記リングギヤとの間に介在する複数の減速ギヤ(131~136、221~228)と、を有し、前記複数の減速ギヤの少なくとも一つは、前記回動軸が鉛直方向に延在する状態において、前記出力軸ギヤよりも上方に位置する。
【0008】
この態様によれば、操舵減速機構が平行軸ギヤトレインによって構成され、且つ、複数の減速ギヤの少なくとも一つが出力軸ギヤよりも上方に位置する。そのため、操舵減速機構が遊星歯車機構によって構成され、且つ、操舵モータと上下に重ねて配置される場合と比較して、水上移動体用推進装置の全高が低くなり、水上移動体用推進装置を低頭化することができる。
【0009】
上記の態様において、前記少なくとも一つのギヤ軸は、平面視において、前記リングギヤの左右方向の幅(W1)内に位置していても良い。
【0010】
この態様によれば、水上移動体用推進装置の左右方向の幅を短縮することができる。そのため、水上移動体用推進装置の低頭化と相まって、水上移動体用推進装置の全体を小型化することができる。これにより、水上移動体用推進装置を軽量化できるほか、複数の水上移動体用推進装置を船体に配置する場合にも、好適に配置することができる。また、水上移動体の推進抵抗を低減することができる。
(【0011】以降は省略されています)
この特許をJ-PlatPat(特許庁公式サイト)で参照する
関連特許
本田技研工業株式会社
電動無段変速装置
1日前
本田技研工業株式会社
駆動装置ユニット
2日前
本田技研工業株式会社
学習装置、推定装置、学習方法、推定方法及びプログラム
5日前
個人
水上遊具
4か月前
個人
洋上研究所
3か月前
個人
川下り用船
10か月前
個人
発電船
12か月前
個人
補助機構
7か月前
個人
船用横揺防止具
8か月前
個人
津波防災ウエア
2か月前
個人
コンパクトシティ船
7か月前
個人
渦流動力推進構造
7か月前
個人
セールのバテンガイド装置
3か月前
炎重工株式会社
浮標
9か月前
炎重工株式会社
浮標
9か月前
個人
水質浄化・集熱昇温システム
4か月前
住友重機械工業株式会社
船舶
4か月前
株式会社フルトン
水中捕捉装置
7か月前
株式会社ラフティ
サーフボード
3か月前
個人
スクリュープロペラ
7か月前
個人
船舶
9か月前
オーケー工業株式会社
係留フック
8か月前
個人
回転式による流体流出防止タンカー
7か月前
スズキ株式会社
船外機
7か月前
スズキ株式会社
船外機
7か月前
朝日電装株式会社
船外機用照明装置
2か月前
ヤマハ発動機株式会社
船外機
9か月前
スズキ株式会社
船外機
5か月前
スズキ株式会社
船外機
5か月前
株式会社アカデミー出版
船舶
3か月前
常石造船株式会社
メタノール燃料船
10か月前
ナブテスコ株式会社
主機制御システム
26日前
藤倉コンポジット株式会社
架台
10か月前
株式会社ユピテル
システム及びプログラム等
6か月前
株式会社神戸タフ興産
船舶の甲板構造
10か月前
炎重工株式会社
自律航行浮遊体
9か月前
続きを見る
他の特許を見る