TOP
|
特許
|
意匠
|
商標
特許ウォッチ
Twitter
他の特許を見る
公開番号
2025141441
公報種別
公開特許公報(A)
公開日
2025-09-29
出願番号
2024041372
出願日
2024-03-15
発明の名称
電子機器、情報処理システム、情報処理方法、およびプログラム
出願人
株式会社デンソーテン
代理人
弁理士法人秀和特許事務所
主分類
G01S
19/48 20100101AFI20250919BHJP(測定;試験)
要約
【課題】電子機器に外付けされた外部衛星測位モジュールで測位を行っているときに、内蔵衛星測位モジュールに備えられたRTCデバイスで生成される時刻情報が実際の時刻とずれることを防止する。
【解決手段】電子機器は、内蔵衛星測位モジュールと、内蔵衛星測位モジュールを制御するコントローラと、を備える。内蔵衛星測位モジュールは、コントローラに供給される第1の時刻情報を生成するクロック生成回路を有する。コントローラは、電子機器に外部インタフェースで接続される外部衛星測位モジュールの接続有無を判定する。そして、コントローラは、外部衛星測位モジュールが外部インタフェースに接続され、かつ外部衛星測位モジュールで測位された第2の時刻情報を含むデータが取得されている場合には、外部衛星測位モジュールから取得した第2の時刻情報によって、クロック生成回路で生成される第1の時刻情報を補正する。
【選択図】図1
特許請求の範囲
【請求項1】
内蔵衛星測位モジュールと、前記内蔵衛星測位モジュールを制御するコントローラと、を備える電子機器であって、
前記内蔵衛星測位モジュールは、前記コントローラに供給される第1の時刻情報を生成するクロック生成回路を有し、
前記コントローラは、前記電子機器に外部インタフェースで接続される外部衛星測位モジュールで測位された第2の時刻情報を含むデータが取得されている場合には、前記第2の時刻情報によって、前記クロック生成回路で生成される前記第1の時刻情報を補正する電子機器。
続きを表示(約 930 文字)
【請求項2】
前記コントローラは、前記内蔵衛星測位モジュールにおいて測位が行われているか否かを判定し、前記内蔵衛星測位モジュールにおいて測位が行われていない場合に、前記第1の時刻情報を補正する請求項1に記載の電子機器。
【請求項3】
内蔵衛星測位モジュールと、前記内蔵衛星測位モジュールを制御するコントローラと、を備える電子機器と、前記電子機器に外部インタフェースで接続される外部衛星測位モジュールとを有する情報処理システムであって、
前記内蔵衛星測位モジュールは、前記コントローラに供給される第1の時刻情報を生成するクロック生成回路を有し、
前記コントローラは、前記電子機器に前記外部インタフェースで接続される前記外部衛星測位モジュールで測位された第2の時刻情報を含むデータが取得されている場合には、前記第2の時刻情報によって、前記クロック生成回路で生成される前記第1の時刻情報を補正する
情報処理システム。
【請求項4】
内蔵衛星測位モジュールを制御するコントローラが実行する情報処理方法であって、
前記内蔵衛星測位モジュールは、前記コントローラに供給される第1の時刻情報を生成するクロック生成回路を有し、
前記コントローラが、前記コントローラに外部インタフェースで接続される外部衛星測位モジュールで測位された第2の時刻情報を含むデータが取得されている場合には、前記第2の時刻情報によって、前記クロック生成回路で生成される前記第1の時刻情報を補正する
情報処理方法。
【請求項5】
内蔵衛星測位モジュールを制御するコントローラに実行させるプログラムであって、
前記内蔵衛星測位モジュールは、前記コントローラに供給される第1の時刻情報を生成するクロック生成回路を有し、
前記コントローラに、前記コントローラに外部インタフェースで接続される外部衛星測位モジュールで測位された第2の時刻情報を含むデータが取得されている場合には、前記第2の時刻情報によって、前記クロック生成回路で生成される前記第1の時刻情報を補正させるための
プログラム。
発明の詳細な説明
【技術分野】
【0001】
本発明は、電子機器、情報処理システム、情報処理方法、およびプログラムに関するものである。
続きを表示(約 1,800 文字)
【背景技術】
【0002】
例えば、下記特許文献1には、接続されたGlobal Positioning System(GPS)ユニ
ットによりGPS時刻に関する情報を取得し、内部時刻を修正する電子機器が記載されている。以下、GPSユニット等、測位衛星からの無線信号(電波)を基に測位を行う装置は、衛星測位モジュールとも呼ばれる。
【先行技術文献】
【特許文献】
【0003】
特開平11-223686号公報
【発明の概要】
【発明が解決しようとする課題】
【0004】
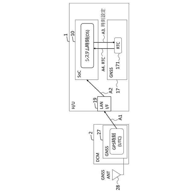
ところで、電子機器の中には衛星測位モジュールを内蔵しているものがあり、そのような電子機器では、電子機器が備える衛星測位モジュール(以下、内蔵衛星測位モジュール)に備えられるReal Time Clock(RTC)デバイスを電子機器のRTCデバイスとして
流用することで、別途RTCデバイスを搭載することなくコストダウンを図ることが期待される。ここで、RTCデバイスは、クロック源である水晶から時刻情報のデジタルデータを生成し、出力するデバイスである。RTCデバイスは、常に電源からの電力を受けることで、時刻情報を刻み続ける。RTCデバイスは、RTC Integrated Circuit(IC)とも呼ばれる。
【0005】
上記のように、内蔵衛星測位モジュールに備えられるRTCデバイスを流用する場合、内蔵衛星測位モジュールによって測位が行なわれているときは衛星からの電波によりRTCデバイスの時刻が修正される。一方、電子機器には、外部衛星測位モジュールが外付けされ、外部衛星測位モジュールによる測位が行なわれる場合がある。外部衛星測位モジュールによる測位が行なわれる場合には、内蔵衛星測位モジュールでの測位が行なわれないため、RTCの時刻が修正されず実際の時刻とずれが生じるという課題がある。
【0006】
開示の実施形態の側面は、電子機器に外付けされた外部衛星測位モジュールで測位を行っているときに、内蔵衛星測位モジュールに備えられたRTCデバイスで生成される時刻情報が実際の時刻とずれることを防止することである。
【課題を解決するための手段】
【0007】
開示の実施形態の一側面は、内蔵衛星測位モジュールと、内蔵衛星測位モジュールを制御するコントローラと、を備える電子機器によって例示される。内蔵衛星測位モジュールは、コントローラに供給される第1の時刻情報を生成するクロック生成回路を有する。
【0008】
コントローラは、電子機器に外部インタフェースで接続される外部衛星測位モジュールの接続有無を判定する。そして、コントローラは、外部衛星測位モジュールが外部インタフェースに接続され、かつ外部衛星測位モジュールで測位された第2の時刻情報を含むデータが取得されている場合には、外部衛星測位モジュールから取得した第2の時刻情報によって、クロック生成回路で生成される第1の時刻情報を補正する。
【発明の効果】
【0009】
コントローラは、外部衛星測位モジュールが外部インタフェースに接続され、かつ外部衛星測位モジュールで測位された第2の時刻情報を含むデータが取得されている場合には、外部衛星測位モジュールから取得した第2の時刻情報によって、クロック生成回路で生成される第1の時刻情報を補正する。すなわち、電子機器1は、外部衛星測位モジュールで測位を行っているときは外部衛星測位モジュールからのデータで内蔵衛星測位モジュールに備えられたRTCの時刻を補正することで、内蔵衛星測位モジュールに備えられたRTCデバイスで生成される時刻情報が実際の時刻とずれることを防止できる。
【図面の簡単な説明】
【0010】
図1は、電子機器と電子機器に外付けされた通信装置を例示する図である。
図2は、通信装置が外付けされていない電子機器を例示する図である。
図3は、電子機器のハードウェア構成を例示する図である。
図4は、電子機器の処理を例示するフローチャートである。
【発明を実施するための形態】
(【0011】以降は省略されています)
この特許をJ-PlatPat(特許庁公式サイト)で参照する
関連特許
株式会社デンソーテン
車両用警報装置、車両用警報システム及びメータユニット
11日前
個人
メジャー文具
13日前
個人
高精度同時多点測定装置
5日前
個人
アクセサリー型テスター
6日前
日本精機株式会社
位置検出装置
19日前
日本精機株式会社
位置検出装置
19日前
日本精機株式会社
位置検出装置
19日前
ユニパルス株式会社
ロードセル
12日前
大和製衡株式会社
組合せ秤
24日前
大和製衡株式会社
組合せ秤
24日前
アズビル株式会社
圧力センサ
18日前
株式会社東芝
センサ
24日前
株式会社ユーシン
操作検出装置
21日前
ダイキン工業株式会社
監視装置
10日前
株式会社チノー
放射光測温装置
12日前
トヨタ自動車株式会社
監視装置
11日前
株式会社東芝
センサ
24日前
トヨタ自動車株式会社
検査装置
21日前
エイブリック株式会社
磁気センサ回路
18日前
株式会社ヨコオ
ソケット
11日前
株式会社ヨコオ
ソケット
12日前
TDK株式会社
磁気センサ
11日前
ローム株式会社
半導体装置
4日前
長崎県
形状計測方法
6日前
TDK株式会社
ガスセンサ
17日前
TDK株式会社
ガスセンサ
18日前
株式会社東芝
重量測定装置
17日前
TDK株式会社
ガスセンサ
12日前
東レエンジニアリング株式会社
計量装置
21日前
ローム株式会社
半導体装置
4日前
株式会社熊谷組
RI計測装置
19日前
三菱マテリアル株式会社
温度センサ
13日前
日本特殊陶業株式会社
センサ
10日前
TDK株式会社
電磁波センサ
12日前
日本特殊陶業株式会社
センサ
10日前
日本特殊陶業株式会社
センサ
10日前
続きを見る
他の特許を見る