TOP
|
特許
|
意匠
|
商標
特許ウォッチ
Twitter
他の特許を見る
公開番号
2025139240
公報種別
公開特許公報(A)
公開日
2025-09-26
出願番号
2024038063
出願日
2024-03-12
発明の名称
電磁波整合装置、電磁波通過装置、及び壁
出願人
古野電気株式会社
代理人
弁理士法人 楓国際特許事務所
主分類
H01Q
15/14 20060101AFI20250918BHJP(基本的電気素子)
要約
【課題】通信のための機器を増設することなく、建物内での通信可能な範囲を拡張して、自由な箇所での無線通信を維持できる電磁波整合装置、電磁波通過装置、及び壁を構成する。
【解決手段】互いに対向する第1面S1及び第2面S2を有する壁本体部1等の誘電体部材の第1面S1に電磁波通過装置201、第2面S2に電磁波通過装置202がそれぞれ配置されている。電磁波通過装置201は第1共振回路、電磁波通過装置202は第2共振回路をそれぞれ備える。第1共振回路と第2共振回路とは、主に磁界を介して電磁界結合する。
【選択図】図4
特許請求の範囲
【請求項1】
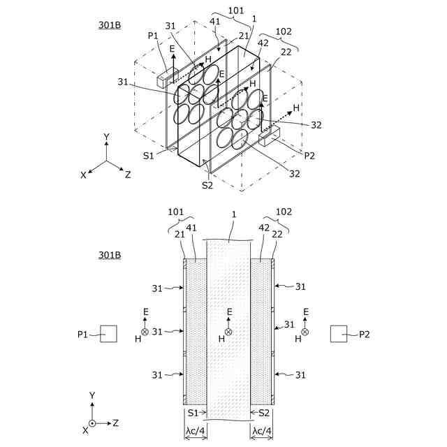
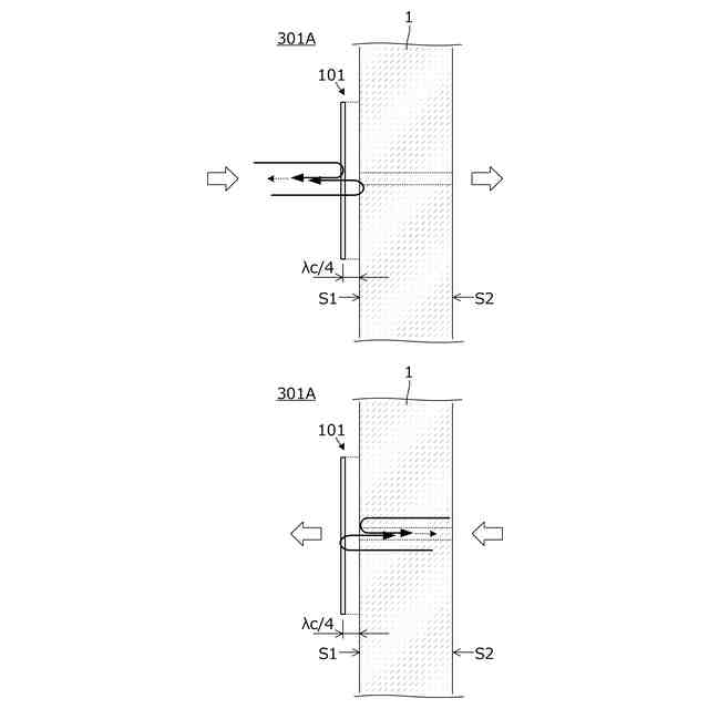
互いに対向する第1面及び第2面を有する誘電体部材の少なくとも前記第1面に対向し、所定周波数で電流が周回方向に流れる複数の非導電体部を有して、前記第1面に対する垂直方向の磁界エネルギーを主とする電磁波を通過させる導電体板を備え、
前記誘電体部材と前記導電体板との対向距離は、前記所定周波数における、前記誘電体部材での反射波と前記導電体板での反射波との合成電力が、前記誘電体部材と前記導電体板との間での前記電磁波の往復による位相差により低減される距離であり、
前記誘電体部材と前記導電体板との間、前記誘電体部材、及び前記導電体板の外部の自由空間、による電磁波伝送路をインピーダンス整合させる、
電磁波整合装置。
続きを表示(約 1,000 文字)
【請求項2】
前記導電体板と前記誘電体部材との間に、前記誘電体部材より低誘電率の誘電体層が介在されている、
請求項1に記載の電磁波整合装置。
【請求項3】
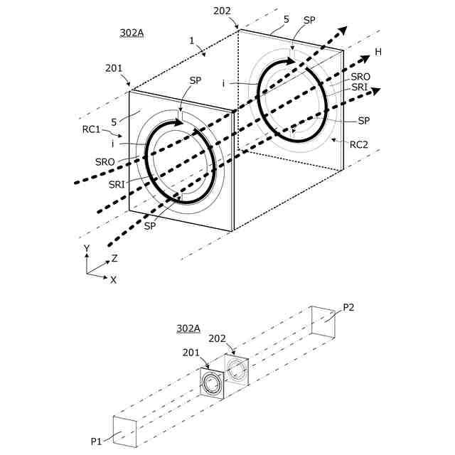
互いに対向する第1面及び第2面を有する誘電体部材の前記第1面に設けられ、所定周波数で共振する第1共振回路と、
前記第2面に設けられ、前記所定周波数で共振する第2共振回路と、
を備え、
前記第1共振回路と前記第2共振回路とが、主に磁界を介して電磁界結合する、
電磁波通過装置。
【請求項4】
前記第1共振回路及び前記第2共振回路は、シート状に形成され、インダクタンス成分及びキャパシタンス成分を有する複数の導体パターンで構成された、
請求項3に記載の電磁波通過装置。
【請求項5】
前記第1共振回路、前記第2共振回路の一方又は両方は、スプリットリング共振器である、
請求項4に記載の電磁波通過装置。
【請求項6】
前記複数の共振回路にそれぞれ近接配置され、前記複数の共振回路とそれぞれ電磁界結合する複数のアンテナを備える、
請求項4又は5に記載の電磁波通過装置。
【請求項7】
前記第1共振回路、前記第2共振回路の一方又は両方は、誘電体共振器である、
請求項3に記載の電磁波通過装置。
【請求項8】
前記複数の共振回路が前記誘電体部材に沿ってアレー配置された、
請求項3から5のいずれかに記載の電磁波通過装置。
【請求項9】
前記誘電体部材に沿ってアレー配置された前記複数の共振回路は、共振周波数の異なる複数種の共振回路で構成されている、
請求項8に記載の電磁波通過装置。
【請求項10】
前記第1共振回路に対向して、前記所定周波数で電流が周回方向に流れる複数の非導電体部を有する、導電体板を備え、
前記誘電体部材と前記第1共振回路との対向距離が、前記所定周波数における、前記誘電体部材での反射波と前記第1共振回路での反射波との合成電力が、前記誘電体部材と前記第1共振回路との間での前記電磁波の往復による位相差により低減される距離であり、
前記第1共振回路と前記導電体板との間の電磁波伝送路と、前記導電体板より外部の自由空間による電磁波伝送路と、のインピーダンス整合をとる、
請求項3から5のいずれかに記載の電磁波通過装置。
(【請求項11】以降は省略されています)
発明の詳細な説明
【技術分野】
【0001】
本発明は、例えばマンションやホテルなどの建物の壁に関し、特に、壁面電磁波整合装置、電磁波透過装置、及び壁に関する。
続きを表示(約 1,500 文字)
【背景技術】
【0002】
建物は、それを構築するための、構造耐力上主要な部分に含まれ構造部材と、構造耐力上主要な部分に含まれない化粧材・仕上げ材・内装材などの非構造部材と、で構成されている。例えば、マンションやホテルなどでは、石膏ボード(PB)、軽量気泡コンクリート(ALC)又はコンクリート等が、壁、天井、床などの一部に含まれる。
【0003】
一般に、建物内での無線LANは、一室内での利用に限らず、壁や天井・床を隔てた広域空間内で利用される。
【0004】
しかし、建物内で無線LANを利用する場合、建物の構造部材や非構造部材による、無線LANの電波の反射・吸収が問題となることが多い。石膏ボード(PB)、軽量気泡コンクリート(ALC)又はコンクリート等では、自由空間のような電波の伝搬はなされず、これら部材の表面で電波の反射が生じ、これら部材の内部で電波の吸収(減衰)が生じる。したがって、通信経路での電波の伝搬経路での挿入損失が大きくなる。
【0005】
そのため、一般的には、アクセスポイントを増設することにより、各通信経路における電波の挿入損失を低減させることによって通信可能範囲を補っている。
【先行技術文献】
【特許文献】
【0006】
日本電気硝子株式会社、"5G無線通信エリアを拡大する新製品を開発"、[online]、2022年6月23日、News Release、[2024年1月16日検索]、インターネット〈URL:https://www.neg.co.jp/news/20220623-5697.html〉
NTTドコモ及びAGC、"NTTドコモとAGC、28GHz帯5G電波の透過・反射を動的制御する透明メタサーフェス技術の実証実験を実施 | IoT NEWS"、[online]、2024年01月13日、[2024年1月16日検索]、インターネット〈URL:https://iotnews.jp/communication/144891/〉
富士通、"Poynting for Microwave 解析事例FSS(周波数選択性表面)による無線LAN帯の遮蔽効果の解析"、[online]、2021年、[2024年1月16日検索]、インターネット〈URL:https://www.fujitsu.com/jp/solutions/business-technology/tc/fields/cae/poynting/fss.html〉
【発明の概要】
【発明が解決しようとする課題】
【0007】
しかし、例えば工事中の建物内における用途では、通信のための機器の増設を自由に行うことができないという課題があり、自由な箇所での例えば無線LAN等を用いたデジタルデバイスの活用が困難となる。
【0008】
例えば非特許文献1には、壁内に導波路、その両端にアンテナを持たせた回路を壁内に埋め込むことで、壁による挿入損失を抑え、アンテナを用いることで、反射の抑制とアンテナ利得による通信距離の拡大を図ることを意図した、電源不要のリピーターが示されている。
【0009】
また、非特許文献2には、高誘電率材料の壁に対して、自由空間(空気)とインピーダンス整合させるために、板材に金属メッシュを貼り付け、周波数帯に応じて誘電体表面のインピーダンスを定める方法が示されている。
【0010】
また、非特許文献3には、金属パッチやスロットを平面上に周期配列させ、共振を利用してインピーダンス整合させる方法が示されている。
(【0011】以降は省略されています)
この特許をJ-PlatPat(特許庁公式サイト)で参照する
関連特許
古野電気株式会社
装置
1か月前
古野電気株式会社
送受波器
25日前
古野電気株式会社
監視装置
1か月前
古野電気株式会社
ヘリカルアンテナ
1日前
古野電気株式会社
アンテナ装置、送信機、及びレーダー
1日前
古野電気株式会社
監視装置、レンズ識別方法、及びプログラム
1か月前
古野電気株式会社
画像表示装置、画像表示方法およびプログラム
1日前
古野電気株式会社
船舶航行支援システム、および、船舶航行支援方法
14日前
古野電気株式会社
遊泳速度測定装置、遊泳速度測定方法、及びプログラム
24日前
古野電気株式会社
気象予測装置、気象予測方法および気象予測プログラム
1か月前
古野電気株式会社
海図情報表示システム、海図情報表示方法、及びプログラム
1か月前
古野電気株式会社
レーダ装置、エコー画像生成方法およびエコー画像生成プログラム
17日前
古野電気株式会社
船体制御装置、船体制御システム、船体制御方法、船体制御プログラム
1か月前
東ソー株式会社
絶縁電線
1か月前
APB株式会社
蓄電セル
28日前
個人
フレキシブル電気化学素子
1か月前
日新イオン機器株式会社
イオン源
1か月前
マクセル株式会社
電源装置
22日前
ローム株式会社
半導体装置
29日前
株式会社東芝
端子台
22日前
株式会社ユーシン
操作装置
1か月前
ローム株式会社
半導体装置
1か月前
株式会社GSユアサ
蓄電装置
15日前
三菱電機株式会社
回路遮断器
9日前
株式会社GSユアサ
蓄電装置
23日前
株式会社GSユアサ
蓄電設備
1か月前
株式会社GSユアサ
蓄電装置
23日前
株式会社GSユアサ
蓄電設備
1か月前
株式会社GSユアサ
蓄電装置
1日前
オムロン株式会社
電磁継電器
1か月前
富士電機株式会社
電磁接触器
1日前
太陽誘電株式会社
コイル部品
1か月前
株式会社ホロン
冷陰極電子源
1か月前
日東電工株式会社
積層体
1か月前
トヨタ自動車株式会社
バッテリ
28日前
ノリタケ株式会社
熱伝導シート
1か月前
続きを見る
他の特許を見る