TOP
|
特許
|
意匠
|
商標
特許ウォッチ
Twitter
他の特許を見る
10個以上の画像は省略されています。
公開番号
2025138364
公報種別
公開特許公報(A)
公開日
2025-09-25
出願番号
2024037407
出願日
2024-03-11
発明の名称
情報処理装置、方法、及びプログラム
出願人
株式会社リコー
代理人
個人
,
個人
主分類
G06F
3/04883 20220101AFI20250917BHJP(計算;計数)
要約
【課題】
手書き入力により特定の入力欄に対する入力が完了したとき、ユーザが所望する操作を行うことの支援を目的とする。
【解決手段】
表示部に表示された、ユーザによる手書き入力を受け付ける複数の入力欄のうち、予め設定された入力欄である特定の入力欄に対する手書き入力が完了したことを判断する判断部と、前記判断部において前記特定の入力欄に対する手書き入力が完了したことを判断された場合、所定の操作の指示を受け付ける表示部品を選択可能に表示部に表示させる表示制御部と、前記表示部品がユーザにより選択された場合、当該表示部品に対応する所定の操作に応じた処理を実行させる制御部と、を有することを特徴とする情報処理装置。
【選択図】図5
特許請求の範囲
【請求項1】
表示部に表示された、ユーザによる手書き入力を受け付ける複数の入力欄のうち、予め設定された入力欄である特定の入力欄に対する手書き入力が完了したことを判断する判断部と、
前記判断部において前記特定の入力欄に対する手書き入力が完了したことを判断された場合、所定の操作の指示を受け付ける表示部品を選択可能に表示部に表示させる表示制御部と、
前記表示部品がユーザにより選択された場合、当該表示部品に対応する所定の操作に応じた処理を実行させる制御部と、
を有することを特徴とする情報処理装置。
続きを表示(約 1,100 文字)
【請求項2】
前記表示制御部は、複数の表示部品を選択可能に表示し、
前記制御部は、前記複数の表示部品のうち、選択された表示部品に対応する所定の操作に応じた処理を実行させる
請求項1に記載の情報処理装置。
【請求項3】
前記情報処理装置は、
前記複数の入力欄のうち、ユーザにより手書き入力された入力欄を検知する検知部と、
前記検知部で検知された入力欄が、前記特定の入力欄であるか否かを判定する判定部と、
を更に有し、
前記判断部は、前記判定部で手書き入力された入力欄が前記特定の入力欄であると判定された場合、当該特定の入力欄に対する入力が完了したか否かを判断する、
請求項1に記載の情報処理装置。
【請求項4】
前記判断部は、前記特定の入力欄に対するユーザによる手書き入力の後、前記特定の入力欄に対して手書き入力が所定の期間入力されなかった場合、前記特定の入力欄に対する手書き入力が完了したことを判断する、
請求項3に記載の情報処理装置。
【請求項5】
前記判断部は、ユーザが前記特定の入力欄に対する入力完了操作をしたことに応じて、前記特定の入力欄に対する入力が完了したことを判断する
請求項3に記載の情報処理装置。
【請求項6】
前記表示部品は、前記複数の入力欄を含む第1の画面において表示されているページの次のページである第2の画面を表示する操作の指示を受け付け、
前記制御部は、前記第2の画面を表示する操作の選択に応じて、次のページである第2の画面を表示させる、
請求項1に記載の情報処理装置。
【請求項7】
前記複数の入力欄を含む第1の画面は、前記複数の入力欄を含むファイルを表示する画面である
請求項1に記載の情報処理装置。
【請求項8】
前記表示部品は、ユーザにより前記複数の入力欄に対して入力がされた前記ファイルを記憶部に記憶する操作の指示を受け付け、
前記制御部は、前記ファイルを記憶部に記憶する操作の指示に応じて、当該ファイルを記憶部に記憶させる、
請求項7に記載の情報処理装置。
【請求項9】
前記表示部品は、ページを追加する操作の指示を受け付け、
前記制御部は、ページを追加する操作の指示に応じて、ページを追加させる、
請求項1に記載の情報処理装置。
【請求項10】
前記表示部品は、白紙のページを追加する操作の指示を受け付け、
前記制御部は、白紙のページを追加する操作の指示に応じて、白紙のページを追加させる、
請求項9に記載の情報処理装置。
(【請求項11】以降は省略されています)
発明の詳細な説明
【技術分野】
【0001】
本発明は、情報処理装置、方法、及びプログラムに関する。
続きを表示(約 2,000 文字)
【背景技術】
【0002】
手書き入力が可能な表示装置において、ジェスチャにより様々な操作を行うことができる技術が知られている。例えば、特許文献1には、手書き入力に利用されるペンを用いたドローイング操作により、スクロールや診療記録の書き込み終了などを行うことができる表示装置が開示されている。
【発明の概要】
【発明が解決しようとする課題】
【0003】
表示部に表示されたユーザにより入力される入力欄に対する手書き入力が完了したときに、ユーザが所望する次の操作を行うためのジェスチャを、ユーザが知らない場合などは、そのユーザはその操作を行うことができないことがある。本発明は、そのような場合にユーザが所望する操作を行うことを支援することを目的とする。
【課題を解決するための手段】
【0004】
開示の技術は、表示部に表示された、ユーザによる手書き入力を受け付ける複数の入力欄のうち、予め設定された入力欄である特定の入力欄に対する手書き入力が完了したことを判断する判断部と、前記判断部において前記特定の入力欄に対する手書き入力が完了したことを判断された場合、所定の操作の指示を受け付ける表示部品を選択可能に表示部に表示させる表示制御部と、前記表示部品がユーザにより選択された場合、当該表示部品に対応する所定の操作に応じた処理を実行させる制御部と、を有することを特徴とする情報処理装置である。
【発明の効果】
【0005】
手書き入力により特定の入力欄に対する入力が完了したとき、ユーザが所望する操作を行うことを支援できる。
【図面の簡単な説明】
【0006】
システム構成の一例を示す図である。
表示装置の配置例を示す図である。
表示装置のハードウェア構成図の一例である。
表示装置が有する機能をブロック状に分けて説明する機能ブロック図である。
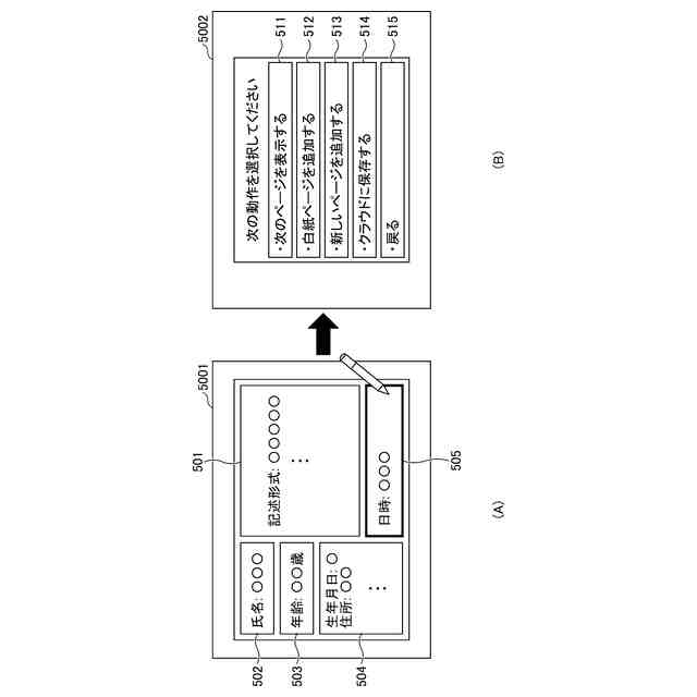
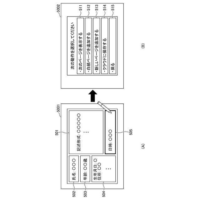
表示装置において、特定の入力欄が入力された場合の画面遷移を示す図である。
表示装置の動作のフローチャートを示す図である。
表示装置において「次のページを表示する」を選択した場合の画面遷移を示す図である。
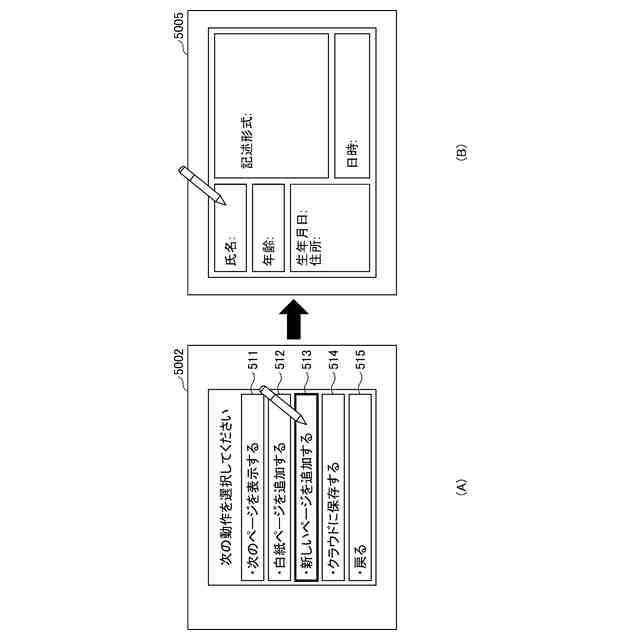
表示装置において「白紙ページを表示する」を選択した場合の画面遷移を示す図である。
表示装置において「背景を残してコピーする」を選択した場合の画面遷移を示す図である。
表示装置において「クラウドに保存する」を選択した場合の画面遷移を示す図である。
表示装置において「編集をする」を選択した場合の画面遷移を示す図である。
表示装置において画面を遷移させずに表示部品を表示する形態を説明する図である。
表示装置において戻る操作の指示を受け付ける表示部品を選択した場合のフローチャートの一例である。
特定の入力欄の設定について示す図である。
実施形態におけるファイルが有するデータ定義図である。
特定の入力欄の設定に関するフローチャートである。
変形例における機能ブロック図を示す図である。
変形例において表示される画面例を示す図である。
変形例におけるフローチャートを示す図である。
【発明を実施するための形態】
【0007】
<用語について>
表示装置とは、電子黒板や、ディスプレイを有する端末装置など、画面を表示する装置を指す。
【0008】
手書き入力とは、ユーザが指やペンなどをディスプレイに接触させ、表示されている画面に入力をすることをいう。ユーザが入力手段を用いて連続的に入力することをストロークという。ストロークにより連続的に入力された情報をストローク情報という。ストローク情報は、手振れなどを適宜補正されていてもよい。手書き入力により入力される内容とは、これらのストローク情報の集合である。
【0009】
文字認識とは、上記のように手書き入力により入力された内容を認識し、テキストデータに変換することを指す。入力された内容を変換する際に、変換候補となるテキストデータをユーザに提示し、ユーザの選択に応じて変換してもよい。入力された内容が文字認識されるタイミングは、ユーザの手書き入力が完了した後でもよいし、手書き入力された入力内容を一文字毎などテキストとして文字認識をできた後でもよい。
【0010】
入力欄とは、画面上でユーザの手書き入力を受け付ける領域である。入力欄は画面上でその領域が視認可能に表示されていてもよいし、他の領域と区別可能に表示されていなくてもよい。以下に記載する実施形態では、一例として、ユーザが入力する欄であることを識別可能に表示する例を用いて説明をする。
(【0011】以降は省略されています)
この特許をJ-PlatPat(特許庁公式サイト)で参照する
関連特許
株式会社リコー
画像形成装置
4日前
株式会社リコー
画像形成装置
20日前
株式会社リコー
画像形成装置
1日前
株式会社リコー
印刷システム
1日前
株式会社リコー
画像形成装置
1日前
株式会社リコー
画像形成装置
12日前
株式会社リコー
画像形成装置
19日前
株式会社リコー
画像形成装置
1日前
株式会社リコー
液体塗布装置
5日前
株式会社リコー
画像投射システム
12日前
株式会社リコー
投薬管理システム
20日前
株式会社リコー
印刷応答補償機構
5日前
株式会社リコー
拡張アンテナ装置
4日前
株式会社リコー
マーキングシステム
4日前
株式会社リコー
電極及びその製造方法
1日前
株式会社リコー
多孔質構造体の製造方法
1日前
株式会社リコー
定着装置及び画像形成装置
5日前
株式会社リコー
定着装置及び画像形成装置
11日前
株式会社リコー
樹脂粒子およびその製造方法
20日前
株式会社リコー
ファイル分析・保存システム
1日前
株式会社リコー
パルスバルブおよび塗布装置
1日前
株式会社リコー
液吐出装置、及び液吐出方法
5日前
株式会社リコー
塗装システム、及び塗装方法
1日前
株式会社リコー
センサ素子及びセンサアレイ
11日前
株式会社リコー
液体塗布装置および洗浄方法
1日前
株式会社リコー
センサ素子及びセンサアレイ
11日前
株式会社リコー
画像形成装置及び画像形成方法
20日前
株式会社リコー
後処理装置および画像形成装置
1日前
株式会社リコー
印刷ファイル前処理メカニズム
19日前
株式会社リコー
定着装置、及び、画像形成装置
1日前
株式会社リコー
導光部材、光学系及び表示装置
13日前
株式会社リコー
定着装置、及び、画像形成装置
1日前
株式会社リコー
液体吐出装置、及び液体吐出方法
1日前
株式会社リコー
レーザ照射装置、レーザ照射方法
1日前
株式会社リコー
媒体供給装置及び画像形成システム
20日前
株式会社リコー
原稿処理装置及び原稿処理システム
20日前
続きを見る
他の特許を見る