TOP
|
特許
|
意匠
|
商標
特許ウォッチ
Twitter
他の特許を見る
10個以上の画像は省略されています。
公開番号
2025138118
公報種別
公開特許公報(A)
公開日
2025-09-25
出願番号
2024036996
出願日
2024-03-11
発明の名称
走行システム
出願人
日本金銭機械株式会社
代理人
個人
,
個人
,
個人
主分類
B65H
5/22 20060101AFI20250917BHJP(運搬;包装;貯蔵;薄板状または線条材料の取扱い)
要約
【課題】磁性体を搭載すると共に、気流等の外力を受けて走行する走行体を、その外力を低下させなくても停止又は静止させる。
【解決手段】搬送システム10Cにおいて、気流を受けて気流路101を走行する移動体200は、移動体側磁石213を備える。走行体停止装置900は、移動体側磁石213を吸着する少なくとも一つの停止磁石911を備える。走行体停止装置900は、停止磁石911を、移動体200を停止可能な停止位置と、移動体200を停止不能な退避位置と、の間で変位させる。
【選択図】図17
特許請求の範囲
【請求項1】
走行路を走行する走行体を停止させる走行体停止装置を備えた走行システムであって、
前記走行体は走行体側磁性体を搭載しており、
前記走行体停止装置は、前記走行体側磁性体を吸着する少なくとも一つの停止磁石を備え、
前記走行体停止装置は、前記停止磁石を、前記走行体を停止可能な停止状態と、前記走行体を停止不能な退避状態と、の間で位置又は姿勢を変位させることを特徴とする走行システム。
続きを表示(約 2,200 文字)
【請求項2】
走行路を走行する走行体を停止させる走行体停止装置を備えた走行システムであって、
前記走行体は走行体側磁性体を搭載しており、
前記走行体停止装置は、前記走行体側磁性体を吸着する少なくとも一つの停止磁石と、前記停止磁石を保持し、且つ前記走行体が走行する仮想面と並行する面内で回転する回転体と、を備え、
前記回転体は、前記停止磁石を、前記走行路に接近して前記走行体を停止可能な停止位置と、前記走行路から離間して前記走行体を停止不能な退避位置と、の間で回転により移動させることを特徴とする走行システム。
【請求項3】
前記走行路に対する前記回転体の回転軸の位置と前記回転軸に対する前記停止磁石の位置とは、前記停止磁石が前記停止位置の前後に亘って描く軌跡が前記走行路に沿う方向に延びるように設定されていることを特徴とする請求項2に記載の走行システム。
【請求項4】
前記走行体停止装置は、複数の前記停止磁石を含む停止磁石列を備え、
前記各停止磁石が前記停止位置にあるときに前記停止磁石列は前記走行路に沿って延在し、前記各停止磁石が前記退避位置にあるときに前記停止磁石列は前記走行路と交差する方向に延在することを特徴とする請求項2に記載の走行システム。
【請求項5】
走行路を走行する走行体を停止させる走行体停止装置を備えた走行システムであって、
前記走行体は走行体側磁性体を搭載しており、
前記走行体停止装置は、前記走行体側磁性体を吸着する少なくとも一つの停止磁石と、前記停止磁石を保持し、且つ前記走行体が走行する仮想面に沿って延びる回転軸を中心として回転する回転体と、を備え、
前記回転体は、前記停止磁石を、前記走行体側磁性体を吸着する吸着磁極が前記走行路と対向して前記走行体を停止可能な停止姿勢と、前記停止磁石の両磁極が前記走行路とは対向せずに前記走行体を停止不能な退避姿勢と、の間で変位させることを特徴とする走行システム。
【請求項6】
前記回転軸は前記走行路の延在方向に沿って延在し、
前記走行体停止装置は、前記回転体に保持された第一及び第二の前記停止磁石を備え、
前記第一及び第二停止磁石は、前記各吸着磁極が外周側を向くと共に、前記回転体の周方向の異なる位置及び前記回転軸の方向の異なる位置に配置されており、
前記回転体が第一回転角度にあるときに前記第一停止磁石が前記走行路の延在方向の第一位置において前記停止姿勢を取り、前記回転体が第二回転角度にあるときに前記第二停止磁石が前記走行路の延在方向の第二位置において前記停止姿勢を取り、前記回転体が他の回転角度にあるときに前記第一及び第二停止磁石が共に前記退避姿勢を取ることを特徴とする請求項5に記載の走行システム。
【請求項7】
走行路を走行する走行体を停止させる走行体停止装置を備えた走行システムであって、
前記走行体は走行体側磁性体を搭載しており、
前記走行体停止装置は、前記走行体側磁性体を吸着する少なくとも一つの停止磁石を備え、
前記走行体停止装置は、前記走行路の下方に配置されており、
前記走行体停止装置は、前記停止磁石を、前記走行路に接近して前記走行体を停止可能な上昇位置と、前記走行路から離間して前記走行体を停止不能な下降位置と、の間で移動させることを特徴とする走行システム。
【請求項8】
走行路を走行する走行体を停止させる走行体停止装置を備えた走行システムであって、
前記走行体は走行体側磁性体を搭載しており、
前記走行体停止装置は、前記走行体側磁性体を吸着する少なくとも一つの停止磁石と、前記停止磁石を保持し、且つ前記走行体が走行する仮想面と並行する面内で前記走行路の延在方向と交差する方向に進退する進退手段と、を備え、
前記進退手段は、前記停止磁石を、前記走行路に接近して前記走行体を停止させる停止位置と、前記走行路から離間して前記走行体を停止不能な退避位置と、の間で移動させることを特徴とする走行システム。
【請求項9】
第一走行路と前記第一走行路から離間して配置された第二走行路と、を走行する走行体を停止させる走行体停止装置を備えた走行システムであって、
前記走行体は走行体側磁性体を搭載しており、
前記走行体停止装置は、前記走行体側磁性体を吸着する少なくとも一つの停止磁石を備え、
前記走行体停止装置は、前記停止磁石を、前記第一走行路に接近して前記走行体を停止可能な第一停止位置と、前記第二走行路に接近して前記走行体を停止可能な第二停止位置と、前記第一走行路と前記第二走行路の双方から離間した退避位置と、の間で移動させることを特徴とする走行システム。
【請求項10】
前記走行体停止装置は、前記停止磁石を保持し、且つ前記走行体が走行する仮想面と並行する面内で回転する回転体を備え、
前記回転体は、前記停止磁石を前記第一停止位置と前記第二停止位置と前記退避位置との間で回転により移動させることを特徴とする請求項9に記載の走行システム。
(【請求項11】以降は省略されています)
発明の詳細な説明
【技術分野】
【0001】
本発明は走行システムに関する。
続きを表示(約 2,700 文字)
【背景技術】
【0002】
磁力による吸着又は反発を利用して搬送対象を搬送する技術が知られている。
【0003】
特許文献1には、空気流を利用して移動体を送風管内で走行させると共に、磁力を利用して移動体の移動に連動させて搬送体を走行させる搬送装置が開示されている。移動体及び搬送体を走行させるために、モータ、ギヤ、搬送ベルト等の機械的な駆動手段を必要としないため、搬送装置を構成する各部材の耐久性を向上させることができ、搬送装置のランニングコストを低減させることができる。
また、特許文献1には、移動体が備える磁石の磁場により電気伝導体内に発生した渦電流を利用して移動体を減速させることが記載されている。
【先行技術文献】
【特許文献】
【0004】
特開2023-149967公報
【発明の概要】
【発明が解決しようとする課題】
【0005】
しかし、特許文献1では、送風管内の気流の強さを変化させずに移動体を停止させること、又は静止させることは困難である。
本発明は上述の事情に鑑みてなされたものであり、磁性体を搭載すると共に、気流等の外力を受けて走行する走行体を、その外力を低下させなくても停止又は静止させられるようにすることを目的とする。
【課題を解決するための手段】
【0006】
上記の課題を解決するために、本発明は、走行路を走行する走行体を停止させる走行体停止装置を備えた走行システムであって、前記走行体は走行体側磁性体を搭載しており、前記走行体停止装置は、前記走行体側磁性体を吸着する少なくとも一つの停止磁石を備え、前記走行体停止装置は、前記停止磁石を、前記走行体を停止可能な停止状態と、前記走行体を停止不能な退避状態と、の間で位置又は姿勢を変位させることを特徴とする。
【発明の効果】
【0007】
本発明によれば、磁性体を搭載すると共に、気流等の外力を受けて走行する走行体を、その外力を低下させなくても停止又は静止させられるようになる。
【図面の簡単な説明】
【0008】
複数の遊技機を含む島設備の概略構成を示す斜視図である。
複数の遊技機を含む島設備の概略構成を示す平面図である。
第1の本発明に係る紙幣搬送システムの概略構成を示す模式図である。
移動体と搬送体が磁力により反発する場合における、移動体とこれを含む送風管、及び搬送体とこれを含む搬送管の縦断面図である。
(a)~(c)は、第1の本発明の一実施形態に係る送風管と送風制御ユニットとの関係を示す模式図である。
搬送管と搬送体との関係を示した斜視図である。
移動体と搬送体が磁力により吸着する場合における、移動体とこれを含む送風管、及び搬送体とこれを含む搬送管の縦断面図である。
移動体側磁石の各極を走行方向に向けて配置した場合における移動体と搬送体を含む送風管と搬送管の縦断面図である。
送風制御ユニットの第一の変形例を示す図である。
送風制御ユニットの第二の変形例を示す図である。
(a)(b)(c)及び(d)は回収部材(回収爪)が開放した状態にある搬送体500の外観斜視図、正面図、平面図、及び(a)のA-A断面図である。
(a)及び(b)は回収部材(回収爪)が閉じた状態にある搬送体500の外観斜視図、及び平面図である。
搬送管400と搬送体500との位置関係を示す一部断面図である。
第3の本発明の一実施形態に係る搬送システムの概略構成を示す斜視図である。
同搬送システムの気流制御に関わる構成を示す平面図である。
同搬送システムにおける移動体と搬送体と搬送管とを説明する斜視図である。
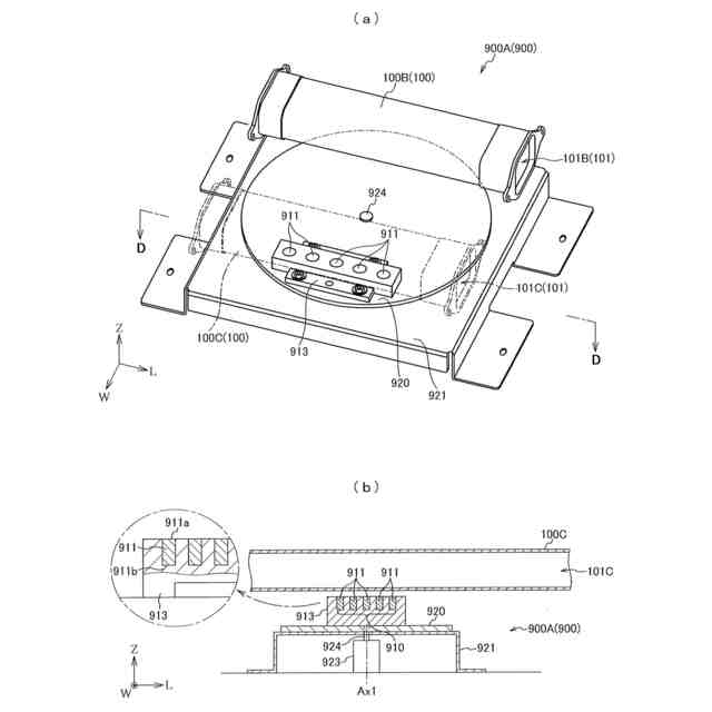
本発明の第一の実施形態に係る停止装置を示す図であり、(a)は斜視図であり、(b)は停止磁石と送風管との関係を示す(a)のD-D断面図である。
(a)~(c)は、同停止装置の各状態を示す平面図である。
(a)、(b)は、停止磁石の移動軌跡と気流路との位置関係について説明する模式的平面図である。
本発明の第一の実施形態に係る停止装置の変形例を示す模式的平面図である。
(a)~(c)は、本発明の第二の実施形態に係る停止装置の各状態を示す斜視図である。
(a)~(c)は、本発明の第二の実施形態に係る停止装置の変形例を示す模式的平面図である。
(a)、(b)は、本発明の第三の実施形態に係る停止装置の各状態を示す模式的斜視図である。
(a)、(b)は、同停止装置と気流路との関係を示す模式図である。
本発明の第三の実施形態の第一変形例に係る停止装置を示す図であり、(a)は模式的斜視図であり、(b)は気流路との関係を示す模式図である。
本発明の第三の実施形態の第二変形例に係る停止装置を示す斜視図である。
(a)~(c)は、同停止装置と気流路との関係を示す模式図である。
(a)、(b)は、本発明の第四の実施形態に係る停止装置の各状態を示す側面図である。
(a)、(b)は、本発明の第五の実施形態に係る停止装置を示す模式的正面図である。
(a)、(b)は、本発明の第五の実施形態の他の例に係る停止装置を示す模式的正面図である。
【発明を実施するための形態】
【0009】
以下、本発明を図面に示した実施形態を用いて詳細に説明する。但し、この実施形態に記載される構成要素、種類、組み合わせ、形状、その相対配置などは特定的な記載がない限り、この発明の範囲をそれのみに限定する主旨ではなく単なる説明例に過ぎない。
以下、本発明の実施形態を詳細に説明する。
【0010】
A.第1の本発明に係る紙葉搬送システム
以下に第1の本発明に係る紙葉搬送システムの基本的構成、及び動作について説明する。
紙葉搬送システムは、パチンコ、パチスロ等の各種遊技機を設置した遊技場における島設備に設置される。以下の実施形態では紙葉の一例として紙幣を中心に説明するが、金券、商品券等の有価証券、カード、その他、紙幣以外の紙葉(シート)にも本発明を適用することができる。
なお、特に図示説明しないが、本発明の紙葉搬送システムはカジノにおける紙幣搬送システム、紙幣搬送装置にも適用される。
(【0011】以降は省略されています)
この特許をJ-PlatPat(特許庁公式サイト)で参照する
関連特許
個人
収容箱
3か月前
個人
ゴミ箱
12か月前
個人
コンベア
4か月前
個人
段ボール箱
6か月前
個人
段ボール箱
6か月前
個人
容器
9か月前
個人
ゴミ収集器
6か月前
個人
パウチ補助具
11か月前
個人
宅配システム
6か月前
個人
楽ちんハンド
4か月前
個人
土嚢運搬器具
8か月前
個人
バンド
1か月前
個人
角筒状構造体
5か月前
個人
閉塞装置
9か月前
個人
包装容器
26日前
個人
お薬の締結装置
5か月前
個人
コード類収納具
7か月前
個人
廃棄物収容容器
2か月前
個人
蓋閉止構造
3か月前
個人
貯蔵サイロ
6か月前
個人
蓋閉止構造
3か月前
株式会社バンダイ
物品
7日前
株式会社和気
包装用箱
8か月前
個人
積み重ね用補助具
2か月前
個人
把手付米袋
4か月前
株式会社コロナ
梱包材
5か月前
個人
ゴミ処理機
8か月前
株式会社新弘
容器
2か月前
株式会社KY7
封止装置
3か月前
株式会社イシダ
搬送装置
6か月前
三甲株式会社
蓋体
9か月前
個人
輸送積荷用動吸振器
5か月前
三甲株式会社
蓋体
7か月前
個人
搬送システム
6か月前
個人
介護用コップ
1か月前
株式会社新弘
容器
12か月前
続きを見る
他の特許を見る