TOP
|
特許
|
意匠
|
商標
特許ウォッチ
Twitter
他の特許を見る
10個以上の画像は省略されています。
公開番号
2025138117
公報種別
公開特許公報(A)
公開日
2025-09-25
出願番号
2024036994
出願日
2024-03-11
発明の名称
走行システム
出願人
日本金銭機械株式会社
代理人
個人
,
個人
,
個人
主分類
B65H
5/22 20060101AFI20250917BHJP(運搬;包装;貯蔵;薄板状または線条材料の取扱い)
要約
【課題】空気流を利用して移動体を走行させる搬送システム(走行システム)において、移動体が走行する経路をより柔軟に設計できるようにする。
【解決手段】搬送システム10Cは、移動体200を気流によって移動させる送風管100と、送風管の適所に設定された開閉区間130と、開弁時に開閉区間内の気体及び移動体の通過を許容し、閉弁時に開閉区間内の気体及び移動体の通過を阻止する開閉弁131と、を備える。搬送システム10Cは、開閉区間130の一端部130aから気体を吸入する吸気管141と、開閉区間130の他端部130bへ気体を排出する排気管142と、を含む吸排気管対140を備える。搬送システム10Cは、吸排気管対内に気流を発生させる場合に開閉弁を閉弁し、開閉弁を開弁する場合に吸排気管対内の気流を停止する。
【選択図】図18
特許請求の範囲
【請求項1】
中空部内に収容された移動体を気流によって移動させる送風管と、
前記送風管の適所に設定された開閉区間と、
前記開閉区間内に配置されて、開弁時に前記開閉区間内の気体及び前記移動体の通過を許容し、閉弁時に前記開閉区間内の前記気体及び前記移動体の通過を阻止する開閉弁と、
一端部を前記開閉区間の一端部に連通接続されて、前記送風管から気体を吸入可能な第一吸排気管と、一端部を前記開閉区間の他端部に連通接続されて、前記送風管へ気体を排出可能な第二吸排気管と、を含んで構成された吸排気管対と、
気流を発生させるブロアを含み、前記第一吸排気管の他端部と前記第二吸排気管の他端部とが接続されたブロアユニットと、
前記開閉弁及び前記ブロアユニットの各部を制御する制御手段と、を備え、
前記制御手段は、前記吸排気管対内に気流を発生させる場合に前記開閉弁を閉弁し、前記開閉弁を開弁する場合に前記吸排気管対内の気流を停止するように、前記開閉弁及び前記ブロアユニットを制御することを特徴とする走行システム。
続きを表示(約 1,800 文字)
【請求項2】
前記制御手段は、前記移動体が前記開閉区間に進入する前に前記開閉弁を開弁すると共に前記吸排気管対内の吸排気流を停止し、前記移動体が前記開閉区間から離脱した後に前記開閉弁を閉弁すると共に前記吸排気管対内に前記吸排気流を発生させるように、前記開閉弁及び前記ブロアユニットを制御することを特徴とする請求項1に記載の走行システム。
【請求項3】
前記ブロアは一定方向に流れる気流を発生させる手段であり、
前記第一接続口は吸気口と排気口の一方として機能する手段であり、
前記第二接続口は前記吸気口と前記排気口の他方として機能する手段であり、
前記ブロアユニットは、前記第一接続口と前記第二接続口を、それぞれ前記吸気口と前記排気口の何れとして機能させるかを切り替える内部切替弁を備え、
前記制御手段は前記内部切替弁を制御して、前記吸排気管対及び前記送風管内の前記気流の方向を変化させることを特徴とする請求項1又は2に記載の走行システム。
【請求項4】
中空部内に収容された移動体を気流によって移動させる送風管と、
前記送風管の適所に設定された複数の開閉区間と、
前記各開閉区間内に配置されて、開弁時に前記各開閉区間内の気体及び前記移動体の通過を許容し、閉弁時に前記各開閉区間内の気体及び前記移動体の通過を阻止する複数の開閉弁と、
夫々の前記開閉区間に一対一で対応付けられた複数の吸排気管対であって、前記各吸排気管対が、一端部を前記開閉区間の一端部に連通接続された第一吸排気管と、一端部を前記開閉区間の他端部に連通接続された第二吸排気管とを有する、複数の前記吸排気管対と、
前記吸排気管対内の気流を制御する送風制御ユニットであって、
所定方向に流れる気流を発生させるブロアと、気体を吸気方向と排気方向のうちの一方の方向に流しうる第一接続口と、気体を前記吸気方向と前記排気方向のうちの他方の方向に流しうる第二接続口と、を有するブロアユニットと、
一部が前記第一接続口と接続されて、他の各部に前記各第一吸排気管の他端部が接続されると共に、前記各第一吸排気管の中から前記ブロアユニットの連通先となる少なくとも一つの前記第一吸排気管を選択的に切替可能な第一切替弁ユニットと、
一部が前記第二接続口と接続されて、他の各部に前記各第二吸排気管の他端部が接続されると共に、前記各第二吸排気管の中から前記ブロアユニットの連通先となる少なくとも一つの前記第二吸排気管を選択的に切替可能な第二切替弁ユニットと、
を備える前記送風制御ユニットと、
前記各開閉弁と前記送風制御ユニットとを制御する制御手段と、
を備え、
前記制御手段は、一部の前記吸排気管対内に吸排気流を発生させる場合に前記一部の前記吸排気管対に対応する一部の前記開閉区間の前記開閉弁を閉弁し、前記一部の前記開閉区間の前記開閉弁を開弁する場合に一部の前記吸排気管対内の気流を停止するように、前記各開閉弁、前記第一切替弁ユニット、及び、前記第二切替弁ユニットを制御することを特徴とする走行システム。
【請求項5】
前記制御手段は、一部の前記吸排気管対内に前記吸排気流を発生させる場合に、残部の前記吸排気管対に対応する前記各開閉区間の前記開閉弁を開弁するように、前記各開閉弁を制御することを特徴とする請求項4に記載の走行システム。
【請求項6】
前記移動体の前記各開閉区間への進入を検知する進入検知手段を備え、
前記制御手段は、前記進入検知手段の検知結果に基づいて前記移動体が一の前記開閉区間に進入する前に一の前記開閉区間の前記開閉弁を開弁すると共に一の前記開閉区間に対応する前記吸排気管対内の前記吸排気流を停止するように、前記各開閉弁と前記送風制御ユニットとを制御することを特徴とする請求項4に記載の走行システム。
【請求項7】
前記ブロアは一定方向に流れる気流を発生させる手段であり、
前記ブロアユニットは、前記第一接続口と前記第二接続口を、それぞれ吸気口と排気口の何れとして機能させるかを切り替える内部切替弁を備え、前記制御手段は前記内部切替弁を制御して、前記吸排気管対及び前記送風管内の気流の方向を変化させることを特徴とする請求項4乃至6の何れか一項に記載の走行システム。
発明の詳細な説明
【技術分野】
【0001】
本発明は走行システムに関する。
続きを表示(約 2,700 文字)
【背景技術】
【0002】
磁力による吸着又は反発を利用して搬送対象を搬送する技術が知られている。
【0003】
特許文献1には、空気流を利用して移動体を送風管内で走行させると共に、磁力を利用して移動体の移動に連動させて搬送体を走行させる搬送装置が開示されている。移動体及び搬送体を走行させるために、モータ、ギヤ、搬送ベルト等の機械的な駆動手段を必要としないため、搬送装置を構成する各部材の耐久性を向上させることができ、搬送装置のランニングコストを低減させることができる。
特許文献1においては、送風管内を気密にするため、送風管が無端状に構成される。送風管内のうち移動体が移動する移動経路部分は有端状であり、移動体は移動経路部分を往復する。特許文献1の気流発生手段は、移動経路部分の長手方向の一端部から気体を吸い込んで他端部に排出する。
【先行技術文献】
【特許文献】
【0004】
特開2022-45074公報
【発明の概要】
【発明が解決しようとする課題】
【0005】
特許文献1においては、移動経路部分の中間部において気体を吸排気することは前提とされていなかった。その結果、移動経路部分が取り得る形状は制限されていた。
本発明は上述の事情に鑑みてなされたものであり、空気流を利用して移動体を走行させる走行システムにおいて、移動経路部分をより柔軟に設計できるようにすることを目的とする。
【課題を解決するための手段】
【0006】
上記の課題を解決するために、本発明の走行システムは、中空部内に収容された移動体を気流によって移動させる送風管と、前記送風管の適所に設定された開閉区間と、前記開閉区間内に配置されて、開弁時に前記開閉区間内の気体及び前記移動体の通過を許容し、閉弁時に前記開閉区間内の前記気体及び前記移動体の通過を阻止する開閉弁と、一端部を前記開閉区間の一端部に連通接続されて、前記送風管から気体を吸入可能な第一吸排気管と、一端部を前記開閉区間の他端部に連通接続されて、前記送風管へ気体を排出可能な第二吸排気管と、を含んで構成された吸排気管対と、気流を発生させるブロアを含み、前記第一吸排気管の他端部と前記第二吸排気管の他端部とが接続されたブロアユニットと、前記開閉弁及び前記ブロアユニットの各部を制御する制御手段と、を備え、前記制御手段は、前記吸排気管対内に気流を発生させる場合に前記開閉弁を閉弁し、前記開閉弁を開弁する場合に前記吸排気管対内の気流を停止するように、前記開閉弁及び前記ブロアユニットを制御することを特徴とする。
【発明の効果】
【0007】
本発明によれば、移動経路部分をより柔軟に設計できるようになる。
【図面の簡単な説明】
【0008】
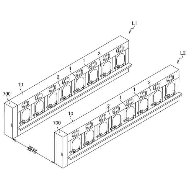
複数の遊技機を含む島設備の概略構成を示す斜視図である。
複数の遊技機を含む島設備の概略構成を示す平面図である。
第1の本発明に係る紙幣搬送システムの概略構成を示す模式図である。
移動体と搬送体が磁力により反発する場合における、移動体とこれを含む送風管、及び搬送体とこれを含む搬送管の縦断面図である。
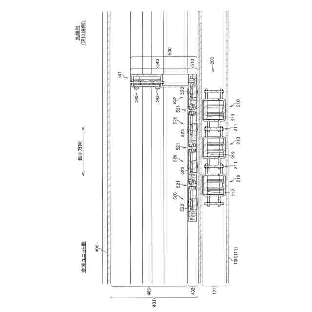
(a)~(c)は、第1の本発明の一実施形態に係る送風管と送風制御ユニットとの関係を示す模式図である。
搬送管と搬送体との関係を示した斜視図である。
移動体と搬送体が磁力により吸着する場合における、移動体とこれを含む送風管、及び搬送体とこれを含む搬送管の縦断面図である。
移動体側磁石の各極を走行方向に向けて配置した場合における移動体と搬送体を含む送風管と搬送管の縦断面図である。
送風制御ユニットの第一の変形例を示す図である。
送風制御ユニットの第二の変形例を示す図である。
(a)(b)(c)及び(d)は回収部材(回収爪)が開放した状態にある搬送体500の外観斜視図、正面図、平面図、及び(a)のA-A断面図である。
(a)及び(b)は回収部材(回収爪)が閉じた状態にある搬送体500の外観斜視図、及び平面図である。
搬送管400と搬送体500との位置関係を示す一部断面図である。
第3の本発明の一実施形態に係る搬送システムの概略構成を示す斜視図である。
同搬送システムの気流制御に関わる構成を示す平面図である。
同搬送システムにおける移動体と搬送体と搬送管とを説明する斜視図である。
(a)~(d)は、本発明の第一の実施形態に係る気流制御方法について説明する模式図である。
開閉弁を説明する図であり、(a)は斜視図であり、(b)分解斜視図である。
(a)、(b)は、本発明の第二の実施形態に係る気流制御方法について説明する模式図である。
切替弁が連通先の配管を切り替えている状態を示す模式図である。
送風管内に右回りの気流を発生させる例を示す模式図である。
本発明の第三の実施形態に係る気流制御方法について説明する模式図である。
本発明の第三の実施形態の変形例に係る気流制御方法について説明する模式図である。
本発明の第四の実施形態に係る気流制御方法について説明する模式図である。
【発明を実施するための形態】
【0009】
以下、本発明を図面に示した実施形態を用いて詳細に説明する。但し、この実施形態に記載される構成要素、種類、組み合わせ、形状、その相対配置などは特定的な記載がない限り、この発明の範囲をそれのみに限定する主旨ではなく単なる説明例に過ぎない。
以下、本発明の実施形態を詳細に説明する。
【0010】
A.第1の本発明に係る紙葉搬送システム
以下に第1の本発明に係る紙葉搬送システムの基本的構成、及び動作について説明する。
紙葉搬送システムは、パチンコ、パチスロ等の各種遊技機を設置した遊技場における島設備に設置される。以下の実施形態では紙葉の一例として紙幣を中心に説明するが、金券、商品券等の有価証券、カード、その他、紙幣以外の紙葉(シート)にも本発明を適用することができる。
なお、特に図示説明しないが、本発明の紙葉搬送システムはカジノにおける紙幣搬送システム、紙幣搬送装置にも適用される。
(【0011】以降は省略されています)
この特許をJ-PlatPat(特許庁公式サイト)で参照する
関連特許
日本金銭機械株式会社
硬貨処理装置
5日前
日本金銭機械株式会社
硬貨処理装置
5日前
日本金銭機械株式会社
走行システム
9日前
個人
箱
11か月前
個人
ゴミ箱
11か月前
個人
収容箱
2か月前
個人
コンベア
4か月前
個人
ゴミ収集器
6か月前
個人
段ボール箱
6か月前
個人
容器
8か月前
個人
段ボール箱
6か月前
個人
土嚢運搬器具
7か月前
個人
楽ちんハンド
4か月前
個人
パウチ補助具
11か月前
個人
バンド
1か月前
個人
宅配システム
6か月前
個人
角筒状構造体
4か月前
個人
閉塞装置
9か月前
個人
廃棄物収容容器
1か月前
個人
包装容器
15日前
個人
お薬の締結装置
5か月前
個人
コード類収納具
7か月前
株式会社コロナ
梱包材
4か月前
個人
ゴミ処理機
8か月前
個人
貯蔵サイロ
6か月前
個人
蓋閉止構造
3か月前
株式会社和気
包装用箱
8か月前
個人
蓋閉止構造
3か月前
個人
積み重ね用補助具
2か月前
個人
把手付米袋
3か月前
三甲株式会社
蓋体
7か月前
株式会社KY7
封止装置
2か月前
三甲株式会社
容器
5か月前
三甲株式会社
容器
5か月前
個人
包装箱
9か月前
株式会社新弘
容器
2か月前
続きを見る
他の特許を見る