TOP
|
特許
|
意匠
|
商標
特許ウォッチ
Twitter
他の特許を見る
10個以上の画像は省略されています。
公開番号
2025137449
公報種別
公開特許公報(A)
公開日
2025-09-19
出願番号
2025029965
出願日
2025-02-27
発明の名称
ハイブリッドピクセル及びハイブリッドセンサ
出願人
三星電子株式会社
,
Samsung Electronics Co.,Ltd.
代理人
弁理士法人共生国際特許事務所
主分類
H10F
39/18 20250101AFI20250911BHJP()
要約
【課題】ハイブリッドピクセル及びハイブリッドセンサを提供する。
【解決手段】少なくとも1つの伝送トランジスタを含むピクセル回路、物体の動きを感知することができるセンシング回路、及びピクセル回路と一端が連結され、センシング回路と他端が連結される少なくとも1つのフォトダイオードを含み、フォトダイオードに対応する光電変換領域が形成される第1導電型の半導体基板は、第2導電型の第1領域及び第2領域を含み、第2領域は、隣接したハイブリッドピクセルの第2領域とディープトレンチ分離領域によって物理的に分離され、ディープトレンチ分離領域は、半導体基板に形成される。
【選択図】図1
特許請求の範囲
【請求項1】
半導体基板と、
少なくとも1つの伝送トランジスタを含むピクセル回路と、
物体の動きを感知することができるセンシング回路と、
前記ピクセル回路と一端が連結され、前記センシング回路と他端が連結された少なくとも1つのフォトダイオードと、を含み、
前記半導体基板は、第1導電型を有し、前記半導体基板は、前記少なくとも1つのフォトダイオードに対応する光電変換領域を含み、前記半導体基板は、第2導電型の第1領域及び前記第1領域を取り囲む第2領域を含み、
前記第2領域は、隣接したハイブリッドピクセルの第2領域からディープトレンチ分離領域によって物理的に分離され、
前記半導体基板は、前記ディープトレンチ分離領域を含むことを特徴とするハイブリッドピクセル。
続きを表示(約 1,200 文字)
【請求項2】
前記第1導電型は、p型であり、前記第2導電型は、n型であることを特徴とする請求項1に記載のハイブリッドピクセル。
【請求項3】
前記ディープトレンチ分離領域は、FDTI(Front Deep Trench Isolation)であることを特徴とする請求項1に記載のハイブリッドピクセル。
【請求項4】
前記フォトダイオードの数と、前記伝送トランジスタの数は、同数であることを特徴とする請求項1に記載のハイブリッドピクセル。
【請求項5】
前記第1領域の数は、前記フォトダイオードの数に対応し、
前記第2領域の数は、前記第1領域の数と同一であるか、又はそれよりも小さいことを特徴とする請求項4に記載のハイブリッドピクセル。
【請求項6】
前記ピクセル回路は、前記少なくとも1つのフォトダイオードのカソードに連結され、
前記センシング回路は、前記少なくとも1つのフォトダイオードのアノードに連結されていることを特徴とする請求項1に記載のハイブリッドピクセル。
【請求項7】
前記ピクセル回路は、前記少なくとも1つのフォトダイオードのアノードに連結され、
前記センシング回路は、前記少なくとも1つのフォトダイオードのカソードに連結されていることを特徴とする請求項1に記載のハイブリッドピクセル。
【請求項8】
半導体基板と、
少なくとも1つの伝送トランジスタを含むピクセル回路と、
物体の動きを感知することができるセンシング回路と、
前記ピクセル回路と一端が連結され、前記センシング回路と他端が連結された少なくとも1つのフォトダイオードと、を含み、
前記半導体基板は、第1導電型を有し、前記半導体基板は、前記少なくとも1つのフォトダイオードに対応する光電変換領域を含み、前記半導体基板は、第2導電型の第1領域及び前記第1領域を取り囲む第2領域を含み、
前記第2領域は、隣接したハイブリッドピクセルの第2領域からディープトレンチ分離領域によって物理的に分離され、
前記ピクセル回路及び前記少なくとも1つのフォトダイオードを含む第1層と、前記センシング回路を含む第2層は、互いに異なることを特徴とするハイブリッドピクセル。
【請求項9】
前記第1層は、前記第2層の上部の層であり、
前記第1層と前記第2層とを電気的に連結するための垂直領域をさらに含むことを特徴とする請求項8に記載のハイブリッドピクセル。
【請求項10】
前記垂直領域は、
TSV(Through Silicon Via)または、C2C(Chip to Chip)であることを特徴とする請求項9に記載のハイブリッドピクセル。
(【請求項11】以降は省略されています)
発明の詳細な説明
【技術分野】
【0001】
本発明は、ハイブリッドピクセル及びハイブリッドセンサに関し、より詳細には、イメージセンサの機能と動的ビジョンセンサの機能をいずれも遂行することができるハイブリッドピクセル及びハイブリッドセンサに関する。
続きを表示(約 2,700 文字)
【背景技術】
【0002】
イメージセンサは、外部から入射される光信号を電気信号に変換する半導体素子であって、入射した光信号に対応する映像情報を生成する。最近、コンピュータ産業と通信産業の発達によってデジタルカメラ、カムコーダ、モバイルフォン、警備用カメラ、及び医療用マイクロカメラなど多様な分野でイメージセンサの需要が増大している。イメージセンサは、優れた画質のイメージ生成が可能であるが、多くの電力を消費した。
【0003】
ビジョンセンサ、例えば、動的ビジョンセンサは、イベント(例えば、光の強度変化)が発生すると、イベントに関する情報、すなわち、イベント信号を生成し、イベント信号をプロセッサに伝達する。ビジョンセンサは、シグナル変化が発生したピクセルでのみ結果が出力されて電力消費が小さいが、イベントに関する情報のみを出力する。
【0004】
最近、イメージセンサのイメージと動的ビジョンセンサのイメージを結合して高画質の速いフレームレートを具現しようとする試みがあった。ピクセル面積の一部を動的ビジョンセンサとして活用する場合、光量減少による信号対雑音比(SNR)低下を誘発し、ピクセルのデザインを困難にする問題があった。
【発明の概要】
【発明が解決しようとする課題】
【0005】
本発明は、上記従来技術の問題点に鑑みてなされたものであって本発明の目的は、フォトダイオードの正孔と電子の両方を利用可能なハイブリッドセンサを提供することにある。
【課題を解決するための手段】
【0006】
上記目的を達成するためになされた本発明の一態様によるハイブリッドピクセルは、少なくとも1つの伝送トランジスタを含むピクセル回路、物体の動きを感知することができるセンシング回路、及び前記ピクセル回路と一端が連結され、前記センシング回路と他端が連結された少なくとも1つのフォトダイオードを含み、前記フォトダイオードに対応する光電変換領域が形成される第1導電型の半導体基板は、第2導電型の第1領域及び前記第1領域を取り囲む第2領域を含み、前記第2領域は、隣接したハイブリッドピクセルの第2領域からディープトレンチ分離領域によって物理的に分離され、前記ディープトレンチ分離領域は、前記半導体基板に形成されうる。
【0007】
上記目的を達成するためになされた本発明の他の態様によるハイブリッドピクセルは、少なくとも1つの伝送トランジスタを含むピクセル回路、物体の動きを感知することができるセンシング回路、及び前記ピクセル回路と一端が連結され、前記センシング回路と他端が連結された少なくとも1つのフォトダイオードを含み、前記フォトダイオードに対応する光電変換領域が形成される第1導電型の半導体基板は、第2導電型の第1領域及び第2領域を含み、前記第2領域は、隣接したハイブリッドピクセルの第2領域からディープトレンチ分離領域によって物理的に分離され、前記ピクセル回路及び前記少なくとも1つのフォトダイオードが形成された第1層と、前記センシング回路が配置された第2層は、互いに異なりうる。
【0008】
上記目的を達成するためになされた本発明の一態様によるハイブリッドセンサは、複数のハイブリッドピクセルを含むピクセルアレイを含み、前記複数のハイブリッドピクセルは、フォトダイオード、前記フォトダイオードの一端に連結されたピクセル回路、及び前記フォトダイオードの他端に連結されたセンシング回路を含み、前記センシング回路と前記フォトダイオードの他端との間に連結されたノイズ除去回路をさらに含み、前記複数のハイブリッドピクセルのそれぞれは、隣接するハイブリッドピクセルからディープトレンチ分離領域を介して物理的に分離されうる。
【発明の効果】
【0009】
本発明によれば、ピクセル信号の信号品質を向上させ、また、光量損失やピクセル動作の問題なしにハイブリッドセンサを具現することができる。
【図面の簡単な説明】
【0010】
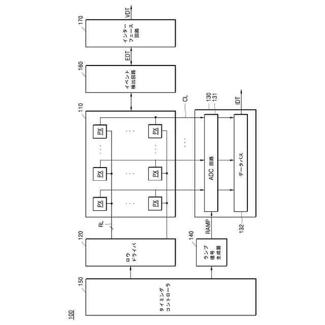
本発明の例示的実施形態によるイメージ処理装置を示すブロック図である。
本発明の例示的な実施形態によるハイブリッドセンサを示すブロック図である。
本発明の例示的な実施形態によるカラーフィルタアレイに対応するピクセルアレイの具現例を示す図である。
本発明の例示的な実施形態によるカラーフィルタアレイに対応するピクセルアレイの具現例を示す図である。
本発明の例示的な実施形態によるカラーフィルタアレイに対応するピクセルアレイの具現例を示す図である。
例示的な実施形態によるハイブリッドピクセルの回路図を説明するための図である。
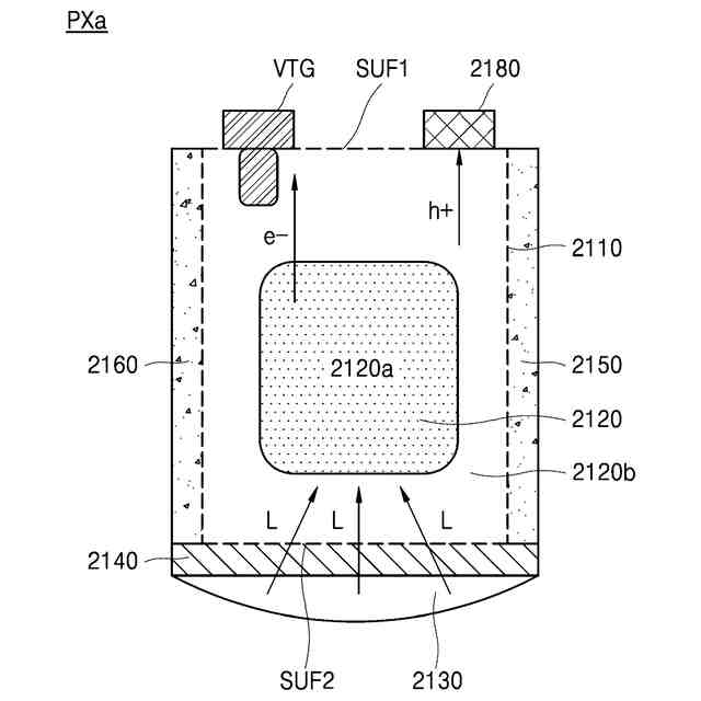
図4AのハイブリッドピクセルPXaを示す回路図である。
図4BのA領域(A region)に対応するレイアウト領域を示す断面図である。
図5Aの断面図において電荷の流れを説明するための図である。
例示的な実施形態によるハイブリッドピクセルを示す回路図である。
図6Aに示すハイブリッドピクセルの一部構成を示すレイアウト平面図である。
図6BのA-A’線に沿って切り取った断面図である。
例示的な実施形態によるハイブリッドピクセルを示す回路図である。
例示的な実施形態によるハイブリッドセンサのスタック構造を示す図である。
例示的な実施形態によるハイブリッドセンサのスタック構造を示す図である。
本発明の例示的な実施形態によるハイブリッドセンサに含まれるハイブリッドピクセルの構成要素のスタック構造を示す図である。
本発明の例示的な実施形態によるハイブリッドセンサに含まれるハイブリッドピクセルの構成要素のスタック構造を示す図である。
本発明の例示的な実施形態によるハイブリッドピクセルの構造を示すブロック図である。
例示的な実施形態によるハイブリッドピクセルを示す回路図である。
図12に示すノイズ除去回路に含まれるトランジスタのターンオンタイミングを説明するためのタイミング図である。
例示的な実施形態によるノイズ除去回路に含まれるトランジスタのターンオンタイミングを説明するためのタイミング図である。
例示的な実施形態によるノイズ除去回路に含まれるトランジスタのターンオンタイミングを説明するためのタイミング図である。
【発明を実施するための形態】
(【0011】以降は省略されています)
この特許をJ-PlatPat(特許庁公式サイト)で参照する
関連特許
三星電子株式会社
冷蔵庫
1日前
三星電子株式会社
保持装置
13日前
三星電子株式会社
実装装置
13日前
三星電子株式会社
半導体装置
5日前
三星電子株式会社
半導体装置
23日前
三星電子株式会社
半導体素子
23日前
三星電子株式会社
半導体素子
8日前
三星電子株式会社
半導体素子
19日前
三星電子株式会社
固体二次電池
12日前
三星電子株式会社
固体撮像素子
1か月前
三星電子株式会社
固体撮像素子
1か月前
三星電子株式会社
モータ駆動装置
5日前
三星電子株式会社
半導体接合装置
13日前
三星電子株式会社
半導体パッケージ
1か月前
三星電子株式会社
半導体パッケージ
7日前
三星電子株式会社
イメージセンサー
6日前
三星電子株式会社
半導体パッケージ
7日前
三星電子株式会社
集積回路パッケージ
今日
三星電子株式会社
周辺回路領域を含む半導体素子
7日前
三星電子株式会社
イメージセンサー及びその動作方法
19日前
三星電子株式会社
半導体パッケージ装置及びこの製造方法
27日前
三星電子株式会社
回転磁気アレイ装置及び磁気冷凍システム
23日前
三星電子株式会社
回転磁気アレイ装置及び磁気冷凍システム
23日前
三星電子株式会社
シンプロビジョニングを通じたSSD仮想化
23日前
三星電子株式会社
ハイブリッドピクセル及びハイブリッドセンサ
1か月前
三星電子株式会社
トランスフォーマー加速装置およびその動作方法
1か月前
三星電子株式会社
半導体装置およびこれを含む電力半導体システム
8日前
三星電子株式会社
複数の波長を使用するライダーシステム及びその動作方法
8日前
三星電子株式会社
ニューロモルフィックコンピューティング装置及びその動作方法
21日前
三星電子株式会社
キャパシタ構造物を含む半導体装置及びこれを含むデータ記憶システム
14日前
三星電子株式会社
キャパシタ構造物を含む半導体装置及びこれを含むデータ記憶システム
21日前
三星電子株式会社
化合物、高分子化合物、レジスト組成物、およびレジストパターン形成方法
1か月前
三星電子株式会社
サブバンド全二重動作における複数の物理ランダム・アクセス・チャネル送信
5日前
三星電子株式会社
熱交換器、この熱交換器を用いた熱交換システム及びこの熱交換器を用いた空気調和機
20日前
三星電子株式会社
イメージセンサとその動作方法及びイメージ装置
5日前
三星電子株式会社
共重合体、ならびに当該共重合体を含有する組成物、液状組成物、およびエレクトロルミネッセンス素子
14日前
続きを見る
他の特許を見る