TOP
|
特許
|
意匠
|
商標
特許ウォッチ
Twitter
他の特許を見る
10個以上の画像は省略されています。
公開番号
2025144516
公報種別
公開特許公報(A)
公開日
2025-10-02
出願番号
2024212514
出願日
2024-12-05
発明の名称
熱交換器、この熱交換器を用いた熱交換システム及びこの熱交換器を用いた空気調和機
出願人
三星電子株式会社
,
Samsung Electronics Co.,Ltd.
代理人
個人
,
個人
,
個人
,
個人
,
個人
,
個人
主分類
F28F
9/02 20060101AFI20250925BHJP(熱交換一般)
要約
【課題】冷媒流路が上下方向に折り返すように形成されている熱交換器で、その折返し部分の下流側の伝熱管に冷媒を均等に流し、熱交換器の熱交換効率を維持すること。
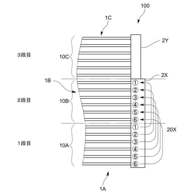
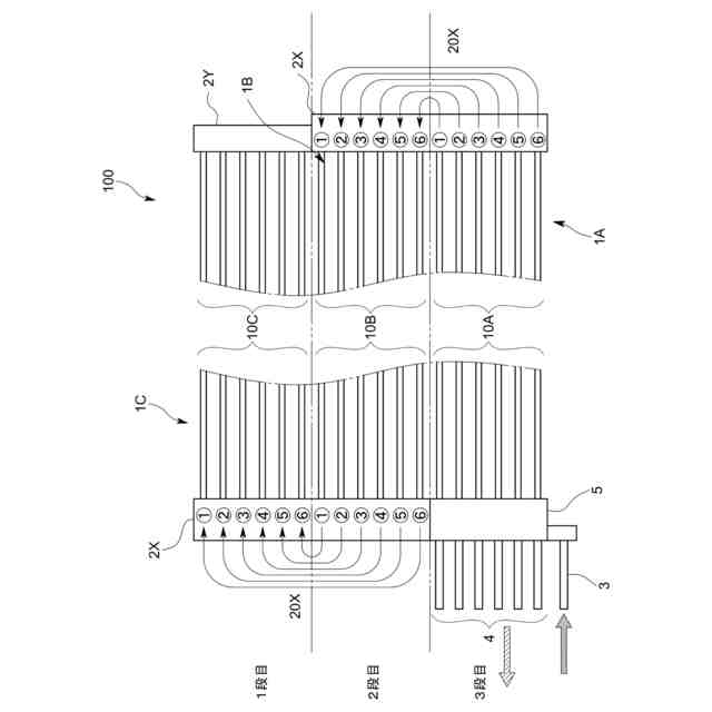
【解決手段】上下方向に並べて配列され、冷媒の流れ方向が互いに同一である複数の第1伝熱管を有する第1熱交換部と、前記上下方向において前記第1熱交換部と隣り合うように配置されたものであり、前記上下方向に並べて配列され、冷媒の流れ方向が互いに同一で、かつ、その流れ方向が前記各第1伝熱管とは逆である複数の第2伝熱管を有する第2熱交換部と、前記複数の第1伝熱管の下流側端部と前記複数の第2伝熱管の上流側端部とを接続して、前記第1伝熱管を流れた冷媒を前記上下方向に折り返して前記第2伝熱管に流入させる上下折返し部2Xとを備え、前記上下折返し部が、前記各第1伝熱管と前記各第2伝熱管とを、個別に連通させる上下折返し流路20Xを有する熱交換器100。
【選択図】図4
特許請求の範囲
【請求項1】
上下方向に並べて配列され、冷媒の流れ方向が互いに同一である複数の第1伝熱管を有する第1熱交換部と、
前記上下方向において前記第1熱交換部と隣り合うように配置されたものであって、前記上下方向に並べて配列され、冷媒の流れ方向が互いに同一であり、かつ、その流れ方向が前記各第1伝熱管とは逆である複数の第2伝熱管を有する第2熱交換部と、
前記複数の第1伝熱管の下流側端部と前記複数の第2伝熱管の上流側端部とを接続して、前記第1伝熱管を流れた冷媒を前記上下方向に折り返して前記第2伝熱管に流入させる上下折返し部とを備え、
前記上下折返し部が、前記各第1伝熱管と前記各第2伝熱管とを、個別に連通させる上下折返し流路を有する、熱交換器。
続きを表示(約 1,200 文字)
【請求項2】
前記第1伝熱管の本数と第2伝熱管の本数とは、互いに同一であり、
前記上下折返し部は、前記複数の第1伝熱管と、前記複数の第2伝熱管とを個別に連通させる複数の前記上下折返し流路を有している、請求項1に記載の熱交換器。
【請求項3】
前記各上下折返し流路は、前記各熱交換部における配列位置が互いに同一である前記第1伝熱管と前記第2伝熱管とを連通させる、請求項2に記載の熱交換器。
【請求項4】
前記複数の上下折返し流路の流路長が、互いに略同一である請求項1に記載の熱交換器。
【請求項5】
水平方向において前記第2熱交換部と隣り合うように配置されたものであって、前記上下方向に並べて配列され、冷媒の流れ方向が互いに同一であり、かつ、その流れ方向が前記各第2伝熱管とは逆である複数の第3伝熱管を有する第3熱交換部と、
前記第2伝熱管の下流側端部と前記第3伝熱管の上流側端部とを接続して前記第2伝熱管を流れた冷媒を前記水平方向に折り返して前記第3伝熱管に流入させる水平折返し部とをさらに備え、
前記水平折返し部が、前記各第2伝熱管と前記各第3伝熱管とを、個別に連通させる水平折返し流路を有する、請求項1に記載の熱交換器。
【請求項6】
前記熱交換器が蒸発器であり、
前記第1熱交換部及び前記第2熱交換部が風上側に配置されており、前記第3熱交換部が風下側に配置されている、請求項5に記載の熱交換器。
【請求項7】
前記第1熱交換部及び前記第2熱交換部の間に、内部に冷媒が流れない1以上のダミー伝熱管が配列されている請求項1に記載の熱交換器。
【請求項8】
請求項1に記載の熱交換器を、水平方向から視て互いに面対称の関係になるように、前記上下方向に複数積み重ねて構成されている熱交換システム。
【請求項9】
前記第1熱交換部及び第2熱交換部を含む複数の風下側熱交換部が前記上下方向に並んで構成される風下側熱交換部群と、
前記風下側熱交換部よりも風上側に配置された複数の風上側熱交換部が前記上下方向に並んで構成される風上側熱交換部群と、
前記上下折返し部を含み、前記風上側熱交換部及び風下側熱交換部を接続して、これらとともに一連の冷媒流路を形成する折返し部と、
前記風上側熱交換部群を構成する複数の風上側熱交換部のうちの1つに接続されて前記冷媒流路の一端に冷媒を導入する導入管と、
前記風上側熱交換部群を構成する複数の風上側熱交換部のうちの他の1つに接続されて前記冷媒流路の他端から冷媒を排出する排出管と、
をさらに備える、請求項1に記載の熱交換器。
【請求項10】
請求項1に記載の熱交換器を具備する空気調和機。
発明の詳細な説明
【技術分野】
【0001】
本発明は、熱交換器、この熱交換器を用いた熱交換システム及びこの熱交換器を用いた空気調和機に関するものである。
続きを表示(約 1,700 文字)
【背景技術】
【0002】
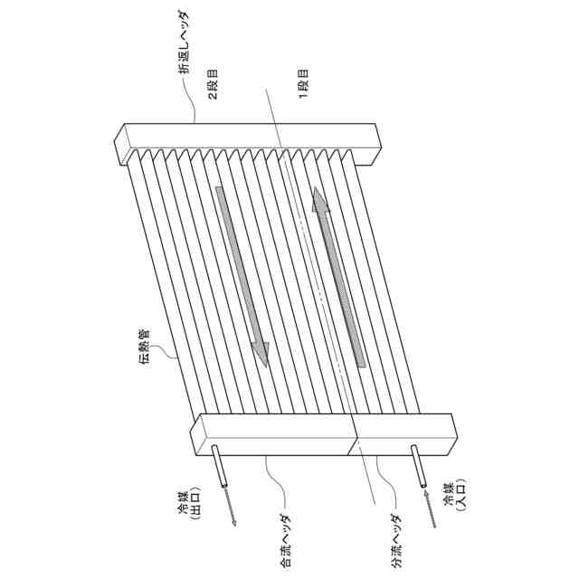
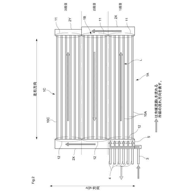
従来から、図7に示すような、上下方向に並んで配列された複数の伝熱管と、この複数の伝熱管の一端部と接続された上下折返しヘッダとを備え、その複数の伝熱管のうち下側(1段目)に設けられた複数の伝熱管を流れる冷媒が、上下折返しヘッダを介し上下方向に折り返して、上側(2段目)に設けられた複数の伝熱管に流入するように構成された熱交換器がある(例えば、特許文献1)。
【0003】
このような熱交換器の上下折返しヘッダは、複数の伝熱管と連通する空間を有し、上流側の複数の伝熱管から供給された冷媒をその上下折返しヘッダ内の空間に溜めてから、下流側の複数の伝熱管に分流するように構成されている。
【先行技術文献】
【特許文献】
【0004】
特開2010-112581
【発明の概要】
【発明が解決しようとする課題】
【0005】
しかしながら、上述したような熱交換器では、図8に示すように、上下折返しヘッダ内の空間で気液二相の冷媒が分離することで、その空間の下方に液冷媒が溜まる、所謂液だまりが生じることがある。
【0006】
このように液だまりが発生している状態では、下流側(2段目)の複数の伝熱管に気液二相冷媒が不均等に分配されてしまう。すると熱交換器において、冷媒の偏流が生じ、熱交換効率が低下するという問題がある。
【0007】
そこで本発明は、上記問題を解決するべくなされたものであり、複数の伝熱管を流れる冷媒が上下方向に折り返すように構成されている熱交換器において、その折返し部分の下流側の複数の伝熱管に冷媒を均等に流し、熱交換器の熱交換効率を維持することを主たる課題とするものである。
【課題を解決するための手段】
【0008】
すなわち、本発明に係る熱交換器は、上下方向に並べて配列され、冷媒の流れ方向が互いに同一である複数の第1伝熱管を有する第1熱交換部と、前記上下方向において前記第1熱交換部と隣り合うように配置されたものであって、前記上下方向に並べて配列され、冷媒の流れ方向が互いに同一であり、かつ、その流れ方向が前記各第1伝熱管とは逆である複数の第2伝熱管を有する第2熱交換部と、前記複数の第1伝熱管の下流側端部と前記複数の第2伝熱管の上流側端部とを接続して、前記第1伝熱管を流れた冷媒を前記上下方向に折り返して前記第2伝熱管に流入させる上下折返し部とを備え、前記上下折返し部が、前記各第1伝熱管と前記各第2伝熱管とを、個別に連通させる上下折返し流路を有するものである。
【0009】
このように構成した熱交換器であれば、上下折返し流路で、第1熱交換部の複数の第1伝熱管と、第2熱交換部の複数の第2伝熱管とが個別に連通しているので、第1熱交換部の複数の第1伝熱管を流れる冷媒が、上下折返し部において、合流又は分流せずに、それぞれ対応する第2伝熱管に流れる。これならば、上下折返し部において、偏流の原因になりうる合流又は分流が行われないので、偏流に起因する熱交換器の熱交換効率の低下を防ぐことができる。
特に第1熱交換部に気液二相冷媒が流れている場合に、上下折返し部で気液二相冷媒が合流しないので、上述したような液だまりに起因する熱交換率の低下を防ぐことができる。
【0010】
加えて、前記第1伝熱管の本数と第2伝熱管の本数とは、互いに同一であり、前記上下折返し部は、前記複数の第1伝熱管と、前記複数の第2伝熱管とを個別に連通させる複数の前記上下折返し流路を有していることが望ましい。
これならば、第1熱交換部の全ての第1伝熱管と、第2熱交換部の全ての第2伝熱管とが、上下折返し流路を介して、一対一の関係で連通することになるので、全ての第1伝熱管を流れる冷媒が、上下折返し部において合流又は分流せずに、それぞれ対応する第2伝熱管に流れる。これならば、熱交換器の冷媒流路における偏流の発生をより確実に抑制することができ、より高いレベルで熱交換効率を維持することができる。
(【0011】以降は省略されています)
この特許をJ-PlatPat(特許庁公式サイト)で参照する
関連特許
三星電子株式会社
冷蔵庫
5日前
三星電子株式会社
保持装置
17日前
三星電子株式会社
実装装置
17日前
三星電子株式会社
半導体装置
9日前
三星電子株式会社
半導体素子
12日前
三星電子株式会社
固体二次電池
16日前
三星電子株式会社
固体撮像装置
2日前
三星電子株式会社
半導体接合装置
17日前
三星電子株式会社
モータ駆動装置
9日前
三星電子株式会社
半導体パッケージ
11日前
三星電子株式会社
イメージセンサー
10日前
三星電子株式会社
半導体パッケージ
11日前
三星電子株式会社
集積回路パッケージ
4日前
三星電子株式会社
周辺回路領域を含む半導体素子
11日前
三星電子株式会社
半導体装置およびこれを含む電力半導体システム
12日前
三星電子株式会社
プラズマエッチング工程を含む半導体素子の製造方法
2日前
三星電子株式会社
複数の波長を使用するライダーシステム及びその動作方法
12日前
三星電子株式会社
キャパシタ構造物を含む半導体装置及びこれを含むデータ記憶システム
18日前
三星電子株式会社
サブバンド全二重動作における複数の物理ランダム・アクセス・チャネル送信
9日前
三星電子株式会社
イメージセンサとその動作方法及びイメージ装置
9日前
三星電子株式会社
共重合体、ならびに当該共重合体を含有する組成物、液状組成物、およびエレクトロルミネッセンス素子
18日前
三星電子株式会社
高分子化合物、ならびに当該高分子化合物を用いるエレクトロルミネッセンス素子材料およびエレクトロルミネッセンス素子
18日前
三星電子株式会社
高分子化合物、ならびに当該高分子化合物を用いるエレクトロルミネッセンス素子材料、液状組成物およびエレクトロルミネッセンス素子
18日前
個人
排熱回収装置
2か月前
個人
冷却装置の蒸発器
2日前
個人
放射冷却装置
4日前
個人
熱交換装置
5か月前
個人
熱交換装置
16日前
ホーコス株式会社
熱交換ユニット
9か月前
三恵技研工業株式会社
熱交換器
6か月前
三恵技研工業株式会社
熱交換器
6か月前
アンリツ株式会社
検査装置
5か月前
アンリツ株式会社
検査装置
5か月前
株式会社パイオラックス
熱交換器
8か月前
株式会社ティラド
ラジエータ
9か月前
日産自動車株式会社
熱交換器
8か月前
続きを見る
他の特許を見る