TOP
|
特許
|
意匠
|
商標
特許ウォッチ
Twitter
他の特許を見る
10個以上の画像は省略されています。
公開番号
2025149904
公報種別
公開特許公報(A)
公開日
2025-10-08
出願番号
2025024011
出願日
2025-02-18
発明の名称
キャパシタ構造物を含む半導体装置及びこれを含むデータ記憶システム
出願人
三星電子株式会社
,
Samsung Electronics Co.,Ltd.
代理人
弁理士法人共生国際特許事務所
主分類
H10B
43/40 20230101AFI20251001BHJP()
要約
【課題】半導体装置及びこれを含むデータ記憶システムの静信頼性及び電気的特性を改善する。
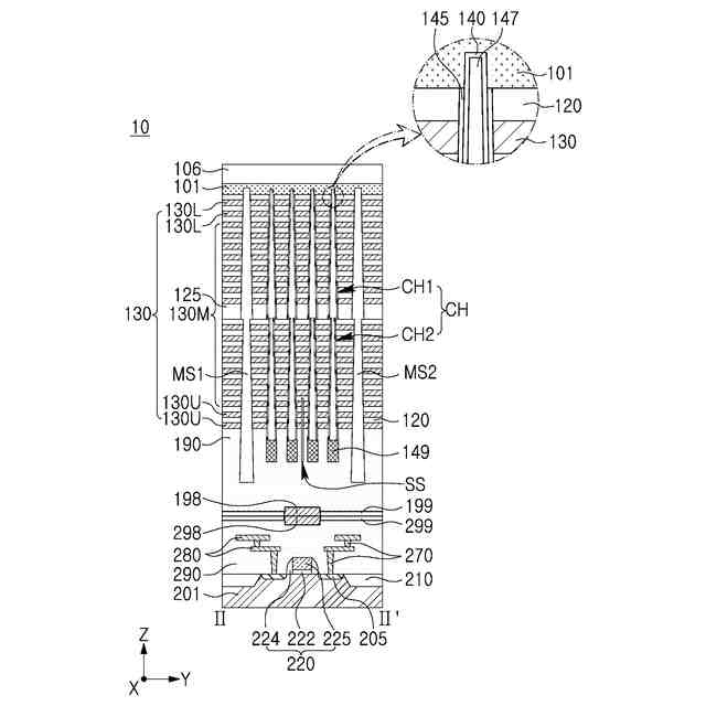
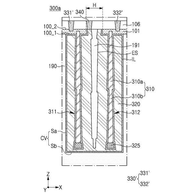
【解決手段】半導体装置10は、基板201、回路素子220、下部配線構造物270、280及び第1ボンディング金属層298を含む第1半導体構造物PERIと、少なくとも1つの貫通孔Hを含むプレート層101、ゲート電極130、チャネル構造物CH、キャパシタ構造物300並びにチャネル構造物の下部及びキャパシタ構造物の下部に配置されて第1ボンディング金属層に接合される第2ボンディング金属層198を含むメモリセル構造物CELLと、を備え、キャパシタ構造物は、プレート層の下面上に配置される第1電極構造物310、貫通孔から延びて第1電極構造物の少なくとも一部を囲み、貫通孔を介して一部が露出する第2電極構造物320及び貫通孔と第2電極構造物との間から第1電極構造物と第2電極構造物との間に延びる誘電体ライナーILを含む。
【選択図】図2a
特許請求の範囲
【請求項1】
基板、前記基板上の回路素子、前記回路素子に電気的に連結される下部配線構造物、並びに前記回路素子及び前記下部配線構造物上の第1ボンディング金属層を含む第1半導体構造物と、
少なくとも1つの貫通孔を含むプレート層、前記プレート層の下面上に垂直方向に沿って互いに離隔して積層されるゲート電極、前記ゲート電極を貫通して前記垂直方向に沿って延びるチャネル構造物、前記プレート層の下面上で前記チャネル構造物から離隔されるキャパシタ構造物、並びに前記チャネル構造物の下部及び前記キャパシタ構造物の下部に配置されて前記第1ボンディング金属層に接合される第2ボンディング金属層を含む第2半導体構造物と、を備え、
前記キャパシタ構造物は、
前記プレート層の下面上に配置される第1電極構造物と、
前記少なくとも1つの貫通孔から延びて前記第1電極構造物の少なくとも一部を囲み、前記少なくとも1つの貫通孔を介して一部が露出する第2電極構造物と、
前記少なくとも1つの貫通孔と前記第2電極構造物との間から前記第1電極構造物と前記第2電極構造物との間に延びる誘電体ライナーと、を含むことを特徴とする半導体装置。
続きを表示(約 1,100 文字)
【請求項2】
前記プレート層の下面上で前記少なくとも1つの貫通孔に重なる拡張キャビティを更に含み、
前記第1電極構造物の少なくとも一部は、前記拡張キャビティ内に配置され、
前記誘電体ライナー及び前記第2電極構造物は、前記少なくとも1つの貫通孔から延びて前記拡張キャビティの内表面上に順次配置されることを特徴とする請求項1に記載の半導体装置。
【請求項3】
前記拡張キャビティは、前記プレート層の下面で前記少なくとも1つの貫通孔の中心から前記中心を通って前記垂直方向に平行な仮想軸に沿って第1距離離隔される側面を有する円柱形態であることを特徴とする請求項2に記載の半導体装置。
【請求項4】
前記少なくとも1つの貫通孔から延びて前記拡張キャビティ内で前記第2電極構造物によって囲まれる絶縁パターンを更に含むことを特徴とする請求項2に記載の半導体装置。
【請求項5】
前記第2電極構造物は、前記少なくとも1つの貫通孔から延びて前記拡張キャビティを完全に満たすことを特徴とする請求項2に記載の半導体装置。
【請求項6】
前記第1電極構造物の上面は、前記プレート層内に埋め込まれ、
前記誘電体ライナーは、前記拡張キャビティ内で前記第1電極構造物と前記第2電極構造物との間及び前記拡張キャビティと前記第2電極構造物との間に配置されることを特徴とする請求項2に記載の半導体装置。
【請求項7】
平面上で見たとき、前記第1電極構造物の一部は、前記拡張キャビティの側面上に配置されることを特徴とする請求項2に記載の半導体装置。
【請求項8】
前記拡張キャビティは、前記垂直方向に平行な側面及び前記側面から延びて前記垂直方向に交差する水平方向に平行な底面を含み、
前記底面は、前記第1電極構造物の下部面よりも低いレベルに配置されることを特徴とする請求項2に記載の半導体装置。
【請求項9】
前記プレート層の下面で前記ゲート電極を覆うように配置されるセル領域絶縁層を更に含み、
前記キャパシタ構造物は、前記プレート層の下面で前記第1電極構造物、前記第2電極構造物、及び前記誘電体ライナーを囲み、前記垂直方向に前記セル領域絶縁層を貫通するダム構造物を更に含むことを特徴とする請求項1に記載の半導体装置。
【請求項10】
前記誘電体ライナーは、前記第1電極構造物と前記第2電極構造物との間から前記ダム構造物の少なくとも一部分と前記第2電極構造物との間に延びることを特徴とする請求項9に記載の半導体装置。
(【請求項11】以降は省略されています)
発明の詳細な説明
【技術分野】
【0001】
本発明は、キャパシタ構造物を含む半導体装置及びこれを含むデータ記憶システムに関する。
続きを表示(約 2,600 文字)
【背景技術】
【0002】
データ記憶を必要とするデータ記憶システムにおいて、高容量のデータを記憶することができる半導体装置が求められている。これにより、半導体装置のデータ記憶容量を増加させることができる方案が研究されている。例えば、半導体装置のデータ記憶容量を増加させるための方法のうちの一つとして、2次元的に配列されるメモリセルの代わりに3次元的に配列されるメモリセルを含む半導体装置が提案されている。
【0003】
また、半導体装置の高集積化が加速するにつれて、メモリセル構造物内でキャパシタが占めることができる面積も減少している。即ち、半導体装置は、集積度が高くなってキャパシタが占める面積は減る反面、静電容量は維持又は増加している。これにより、キャパシタを構成する電極のアスペクト比が非常に大きくなるにつれて、信頼性及び電気的特性を確保することができるキャパシタ構造物が提案されている。
【先行技術文献】
【特許文献】
【0004】
特開2010-226109号公報
【発明の概要】
【発明が解決しようとする課題】
【0005】
本発明は、上記従来技術に鑑みてなされたものであって、本発明の目的は、静電容量を確保して信頼性を改善させたキャパシタ構造物を含む半導体装置を提供することにある。
【0006】
また、本発明がの目的は、キャパシタ構造物を含む半導体装置を含むデータ記憶システムを提供することにある。
【課題を解決するための手段】
【0007】
上記目的を達成するためになされた本発明の一態様による半導体装置は、基板、前記基板上の回路素子、前記回路素子に電気的に連結される下部配線構造物、並びに前記回路素子及び前記下部配線構造物上の第1ボンディング金属層を含む第1半導体構造物と、少なくとも1つの貫通孔を含むプレート層、前記プレート層の下面上に垂直方向に沿って互いに離隔して積層されるゲート電極、前記ゲート電極を貫通して前記垂直方向に沿って延びるチャネル構造物、前記プレート層の下面上で前記チャネル構造物から離隔されるキャパシタ構造物、並びにび前記チャネル構造物の下部及び前記キャパシタ構造物の下部に配置されて前記第1ボンディング金属層に接合される第2ボンディング金属層を含む第2半導体構造物と、を備え、前記キャパシタ構造物は、前記プレート層の下面上に配置される第1電極構造物と、前記少なくとも1つの貫通孔から延びて前記第1電極構造物の少なくとも一部を囲み、前記少なくとも1つの貫通孔を介して一部が露出する第2電極構造物と、前記少なくとも1つの貫通孔と前記第2電極構造物との間から前記第1電極構造物と前記第2電極構造物との間に延びる誘電体ライナーと、を含む。
【0008】
上記目的を達成するためになされた本発明の他の態様による半導体装置は、第1方向に順次配置されるセルアレイ領域、セルコンタクト領域、及び周辺領域を含む積層パターンと、前記積層パターン上で前記セルアレイ領域から前記セルコンタクト領域上に延び、層間絶縁層及びゲート電極が垂直方向に交互に配置される積層構造物と、前記セルアレイ領域で前記積層構造物を貫通して前記第1方向に交差する垂直方向に沿って延びるチャネル構造物と、前記セルコンタクト領域で前記ゲート電極及び前記層間絶縁層を貫通するコンタクトプラグと、前記周辺領域で前記積層パターン上に配置されて拡張キャビティを含むキャパシタ構造物と、を備え、前記キャパシタ構造物は、前記積層パターンの上面上に配置されて前記拡張キャビティによって少なくとも一部が収容される第1電極構造物と、前記拡張キャビティ内に配置される前記第1電極構造物及び前記拡張キャビティを覆う誘電体ライナーと、前記誘電体ライナー上に配置される第2電極構造物と、を含む。
【0009】
上記目的を達成するためになされた本発明の一態様によるデータ記憶システムは、回路素子及び前記回路素子に電気的に連結される回路配線を含む第1半導体構造物、前記第1半導体構造物の一面上に配置されて第1領域、第2領域、及び第3領域を含む第2半導体構造物、並びに前記回路素子に電気的に連結される入出力パッドを含む半導体記憶装置と、前記入出力パッドを介して前記半導体記憶装置に電気的に連結されて前記半導体記憶装置を制御するコントローラと、を備え、前記第2半導体構造物は、前記第3領域上に少なくとも一つの貫通孔を含み、前面及び前記前面に向かい合う後面を含むプレート層と、前記プレート層の後面に垂直方向に沿って互いに離隔して積層されて上面が上部に露出するパッド領域をそれぞれ含むゲート電極と、前記第1領域で前記ゲート電極を貫通して前記垂直方向に沿って延びるチャネル構造物と、前記第2領域で前記ゲート電極のそれぞれのパッド領域を貫通して前記垂直方向に沿って延び、前記ゲート電極を前記回路配線のうちの一部にそれぞれ連結するコンタクトプラグと、前記第3領域で前記プレート層の後面に配置され、平面上で見たとき、前記貫通孔に重なるキャパシタ構造物と、を含み、前記キャパシタ構造物は、前記プレート層の後面上で前記垂直方向に沿って延びる第1電極構造物、前記少なくとも1つの貫通孔から延びて前記第1電極構造物の少なくとも一部を囲み、前記貫通孔を介して一部が露出する第2電極構造物、及び前記少なくとも1つの貫通孔と前記第2電極構造物との間から前記第1電極構造物と前記第2電極構造物との間に延びる誘電体ライナーを含み、前記第2電極構造物及び前記誘電体ライナーは、前記第1電極構造物の少なくとも一部をコンフォーマル(conformal)に覆う。
【発明の効果】
【0010】
本発明の半導体装置及びこれを含むデータ記憶システムによれば、メモリセル構造物上に垂直方向に延びる円筒形状の第1電極構造物、第1電極構造物を覆う誘電体ライナー、及び第2電極構造物を含むことによって、半導体装置及びこれを含むデータ記憶システムは、信頼性及び電気的特性が改善されたキャパシタ構造物を確保することができる。
(【0011】以降は省略されています)
この特許をJ-PlatPat(特許庁公式サイト)で参照する
関連特許
個人
半導体装置
7日前
東レ株式会社
太陽電池モジュール
7日前
エイブリック株式会社
半導体装置
13日前
富士電機株式会社
半導体装置
16日前
エイブリック株式会社
縦型ホール素子
1日前
エイブリック株式会社
縦型ホール素子
1日前
富士通株式会社
半導体装置
6日前
ローム株式会社
半導体装置
8日前
三菱電機株式会社
半導体装置
6日前
株式会社半導体エネルギー研究所
表示装置
1日前
AGC株式会社
太陽電池モジュール
19日前
日亜化学工業株式会社
発光素子
6日前
日亜化学工業株式会社
発光素子
14日前
TDK株式会社
圧電素子
6日前
ミツミ電機株式会社
半導体装置
13日前
日亜化学工業株式会社
発光装置
5日前
キヤノン株式会社
有機発光素子
26日前
ローム株式会社
窒化物半導体装置
1日前
サンケン電気株式会社
半導体装置
12日前
デクセリアルズ株式会社
受光装置
12日前
住友電気工業株式会社
半導体装置
26日前
住友電気工業株式会社
半導体装置
26日前
富士電機株式会社
半導体装置の製造方法
今日
ローム株式会社
半導体装置
14日前
ローム株式会社
TVSダイオード
14日前
ローム株式会社
TVSダイオード
14日前
株式会社東芝
熱電変換装置
14日前
TDK株式会社
光検知装置
13日前
株式会社カネカ
太陽電池モジュール
5日前
三菱電機株式会社
半導体装置
20日前
沖電気工業株式会社
発光装置及び表示装置
7日前
内山工業株式会社
太陽電池
12日前
キオクシア株式会社
記憶装置
12日前
株式会社カネカ
太陽電池モジュール
14日前
株式会社MARUWA
発光装置及び照明器具
5日前
サンケン電気株式会社
発光装置
5日前
続きを見る
他の特許を見る