TOP
|
特許
|
意匠
|
商標
特許ウォッチ
Twitter
他の特許を見る
10個以上の画像は省略されています。
公開番号
2025137347
公報種別
公開特許公報(A)
公開日
2025-09-19
出願番号
2024142020
出願日
2024-08-23
発明の名称
地盤改良装置におけるロッドの連結構造
出願人
株式会社竹中土木
代理人
弁理士法人山名国際特許事務所
主分類
E02D
3/12 20060101AFI20250911BHJP(水工;基礎;土砂の移送)
要約
【課題】地盤改良装置のロッド同士を連結ピンを用いて連結でき、ロッド内の角度測定用ケーブルも接続して、油圧オーガーの傾斜角度を適正に保持しつつ地盤改良を行えるロッドの連結構造を提供する。
【解決手段】ロッド1の連結は、一方のロッド1の接続端部がピン穴付き雄型ロッド端部10、他方のロッドの接続端部がピン穴付き雌型ロッド端部11をなし、対向する雄型ロッド端部10と雌型ロッド端部11とが連結された状態で、合致するピン穴80、90に挿し込まれた連結ピンPにより固定される。ロッド1内のケーブル穴に挿通された角度測定用ケーブルCが地上の傾斜角度測定器Tに接続され、油圧オーガー6の傾斜角度が測定自在である。ロッド1の下端に連結された鉛直回転体3により油圧オーガー6が最大180度の回転する範囲で鉛直面の所望方向に傾斜され、所望形状の地盤改良杭等が所望範囲に造成される。
【選択図】図1
特許請求の範囲
【請求項1】
ロッドを介して軟弱地盤を掘削しながら軟弱地盤中に貫入され、貫入吐出又は引上吐出により安定材が吐出され、原位置土と撹拌・混合して、地盤改良杭又は地盤改良体を造成する機械式撹拌深層混合処理工法に用いられる地盤改良装置において、
(a)前記地盤改良装置は、前記ロッドに連結された回転装置と油圧オーガーとからなり、前記回転装置は、水平軸部と、前記水平軸部の両端部に接続されて鉛直面で回転自在な左右の垂直部とを備えた鉛直回転体であり、前記左右の垂直部が鉛直面で左右90度ずつ回転して最大180度の範囲で回転する構成で、前記鉛直回転体の前記左右の垂直部に前記油圧オーガーが接続され、前記鉛直回転体の上端が前記ロッドの下端に取り付け自在であること、
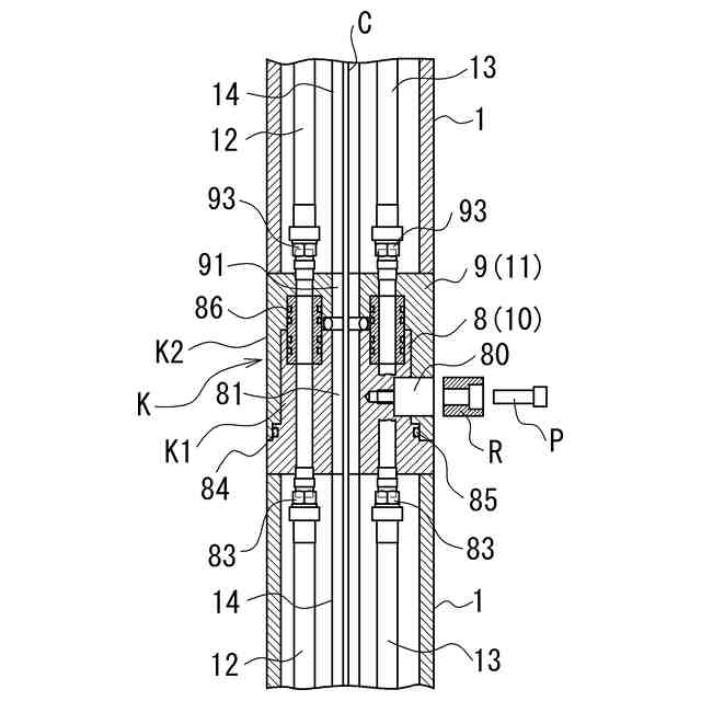
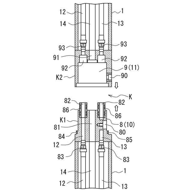
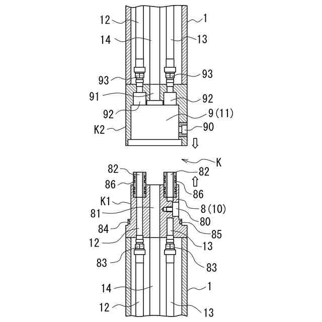
(b)複数本でなる前記ロッドの連結は、一方の前記ロッドの接続端部がピン穴付き雄型ロッド端部、他方の前記ロッドの接続端部がピン穴付き雌型ロッド端部をなし、対向する前記雄型ロッド端部と前記雌型ロッド端部とが連結された状態で、合致するピン穴に挿し込まれた連結ピンにより固定されてなること、
(c)前記ロッドの内部に設けられたケーブル穴に角度測定用ケーブルが挿通されて、前記角度測定用ケーブルが傾斜角度測定器に接続され、前記傾斜角度測定器により前記油圧オーガーの傾斜角度が測定自在であること、
(d)前記ロッドの下端に連結された前記鉛直回転体の前記左右の垂直部によって前記油圧オーガーが前記最大180度の回転する範囲で前記鉛直面の所望方向に傾斜され、所望形状の地盤改良杭又は地盤改良体が所望範囲に造成される構成であること、
を特徴とする、地盤改良装置におけるロッドの連結構造。
続きを表示(約 3,700 文字)
【請求項2】
ロッドを介して軟弱地盤を掘削しながら軟弱地盤中に貫入され、貫入吐出又は引上吐出により安定材が吐出され、原位置土と撹拌・混合して、地盤改良杭又は地盤改良体を造成する機械式撹拌深層混合処理工法に用いられる地盤改良装置において、
(a)前記地盤改良装置は、前記ロッドに連結された回転装置と油圧オーガーとからなり、前記回転装置は、水平軸部と、前記水平軸部の両端部に接続されて鉛直面で回転自在な左右の垂直部とを備えた鉛直回転体であり、前記左右の垂直部が鉛直面で左右90度ずつ回転して最大180度の範囲で回転する構成で、前記鉛直回転体の前記左右の垂直部に前記油圧オーガーが接続され、前記鉛直回転体の上端が前記ロッドの下端に取り付け自在であること、
(b)複数本でなる前記ロッドの連結は、一方の前記ロッドの接続端部がピン穴付き雄型ロッド端部、他方の前記ロッドの接続端部がピン穴付き雌型ロッド端部をなし、対向する前記雄型ロッド端部と前記雌型ロッド端部とが連結された状態で、合致するピン穴に挿し込まれた連結ピンにより固定されてなること、及び最下端の前記ロッドと前記回転装置との連結は、前記回転装置をなす鉛直回転体の上部のピン穴付き突出部と、対向する前記最下端の前記雌型ロッド端部とが連結された状態で、合致するピン穴に挿し込まれた連結ピンにより固定されてなること、
(c)前記ロッドと前記鉛直回転体との内部にそれぞれ設けられたケーブル穴に、角度測定用ケーブルが前記突出部を介して挿通されて、前記角度測定用ケーブルが傾斜角度測定器に接続され、前記傾斜角度測定器により前記油圧オーガーの傾斜角度が測定自在であること、
(d)前記ロッドの下端に連結された前記鉛直回転体の前記左右の垂直部によって前記油圧オーガーが前記最大180度の回転する範囲で前記鉛直面の所望方向に傾斜され、所望形状の地盤改良杭又は地盤改良体が所望範囲に造成される構成であること、
を特徴とする、地盤改良装置におけるロッドの連結構造。
【請求項3】
ロッドを介して軟弱地盤を掘削しながら軟弱地盤中に貫入され、貫入吐出又は引上吐出により安定材が吐出され、原位置土と撹拌・混合して、地盤改良杭又は地盤改良体を造成する機械式撹拌深層混合処理工法に用いられる地盤改良装置において、
(a)前記地盤改良装置は、前記ロッドに連結された回転装置と油圧オーガーとからなり、さらに前記回転装置は、鉛直回転体と水平回転体との組み合わせでなること、
(b)前記鉛直回転体は、水平軸部と、前記水平軸部の両端部に接続されて鉛直面で回転自在な左右の垂直部とを備え、前記左右の垂直部が鉛直面で左右90度ずつ回転して最大180度の範囲で回転する構成で、前記鉛直回転体の上端が前記水平回転体に接続され、前記鉛直回転体の前記左右の垂直部に前記油圧オーガーが接続され、及び前記水平回転体は、垂直軸部と、前記垂直軸部に軸支されて水平面で360度の範囲で回転自在な水平部とを備え、前記水平回転体の水平部が前記鉛直回転体に接続され、前記水平回転体の前記垂直軸部が前記ロッドの下端に取り付け自在であること、
(c)複数本でなる前記ロッドの連結は、一方の前記ロッドの接続端部がピン穴付き雄型ロッド端部、他方の前記ロッドの接続端部がピン穴付き雌型ロッド端部をなし、対向する前記雄型ロッド端部と前記雌型ロッド端部とが連結された状態で、合致するピン穴に挿し込まれた連結ピンにより固定されてなること、
(d)前記ロッドの内部に設けられたケーブル穴に角度測定用ケーブルが挿通されて、前記角度測定用ケーブルが傾斜角度測定器に接続され、前記傾斜角度測定器により前記油圧オーガーの傾斜角度が測定自在であること、
(e)前記ロッドの下端に連結された前記回転装置の前記鉛直回転体の前記左右の垂直部によって前記油圧オーガーが前記最大180度の回転する範囲で前記鉛直面の所望方向に傾斜されると共に、前記回転装置の前記水平回転体の前記水平部により前記油圧オーガーが前記水平面の所望方向に回転され、所望形状の地盤改良杭又は地盤改良体が所望範囲に造成される構成であること、
を特徴とする、地盤改良装置におけるロッドの連結構造。
【請求項4】
ロッドを介して軟弱地盤を掘削しながら軟弱地盤中に貫入され、貫入吐出又は引上吐出により安定材が吐出され、原位置土と撹拌・混合して、地盤改良杭又は地盤改良体を造成する機械式撹拌深層混合処理工法に用いられる地盤改良装置において、
(a)前記地盤改良装置は、前記ロッドに連結された回転装置と油圧オーガーとからなり、さらに前記回転装置は、鉛直回転体と水平回転体との組み合わせでなること、
(b)前記鉛直回転体は、水平軸部と、前記水平軸部の両端部に接続されて鉛直面で回転自在な左右の垂直部とを備え、前記左右の垂直部が鉛直面で左右90度ずつ回転して最大180度の範囲で回転する構成で、前記鉛直回転体の上端が前記水平回転体に接続され、前記鉛直回転体の前記左右の垂直部に前記油圧オーガーが接続され、及び前記水平回転体は、垂直軸部と、前記垂直軸部に軸支されて水平面で360度の範囲で回転自在な水平部とを備え、前記水平回転体の水平部が前記鉛直回転体に接続され、前記水平回転体の前記垂直軸部が前記ロッドの下端に取り付け自在であること、
(c)複数本でなる前記ロッドの連結は、一方の前記ロッドの接続端部がピン穴付き雄型ロッド端部、他方の前記ロッドの接続端部がピン穴付き雌型ロッド端部をなし、対向する前記雄型ロッド端部と前記雌型ロッド端部とが連結された状態で、合致するピン穴に挿し込まれた連結ピンにより固定されてなること、及び最下端の前記ロッドと前記回転装置との連結は、前記回転装置をなす水平回転体の上部のピン穴付き突出部と、対向する前記最下端の前記雌型ロッド端部とが連結された状態で、合致するピン穴に挿し込まれた連結ピンにより固定されてなること、
(d)前記ロッドと、前記鉛直回転体及び水平回転体との内部にそれぞれ設けられたケーブル穴に、角度測定用ケーブルが前記突出部を介して挿通されて、前記角度測定用ケーブルが傾斜角度測定器に接続され、前記傾斜角度測定器により前記油圧オーガーの傾斜角度が測定自在であること、
(e)前記ロッドの下端に連結された前記回転装置の前記鉛直回転体の前記左右の垂直部によって前記油圧オーガーが前記最大180度の回転する範囲で前記鉛直面の所望方向に傾斜されると共に、前記回転装置の前記水平回転体の前記水平部により前記油圧オーガーが前記水平面の所望方向に回転され、所望形状の地盤改良杭又は地盤改良体が所望範囲に造成される構成であること、
を特徴とする、地盤改良装置におけるロッドの連結構造。
【請求項5】
前記ロッドの内部には、油圧ホースとスラリーホースがそれぞれ内蔵され、対向する前記油圧ホース同士と前記スラリーホース同士が前記雄型ロッド端部と前記雌型ロッド端部との連結部で接続されてなること、
を特徴とする、請求項1又は2又は3又は4に記載した地盤改良装置におけるロッドの連結構造。
【請求項6】
前記ロッドと、前記鉛直回転体又は水平回転体の内部には、油圧ホースとスラリーホースがそれぞれ内蔵され、対向する前記油圧ホース同士と前記スラリーホース同士が前記突出部と前記雌型ロッド端部との連結部で接続されてなること、
を特徴とする、請求項2又は4に記載した地盤改良装置におけるロッドの連結構造。
【請求項7】
前記回転装置の上面部又は前記ロッドに、前記ロッドの鉛直姿勢を保持するための水平方向に長い鉛直姿勢保持部材が設けられていること、
を特徴とする、請求項1又は2又は3又は4に記載した地盤改良装置におけるロッドの連結構造。
【請求項8】
前記鉛直姿勢保持部材は、前記回転装置の上面部又は前記ロッドに脱着可能に設けられていること、
を特徴とする、請求項7に記載した地盤改良装置におけるロッドの連結構造。
【請求項9】
前記鉛直姿勢保持部材は、水平方向に長い2本の平行な棒状部材と、前記2本の平行な棒状部材の両端部同士をそれぞれ連結して枠状に一体化する鉛直方向に長い2枚の連結プレート部材とを備え、平面方向から見て前記2本の平行な棒状部材が前記ロッドを挟むようにして設けられていること、
を特徴とする、請求項7に記載した地盤改良装置におけるロッドの連結構造。
【請求項10】
前記棒状部材は、ウエブを縦向きにしたH形鋼であること、
を特徴とする、請求項9に記載した地盤改良装置におけるロッドの連結構造。
(【請求項11】以降は省略されています)
発明の詳細な説明
【技術分野】
【0001】
本発明は、セメント系の安定材と原位置土とを処理機によって撹拌・混合して地盤改良杭又は地盤改良体を造成し、軟弱な原地盤を固化して改良する機械式撹拌深層混合処理工法を用いて、原地盤の所望の範囲に地盤改良を行う地盤改良装置におけるロッド等の連結構造の技術分野に属する。
続きを表示(約 5,300 文字)
【背景技術】
【0002】
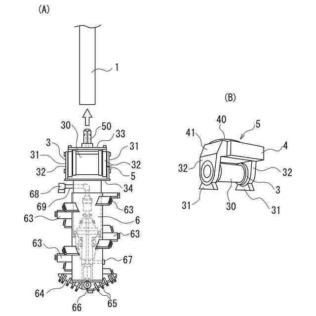
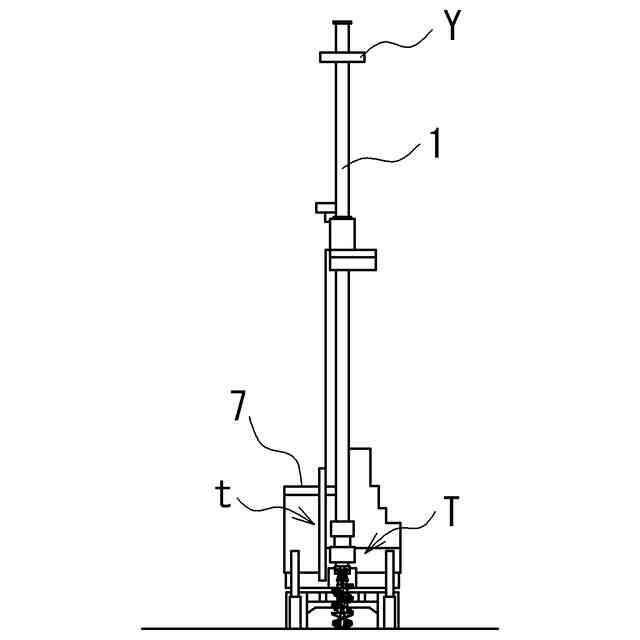
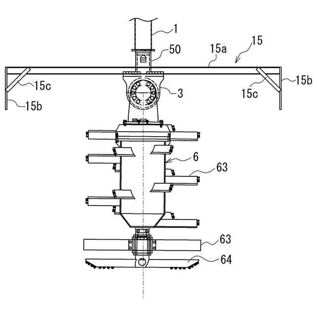
機械式撹拌深層混合処理工法を用いた地盤改良工法に好適な地盤改良装置として、本出願人は、図7と図8に示したような下記特許文献1に記載の特許を取得している。
同特許文献1には、軟弱地盤2を掘削しながら軟弱地盤中に貫入され、貫入吐出又は引上吐出により安定材が吐出され、原位置土と撹拌・混合して、地盤改良杭又は地盤改良体を造成する機械式撹拌深層混合処理工法に用いられる地盤改良装置であって、前記地盤改良装置は、回転装置5と油圧オーガー6とからなり、前記回転装置5は、水平軸部30と、前記水平軸部30の両端部に接続されて鉛直面で回転自在な左右の垂直部31とを備えた鉛直回転体3であり、前記左右の垂直部31が鉛直面で左右90度ずつ回転して最大180度の範囲で回転する構成で、前記鉛直回転体3の前記左右の垂直部31に前記油圧オーガー6が接続され、前記鉛直回転体3の上端がロッド1又はバックホー7のアーム70の下端に取り付け自在であり、前記鉛直回転体3の前記左右の垂直部31により前記油圧オーガー6が前記最大180度の回転する範囲で鉛直面の所望方向Sに傾斜され、所望形状の地盤改良杭又は地盤改良体が所望範囲に造成される構成であることを特徴とする地盤改良装置が記載されている(同文献1の請求項4参照)。
【0003】
一方、地盤改良装置のロッドの連結手段は、種々公知である。
例えば、下記特許文献2には、雌側筒部を有する雌側ロッドと、雄側軸部を有する雄側ロッドとを備え、前記雌側筒部に前記雄側軸部が挿通されて、前記雌側ロッドと前記雄側ロッドとがトルク伝達可能に連結していて、前記雌側筒部の内壁面に、ロッド軸方向と直交する方向に延びる略U字状の雌側溝が形成され、前記雄側軸部の周面に、ロッド軸方向と直交する方向に延びる略U字状の雄側溝が形成され、前記雌側溝と前記雄側溝とに連結ピンが挿通されて、前記雌側ロッドと前記雄側ロッドとがロッド軸方向の相対移動を規制されている建設機械用ロッドにおいて、前記連結ピンの軸中心の高さ位置で前記ロッド軸方向と直交する断面を見たときに、前記雄側溝は、中央部から両端部に向かって前記連結ピンから遠くなる円弧状に形成されていること、を特徴とする建設機械用ロッドが記載されている(同文献2の請求項1参照)。
【先行技術文献】
【特許文献】
【0004】
特許第6397147号
特許第6302306号
【発明の概要】
【発明が解決しようとする課題】
【0005】
しかし、上述したような機械式撹拌深層混合処理工法を用いた地盤改良工法に使用される地盤改良装置は、回転装置により油圧オーガーを所望の方向に傾斜・回転させて、自由な断面形状をした地盤改良体杭(地盤改良体)を効率よく施工できるが、そのようにして使用される地盤改装置のロッド同士の連結や、ロッドと回転装置の連結に連結ピンを用いて連結する技術はない。
したがって、本発明の目的は、機械式撹拌深層混合処理工法を用いた地盤改良工法に使用される地盤改良装置のロッド同士の連結や、ロッドと回転装置の連結に連結ピンを用いて連結でき、連結時にロッド内の角度測定用ケーブルも接続して、油圧オーガーの傾斜角度を適正に保持しつつ地盤改良を行える地盤改良装置におけるロッドの連結構造を提供することにある。
【課題を解決するための手段】
【0006】
上記課題を解決するための手段として、請求項1に記載した発明は、ロッドを介して軟弱地盤を掘削しながら軟弱地盤中に貫入され、貫入吐出又は引上吐出により安定材が吐出され、原位置土と撹拌・混合して、地盤改良杭又は地盤改良体を造成する機械式撹拌深層混合処理工法に用いられる地盤改良装置において、
(a)前記地盤改良装置は、前記ロッドに連結された回転装置と油圧オーガーとからなり、前記回転装置は、水平軸部と、前記水平軸部の両端部に接続されて鉛直面で回転自在な左右の垂直部とを備えた鉛直回転体であり、前記左右の垂直部が鉛直面で左右90度ずつ回転して最大180度の範囲で回転する構成で、前記鉛直回転体の前記左右の垂直部に前記油圧オーガーが接続され、前記鉛直回転体の上端が前記ロッドの下端に取り付け自在であること、
(b)複数本でなる前記ロッドの連結は、一方の前記ロッドの接続端部がピン穴付き雄型ロッド端部、他方の前記ロッドの接続端部がピン穴付き雌型ロッド端部をなし、対向する前記雄型ロッド端部と前記雌型ロッド端部とが連結された状態で、合致するピン穴に挿し込まれた連結ピンにより固定されてなること、
(c)前記ロッドの内部に設けられたケーブル穴に角度測定用ケーブルが挿通されて、前記角度測定用ケーブルが傾斜角度測定器に接続され、前記傾斜角度測定器により前記油圧オーガーの傾斜角度が測定自在であること、
(d)前記ロッドの下端に連結された前記鉛直回転体の前記左右の垂直部によって前記油圧オーガーが前記最大180度の回転する範囲で前記鉛直面の所望方向に傾斜され、所望形状の地盤改良杭又は地盤改良体が所望範囲に造成される構成であること、
を特徴とする、地盤改良装置におけるロッドの連結構造である。
【0007】
請求項2に記載した発明は、ロッドを介して軟弱地盤を掘削しながら軟弱地盤中に貫入され、貫入吐出又は引上吐出により安定材が吐出され、原位置土と撹拌・混合して、地盤改良杭又は地盤改良体を造成する機械式撹拌深層混合処理工法に用いられる地盤改良装置において、
(a)前記地盤改良装置は、前記ロッドに連結された回転装置と油圧オーガーとからなり、前記回転装置は、水平軸部と、前記水平軸部の両端部に接続されて鉛直面で回転自在な左右の垂直部とを備えた鉛直回転体であり、前記左右の垂直部が鉛直面で左右90度ずつ回転して最大180度の範囲で回転する構成で、前記鉛直回転体の前記左右の垂直部に前記油圧オーガーが接続され、前記鉛直回転体の上端が前記ロッドの下端に取り付け自在であること、
(b)複数本でなる前記ロッドの連結は、一方の前記ロッドの接続端部がピン穴付き雄型ロッド端部、他方の前記ロッドの接続端部がピン穴付き雌型ロッド端部をなし、対向する前記雄型ロッド端部と前記雌型ロッド端部とが連結された状態で、合致するピン穴に挿し込まれた連結ピンにより固定されてなること、及び最下端の前記ロッドと前記回転装置との連結は、前記回転装置をなす鉛直回転体の上部のピン穴付き突出部と、対向する前記最下端の前記雌型ロッド端部とが連結された状態で、合致するピン穴に挿し込まれた連結ピンにより固定されてなること、
(c)前記ロッドと前記鉛直回転体との内部にそれぞれ設けられたケーブル穴に、角度測定用ケーブルが前記突出部を介して挿通されて、前記角度測定用ケーブルが傾斜角度測定器に接続され、前記傾斜角度測定器により前記油圧オーガーの傾斜角度が測定自在であること、
(d)前記ロッドの下端に連結された前記鉛直回転体の前記左右の垂直部によって前記油圧オーガーが前記最大180度の回転する範囲で前記鉛直面の所望方向に傾斜され、所望形状の地盤改良杭又は地盤改良体が所望範囲に造成される構成であること、
を特徴とする、地盤改良装置におけるロッドの連結構造である。
【0008】
請求項3に記載した発明は、ロッドを介して軟弱地盤中を掘削しながら軟弱地盤中に貫入され、貫入吐出又は引上吐出により安定材が吐出され、原位置土と撹拌・混合して、地盤改良杭又は地盤改良体を造成する機械式撹拌深層混合処理工法に用いられる地盤改良装置において、
(a)前記地盤改良装置は、前記ロッドに連結された回転装置と油圧オーガーとからなり、さらに前記回転装置は、鉛直回転体と水平回転体との組み合わせでなること、
(b)前記鉛直回転体は、水平軸部と、前記水平軸部の両端部に接続されて鉛直面で回転自在な左右の垂直部とを備え、前記左右の垂直部が鉛直面で左右90度ずつ回転して最大180度の範囲で回転する構成で、前記鉛直回転体の上端が前記水平回転体に接続され、前記鉛直回転体の前記左右の垂直部に前記油圧オーガーが接続され、及び前記水平回転体は、垂直軸部と、前記垂直軸部に軸支されて水平面で360度の範囲で回転自在な水平部とを備え、前記水平回転体の水平部が前記鉛直回転体に接続され、前記水平回転体の前記垂直軸部が前記ロッドの下端に取り付け自在であること、
(c)複数本でなる前記ロッドの連結は、一方の前記ロッドの接続端部がピン穴付き雄型ロッド端部、他方の前記ロッドの接続端部がピン穴付き雌型ロッド端部をなし、対向する前記雄型ロッド端部と前記雌型ロッド端部とが連結された状態で、合致するピン穴に挿し込まれた連結ピンにより固定されてなること、
(d)前記ロッドの内部に設けられたケーブル穴に角度測定用ケーブルが挿通されて、前記角度測定用ケーブルが傾斜角度測定器に接続され、前記傾斜角度測定器により前記油圧オーガーの傾斜角度が測定自在であること、
(e)前記ロッドの下端に連結された前記回転装置の前記鉛直回転体の前記左右の垂直部によって前記油圧オーガーが前記最大180度の回転する範囲で前記鉛直面の所望方向に傾斜されると共に、前記回転装置の前記水平回転体の前記水平部により前記油圧オーガーが前記水平面の所望方向に回転され、所望形状の地盤改良杭又は地盤改良体が所望範囲に造成される構成であること、
を特徴とする、地盤改良装置におけるロッドの連結構造である。
【0009】
請求項4に記載した発明は、ロッドを介して軟弱地盤中を掘削しながら軟弱地盤中に貫入され、貫入吐出又は引上吐出により安定材が吐出され、原位置土と撹拌・混合して、地盤改良杭又は地盤改良体を造成する機械式撹拌深層混合処理工法に用いられる地盤改良装置において、
(a)前記地盤改良装置は、前記ロッドに連結された回転装置と油圧オーガーとからなり、さらに前記回転装置は、鉛直回転体と水平回転体との組み合わせでなること、
(b)前記鉛直回転体は、水平軸部と、前記水平軸部の両端部に接続されて鉛直面で回転自在な左右の垂直部とを備え、前記左右の垂直部が鉛直面で左右90度ずつ回転して最大180度の範囲で回転する構成で、前記鉛直回転体の上端が前記水平回転体に接続され、前記鉛直回転体の前記左右の垂直部に前記油圧オーガーが接続され、及び前記水平回転体は、垂直軸部と、前記垂直軸部に軸支されて水平面で360度の範囲で回転自在な水平部とを備え、前記水平回転体の水平部が前記鉛直回転体に接続され、前記水平回転体の前記垂直軸部が前記ロッドの下端に取り付け自在であること、
(c)複数本でなる前記ロッドの連結は、一方の前記ロッドの接続端部がピン穴付き雄型ロッド端部、他方の前記ロッドの接続端部がピン穴付き雌型ロッド端部をなし、対向する前記雄型ロッド端部と前記雌型ロッド端部とが連結された状態で、合致するピン穴に挿し込まれた連結ピンにより固定されてなること、及び最下端の前記ロッドと前記回転装置との連結は、前記回転装置をなす水平回転体の上部のピン穴付き突出部と、対向する前記最下端の前記雌型ロッド端部とが連結された状態で、合致するピン穴に挿し込まれた連結ピンにより固定されてなること、
(d)前記ロッドと、前記鉛直回転体及び水平回転体との内部にそれぞれ設けられたケーブル穴に、角度測定用ケーブルが前記突出部を介して挿通されて、前記角度測定用ケーブルが傾斜角度測定器に接続され、前記傾斜角度測定器により前記油圧オーガーの傾斜角度が測定自在であること、
(e)前記ロッドの下端に連結された前記回転装置の前記鉛直回転体の前記左右の垂直部によって前記油圧オーガーが前記最大180度の回転する範囲で前記鉛直面の所望方向に傾斜されると共に、前記回転装置の前記水平回転体の前記水平部により前記油圧オーガーが前記水平面の所望方向に回転され、所望形状の地盤改良杭又は地盤改良体が所望範囲に造成される構成であること、
を特徴とする、地盤改良装置におけるロッドの連結構造である。
【0010】
請求項5に記載した発明は、前記ロッドの内部には、油圧ホースとスラリーホースがそれぞれ内蔵され、対向する前記油圧ホース同士と前記スラリーホース同士が前記雄型ロッド端部と前記雌型ロッド端部との連結部で接続されてなること、
を特徴とする、請求項1又は2又は3又は4に記載した地盤改良装置におけるロッドの連結構造である。
(【0011】以降は省略されています)
この特許をJ-PlatPat(特許庁公式サイト)で参照する
関連特許
株式会社竹中土木
地盤改良装置におけるロッドの連結構造
1か月前
FKS株式会社
擁壁
20日前
鈴健興業株式会社
敷板部材
16日前
株式会社クボタ
作業車
18日前
株式会社クボタ
作業車
18日前
千代田工営株式会社
回転貫入杭
3日前
個人
擁壁用ブロックおよび擁壁
17日前
株式会社ネクステリア
平板基礎
16日前
株式会社大林組
建物の構造
17日前
株式会社熊谷組
地盤改良方法
12日前
株式会社熊谷組
山留壁用親杭
9日前
株式会社熊谷組
密度計測方法
18日前
日立建機株式会社
建設機械
10日前
日立建機株式会社
建設機械
16日前
日立建機株式会社
建設機械
10日前
日立建機株式会社
作業機械
9日前
日立建機株式会社
作業機械
9日前
日立建機株式会社
作業機械
9日前
日本車輌製造株式会社
建設機械
5日前
日立建機株式会社
作業車両
5日前
ヤンマーホールディングス株式会社
作業機械
2日前
日立建機株式会社
作業機械
10日前
日立建機株式会社
作業機械
3日前
日立建機株式会社
作業機械
20日前
ヤマト発動機株式会社
浮遊型消波装置
20日前
ヤンマーホールディングス株式会社
作業機械
2日前
鹿島建設株式会社
接続方法および接続構造
5日前
ライト工業株式会社
鉄筋保持用治具
10日前
カナデビア株式会社
サクション基礎
10日前
株式会社竹内製作所
作業用車両
9日前
株式会社竹内製作所
作業用車両
9日前
株式会社竹内製作所
作業用車両
9日前
日立建機株式会社
電動式作業機械
16日前
JFEスチール株式会社
鋼管矢板の継手構造
10日前
株式会社竹内製作所
作業用車両
9日前
JFEスチール株式会社
鋼管矢板の継手構造
20日前
続きを見る
他の特許を見る