TOP
|
特許
|
意匠
|
商標
特許ウォッチ
Twitter
他の特許を見る
公開番号
2025137138
公報種別
公開特許公報(A)
公開日
2025-09-19
出願番号
2024036167
出願日
2024-03-08
発明の名称
情報処理装置、コンテンツ提供方法、車両およびプログラム
出願人
トヨタ紡織株式会社
代理人
弁理士法人 HARAKENZO WORLD PATENT & TRADEMARK
主分類
G01C
21/36 20060101AFI20250911BHJP(測定;試験)
要約
【課題】コンテンツを狙ったタイミングに提供する。
【解決手段】情報処理装置(10)は、コンテンツの提供を開始する提供開始点を経路に設定する設定部(102)と、経路に沿った移動体の移動中に、提供開始点に到達する時刻に影響を与える要因について要因情報を取得する要因情報取得部(103)と、経路に沿った移動体の移動中に、要因情報に基づいて、提供開始点を調整する調整部(104)と、を備えている。
【選択図】図2
特許請求の範囲
【請求項1】
経路に沿って移動する移動体の搭乗者へコンテンツを提供する情報処理装置であって、
前記コンテンツの提供を開始する提供開始点を前記経路に設定する設定部と、
前記移動体が前記経路に沿って移動しているときに、前記提供開始点に到達する時刻に影響を与える要因について要因情報を取得する要因情報取得部と、
前記移動体が前記経路に沿って移動しているときに、前記要因情報に基づいて、前記提供開始点を調整する調整部と、を備えている、情報処理装置。
続きを表示(約 910 文字)
【請求項2】
前記調整部は、
前記要因情報取得部によって前記提供開始点に到達する時刻が早まる要因について情報を取得したときは、前記提供開始点を前記経路の出発地側の位置に調整し、
前記要因情報取得部によって前記提供開始点に到達する時刻が遅れる要因について情報を取得したときは、前記提供開始点を前記経路の目的地側の位置に調整する、請求項1に記載の情報処理装置。
【請求項3】
前記移動体の現在位置を示す位置情報を取得する位置情報取得部を更に備え、
前記要因情報取得部は、前記移動体が前記経路に沿って移動した場合に前記現在位置に到達する予定であった時刻と、実際に前記現在位置に到達した時刻との差に基づいて、前記要因情報を取得する、請求項1に記載の情報処理装置。
【請求項4】
前記コンテンツには、所定の案内対象に関する情報を前記搭乗者へ提供するコンテンツが含まれ、
前記案内対象には、前記経路から所定距離の範囲内に位置するもの、前記経路から視認し得るものが含まれる、請求項1に記載の情報処理装置。
【請求項5】
出力装置を制御して、経路に沿って移動する移動体の搭乗者にコンテンツを提供するコンテンツ提供方法であって、
前記コンテンツの提供を開始する提供開始点を前記経路に設定するステップと、
前記移動体が前記経路に沿って移動しているときに、前記提供開始点に到達する時刻に影響を与える要因について要因情報を取得するステップと、
前記移動体が前記経路に沿って移動しているときに、前記要因情報に基づいて、前記提供開始点を調整するステップと、を有しているコンテンツ提供方法。
【請求項6】
請求項1から4のいずれか1項に記載の情報処理装置と、
コンテンツを出力する出力装置と、を備える車両。
【請求項7】
請求項1に記載の情報処理装置としてコンピュータを機能させるためのプログラムであって、前記設定部、前記要因情報取得部および前記調整部としてコンピュータを機能させるためのプログラム。
発明の詳細な説明
【技術分野】
【0001】
本開示は、情報処理装置、コンテンツ提供方法、車両およびプログラムに関する。
続きを表示(約 1,300 文字)
【背景技術】
【0002】
特許文献1には、移動体に搭乗する搭乗者に対して、目的地までの移動に伴って、目的地に応じたコンテンツを提供するコンテンツ配信システムが開示されている。
【先行技術文献】
【特許文献】
【0003】
国際公開第2023/058501号
【発明の概要】
【発明が解決しようとする課題】
【0004】
移動体の移動中にコンテンツを提供する場合、コンテンツの提供を行うタイミングが重要となる場合がある。例えば、コンテンツに関連する場所を移動体が通過する場合に、その場所を通り過ぎてから搭乗者にコンテンツを提供したとしても、コンテンツが狙った効果が得られないことがある。
【0005】
また、移動体が所定位置に到着する時刻は、様々な要因により予定から前後することがある。例えば、自動車、バス、タクシー等の車両の場合には、道路状況や天気等の要因により予定から前後することが考えられる。バス、鉄道列車、航空機、船舶等の場合には、人身事故の発生等の要因により予定から前後することが考えられる。
【0006】
本開示の一態様は、移動体の搭乗者に対して、コンテンツを狙ったタイミングに提供することを目的とする。
【課題を解決するための手段】
【0007】
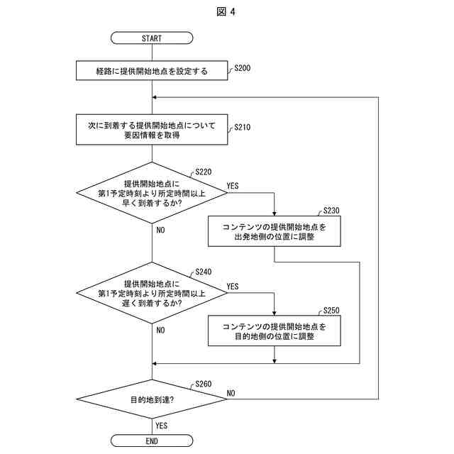
上記の課題を解決するために、本開示の一態様に係る情報処理装置は、経路に沿って移動する移動体の搭乗者へコンテンツを提供する情報処理装置であって、前記コンテンツの提供を開始する提供開始点を前記経路に設定する設定部と、前記移動体が前記経路に沿って移動しているときに、前記提供開始点に到達する時刻に影響を与える要因について要因情報を取得する要因情報取得部と、前記移動体が前記経路に沿って移動しているときに、前記要因情報に基づいて、前記提供開始点を調整する調整部と、を備えている。
【0008】
また、上記の課題を解決するために、本開示の別の一態様に係るコンテンツ提供方法は、出力装置を制御して、経路に沿って移動する移動体の搭乗者にコンテンツを提供するコンテンツ提供方法であって、前記コンテンツの提供を開始する提供開始点を前記経路に設定するステップと、前記移動体が前記経路に沿って移動しているときに、前記提供開始点に到達する時刻に影響を与える要因について要因情報を取得するステップと、前記移動体が前記経路に沿って移動しているときに、前記要因情報に基づいて、前記提供開始点を調整するステップと、を有している。
【0009】
本開示の各態様に係る情報処理装置は、コンピュータによって実現してもよく、この場合には、コンピュータを前記情報処理装置が備える各部(ソフトウェア要素)として動作させることにより前記情報処理装置をコンピュータにて実現させる情報処理装置のプログラム、およびそれを記録したコンピュータ読み取り可能な記録媒体も、本開示の範疇に入る。
【発明の効果】
【0010】
本開示の一態様によれば、移動体の搭乗者にコンテンツを狙ったタイミングに提供できる。
【図面の簡単な説明】
(【0011】以降は省略されています)
この特許をJ-PlatPat(特許庁公式サイト)で参照する
関連特許
トヨタ紡織株式会社
乗物用シート
7日前
トヨタ紡織株式会社
乗物用シート
7日前
トヨタ紡織株式会社
カップホルダー
16日前
トヨタ紡織株式会社
乗物用照明装置
6日前
トヨタ紡織株式会社
乗物用シート装置
20日前
トヨタ紡織株式会社
燃料電池スタック
6日前
トヨタ紡織株式会社
燃料電池の単セル
7日前
トヨタ紡織株式会社
シート制御システム
9日前
トヨタ紡織株式会社
繊維状複合体の製造方法
14日前
トヨタ紡織株式会社
繊維状複合体の製造方法
14日前
トヨタ紡織株式会社
熱可塑性樹脂組成物の製造方法
14日前
豊田合成株式会社
車両用投影装置
1日前
豊田合成株式会社
車両用照明装置
1日前
トヨタ紡織株式会社
熱可塑性樹脂組成物及びその製造方法
14日前
トヨタ紡織株式会社
繊維状物質及びその製造方法並びに粉体
14日前
トヨタ紡織株式会社
繊維状複合体及びその製造方法並びに粉体
14日前
トヨタ紡織株式会社
燃料電池用セパレータ及び燃料電池の単セル
20日前
トヨタ紡織株式会社
熱可塑性樹脂組成物及びその製造方法並びに成形体
14日前
トヨタ紡織株式会社
パーティション装置、パーティションシステム、及び制御装置
6日前
トヨタ紡織株式会社
燃料電池用セパレータの製造装置及び燃料電池用セパレータの製造方法
7日前
個人
メジャー文具
16日前
個人
高精度同時多点測定装置
8日前
個人
アクセサリー型テスター
9日前
日本精機株式会社
位置検出装置
22日前
ユニパルス株式会社
ロードセル
15日前
日本精機株式会社
位置検出装置
22日前
日本精機株式会社
位置検出装置
22日前
アズビル株式会社
電磁流量計
2日前
アズビル株式会社
圧力センサ
21日前
ダイキン工業株式会社
監視装置
13日前
株式会社ヨコオ
ソケット
14日前
株式会社ヨコオ
ソケット
15日前
株式会社チノー
放射光測温装置
15日前
トヨタ自動車株式会社
監視装置
14日前
エイブリック株式会社
磁気センサ回路
21日前
TDK株式会社
ガスセンサ
20日前
続きを見る
他の特許を見る