TOP
|
特許
|
意匠
|
商標
特許ウォッチ
Twitter
他の特許を見る
10個以上の画像は省略されています。
公開番号
2025132435
公報種別
公開特許公報(A)
公開日
2025-09-10
出願番号
2024029986
出願日
2024-02-29
発明の名称
温調ケース
出願人
株式会社神戸製鋼所
代理人
個人
,
個人
,
個人
主分類
B65D
81/38 20060101AFI20250903BHJP(運搬;包装;貯蔵;薄板状または線条材料の取扱い)
要約
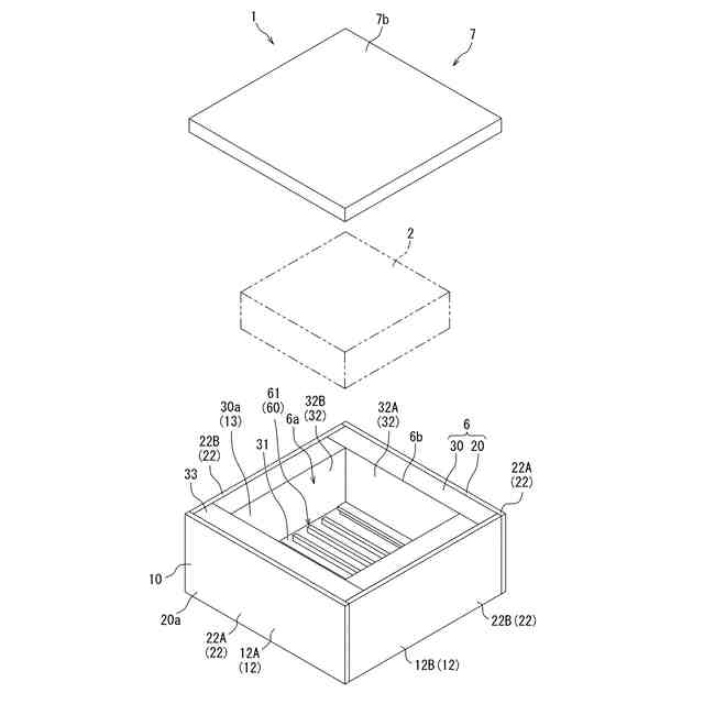
【課題】対象物を温度管理しやすい温調ケースを提供する。
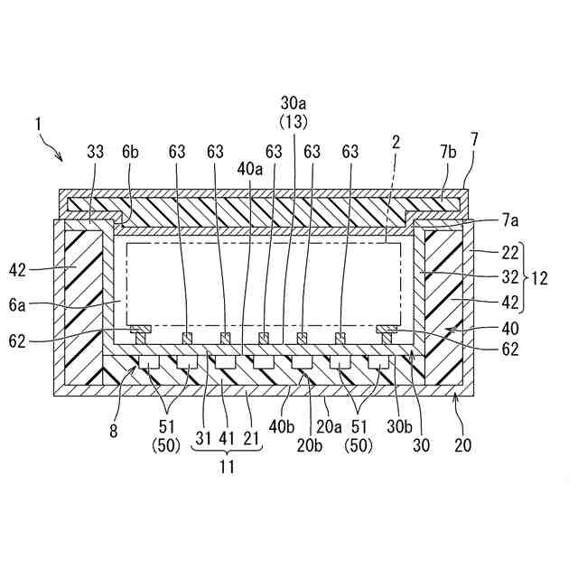
【解決手段】温調ケース1は、荷物2が収容される内部空間6aを形成する箱体6と、箱体6を構成する壁10の内部に配置され、熱媒体3が設けられる熱媒体配置部8と、壁10の内面13から内部空間6aへと突出する突起60と、を備える。
【選択図】図4
特許請求の範囲
【請求項1】
荷物が収容される内部空間を形成する箱体と、
前記箱体を構成する壁の内部に配置され、熱媒体が設けられる熱媒体配置部と、
前記壁の内面から前記内部空間へと突出する突起と、
を備える、温調ケース。
続きを表示(約 1,000 文字)
【請求項2】
前記突起は、前記箱体の前記壁の一部としての底壁の前記内面から突出する底突起を含む、
請求項1に記載の温調ケース。
【請求項3】
前記底突起は、前記荷物が載置される支持突起と、前記支持突起よりも突出量が小さい低突起と、を含む、
請求項2に記載の温調ケース。
【請求項4】
前記支持突起は、前記内面から突出する突出部と、前記突出部の先端に設けられて前記荷物を支持する支持面を有する支持部と、を含み、前記支持面が前記突出部よりも幅広である、
請求項3に記載の温調ケース。
【請求項5】
前記壁が、金属材と断熱材との積層体であり、
前記内面及び前記突起が、前記金属材で構成され、前記断熱材が、当該金属材の前記内面とは反対側の裏面に積層される、
請求項1から4のいずれかに記載の温調ケース。
【請求項6】
前記熱媒体配置部は、前記熱媒体を通流させる熱媒体流路を有し、
前記箱体に、前記熱媒体を前記熱媒体流路に流入させる流入口と、前記熱媒体を前記熱媒体流路から流出させる流出口とが設けられている、
請求項1から4のいずれかに記載の温調ケース。
【請求項7】
前記壁が、金属材と断熱材との積層体であり、
前記内面及び前記突起が、前記金属材で構成され、前記断熱材が、当該金属材の前記内面とは反対側の裏面に積層され、
前記断熱材は、内表面に形成された溝を有し、
前記熱媒体流路は、前記金属材の前記裏面が前記断熱材の前記内表面に重ねられ、前記溝が前記裏面で閉塞されることによって、構成される、
請求項6に記載の温調ケース。
【請求項8】
前記断熱材が、複数の独立気泡と高分子材料で構成される発泡体とで構成されている、又は、前記熱媒体流路の前記内表面に被膜が設けられている、
請求項7に記載の温調ケース。
【請求項9】
前記金属材の前記裏面に、前記熱媒体流路内へと突出する裏面突起が設けられている、
請求項7に記載の温調ケース。
【請求項10】
前記熱媒体配置部は、前記熱媒体が封入された熱媒体封入体を有する、
請求項1から4のいずれかに記載の温調ケース。
発明の詳細な説明
【技術分野】
【0001】
本発明は、温調ケースに関する。
続きを表示(約 1,000 文字)
【背景技術】
【0002】
特許文献1は、インナーフィンを内蔵したトレイ部材をカバー部材で閉塞することによって構成された熱交換器を開示している。カバー部材の表面には、閉塞された空間に対して熱媒体を流出入させる入口及び出口が設けられている。電子部品等の温調対象物が、トレイ部材の表面に接触している。熱媒体は、閉塞された空間内を通流し、温調対象物との間で固体伝熱により熱交換を行う。
【先行技術文献】
【特許文献】
【0003】
特開2021-103060号公報
【発明の概要】
【発明が解決しようとする課題】
【0004】
温調対象物がトレイ部材に載置されても、温調対象物及びトレイ部材を完全に面接触させることは困難である。そのため、固体伝熱による熱交換が効果的に行われず、温調対象物を所望温度に管理できないおそれがある。
【0005】
本発明は、対象物を温度管理しやすい温調ケースを提供することを課題とする。
【課題を解決するための手段】
【0006】
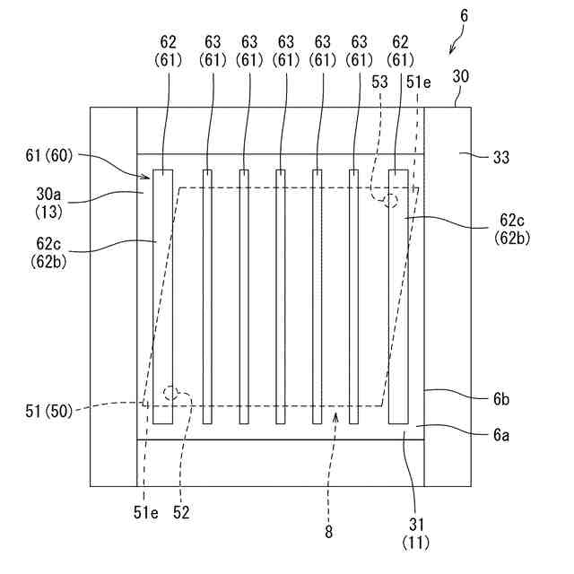
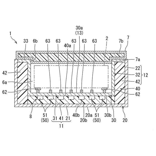
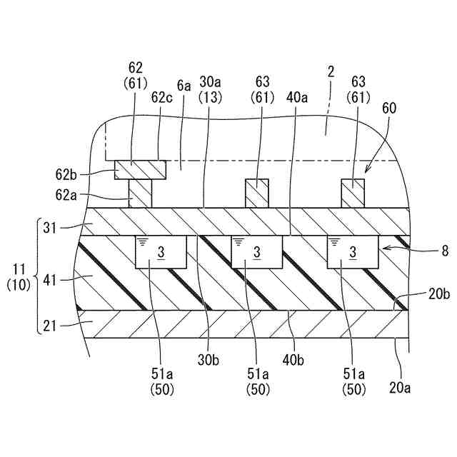
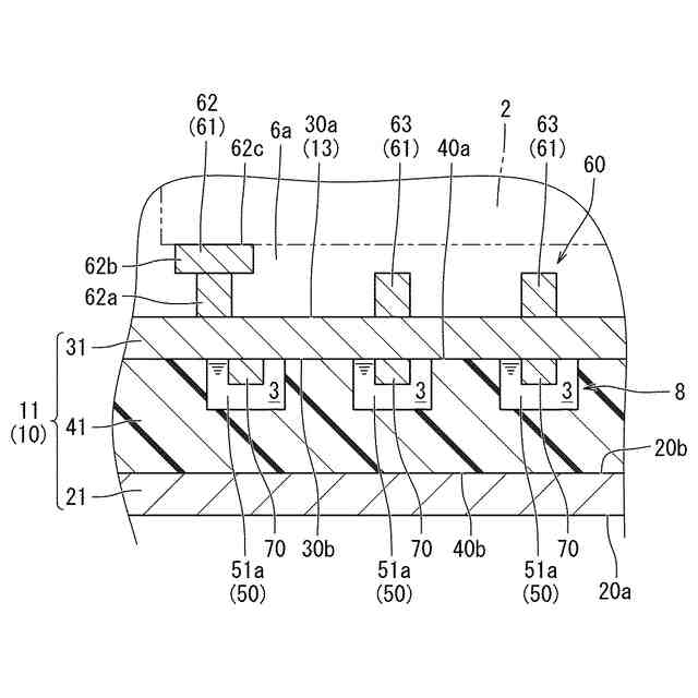
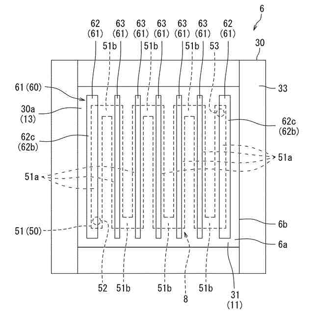
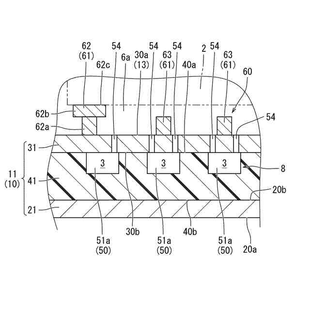
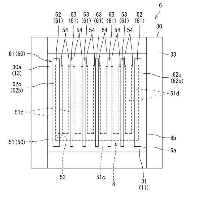
本発明の一態様は、荷物が収容される内部空間を形成する箱体と、前記箱体を構成する壁の内部に配置され、熱媒体が設けられる熱媒体配置部と、前記壁の内面から前記内部空間へと突出する突起と、を備える、温調ケースを提供する。
【0007】
上記構成によれば、突起が熱媒体によって加熱又は冷却される。内部空間が、突起によって加熱又は冷却され、温度調整される。荷物は、温度調整された内部空間に収容されていることにより、所望温度に管理される。突起が設けられていない場合と対比して、内部空間への露出面積が増大し、突起による内部空間の温度調整が効果的に行われる。荷物が突起を有さない箱体の壁の内面に載置される場合と対比して、荷物を温度管理しやすい。
【0008】
前記突起は、前記箱体の前記壁の一部としての底壁の前記内面から突出する底突起を含んでもよい。
【0009】
上記構成によれば、底突起上に載置された荷物を温度管理しやすい。
【0010】
前記底突起は、前記荷物が載置される支持突起と、前記支持突起よりも突出量が小さい低突起と、を含んでもよい。
(【0011】以降は省略されています)
この特許をJ-PlatPat(特許庁公式サイト)で参照する
関連特許
個人
箱
11か月前
個人
ゴミ箱
11か月前
個人
収容箱
2か月前
個人
コンベア
4か月前
個人
段ボール箱
6か月前
個人
ゴミ収集器
6か月前
個人
容器
8か月前
個人
段ボール箱
6か月前
個人
宅配システム
6か月前
個人
土嚢運搬器具
7か月前
個人
パウチ補助具
11か月前
個人
楽ちんハンド
4か月前
個人
バンド
1か月前
個人
角筒状構造体
4か月前
個人
お薬の締結装置
5か月前
個人
包装容器
13日前
個人
閉塞装置
9か月前
個人
コード類収納具
7か月前
個人
廃棄物収容容器
1か月前
個人
蓋閉止構造
3か月前
個人
把手付米袋
3か月前
個人
蓋閉止構造
3か月前
個人
貯蔵サイロ
6か月前
個人
積み重ね用補助具
1か月前
株式会社和気
包装用箱
8か月前
株式会社コロナ
梱包材
4か月前
個人
ゴミ処理機
8か月前
三甲株式会社
容器
5か月前
積水樹脂株式会社
接着剤
11か月前
個人
介護用コップ
1か月前
株式会社新弘
容器
11か月前
株式会社新弘
容器
11か月前
三甲株式会社
容器
5か月前
三甲株式会社
蓋体
8か月前
個人
コード折り畳み器具
3か月前
個人
輸送積荷用動吸振器
5か月前
続きを見る
他の特許を見る