TOP
|
特許
|
意匠
|
商標
特許ウォッチ
Twitter
他の特許を見る
公開番号
2025130184
公報種別
公開特許公報(A)
公開日
2025-09-08
出願番号
2024027188
出願日
2024-02-27
発明の名称
耐熱収容容器
出願人
有明セラコ株式会社
代理人
個人
,
個人
,
個人
,
個人
,
個人
主分類
B22D
41/02 20060101AFI20250901BHJP(鋳造;粉末冶金)
要約
【課題】金属溶湯保持炉などに代表される耐熱収容容器に要求される強度を備えていて、耐火ブロック、耐火レンガなどを用いて耐熱収容容器を構成することに比較して軽量で、構築が容易であり、断熱性能に優れている耐熱収容容器を提供する。
【解決手段】底壁と、前記底壁の周縁辺から立ち上がって形成されている周壁とによって構成されている耐熱収容容器であって、少なくとも前記周壁が、長手方向に伸びる中空の耐熱性筒状体が前記長手方向に直交する横手方向に複数本連設されて構築されている耐熱収容容器。
【選択図】図2
特許請求の範囲
【請求項1】
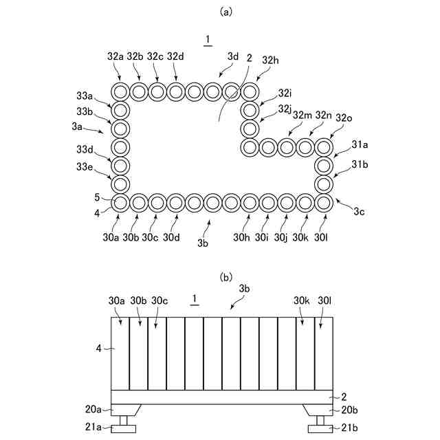
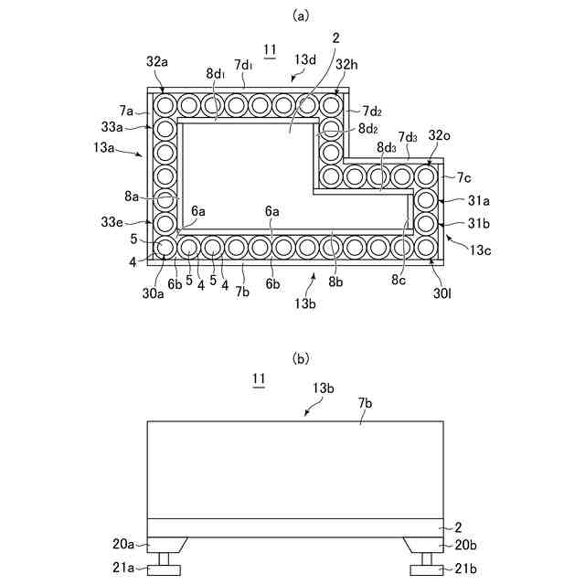
底壁と、前記底壁の周縁辺から立ち上がって形成されている周壁とによって構成されている耐熱収容容器であって、
少なくとも前記周壁が、長手方向に伸びる中空の耐熱性筒状体が前記長手方向に直交する横手方向に複数本連設されて構築されている
耐熱収容容器。
続きを表示(約 430 文字)
【請求項2】
前記横手方向に複数本連設されている前記耐熱性筒状体の前記耐熱収容容器における内側に相当する側及び、前記耐熱収容容器における外側に相当する側に、それぞれ、耐熱性板状体が配備されて前記周壁の内周壁面及び外周壁面が形成されている請求項1記載の耐熱収容容器。
【請求項3】
前記横手方向に複数本連設されている前耐熱性記筒状体の外側であって、前記耐熱性板状体からなる前記内周壁面及び前記外周壁面との間に存在している空隙部である周壁内空隙部に断熱材が充填されている請求項2記載の耐熱収容容器。
【請求項4】
前記耐熱性筒状体の内側の空隙部である筒体内空隙部に断熱材が充填されている請求項1乃至3のいずれか一項に記載の耐熱収容容器。
【請求項5】
前記底壁が、長手方向に伸びる中空の耐熱性筒状体が前記長手方向に直交する横手方向に複数本連設されて構築されている請求項1乃至3のいずれか一項に記載の耐熱収容容器。
発明の詳細な説明
【技術分野】
【0001】
この発明は耐熱収容容器に関し、特に、アルミニウム溶湯、等、高温の金属溶湯を収容することに適した耐熱収容容器、例えば、金属溶湯保持炉などの金属溶湯収容容器に関する。
続きを表示(約 1,300 文字)
【背景技術】
【0002】
耐熱収容容器、例えば、金属溶湯保持炉などに代表される、アルミニウム溶湯、等、高温の金属溶湯を収容する金属溶湯収容容器に関しては、底壁と、底壁の周縁辺から立ち上がって形成されている周壁とによって構成されている形態が一般的で、従来から種々の提案が行われている。
【0003】
例えば、特許文献1、2には、収容している高温金属溶湯に接触する耐火層として、定型耐火物のプレキャストブロック(焼成・不焼成)、耐火断熱れんが、耐火れんが(焼成・不焼成・電鋳)等や、不定形耐火物の耐火モルタル(熱硬性・気硬性・水硬性)、キャスタブル、軽量キャスタブル、等が使用されている金属溶湯収容容器の場合、高温金属溶湯が耐火層のクラックに浸透して溶湯漏れなどが発生することから、このような事態の発生を防止、抑制できると共に、耐熱収容容器である炉体からの放熱を抑制できるとする金属溶湯収容容器が提案されている。
【先行技術文献】
【特許文献】
【0004】
特許第6918377号公報
特許第7084061号公報
【発明の概要】
【発明が解決しようとする課題】
【0005】
この発明は、金属溶湯保持炉などに代表される耐熱収容容器に要求される強度を備えていて、耐火ブロック、耐火レンガなどを用いて耐熱収容容器を構成することに比較して軽量で、構築が容易であり、断熱性能に優れている耐熱収容容器を提案することを目的にしている。
【課題を解決するための手段】
【0006】
本願発明は、金属溶湯保持炉などに代表される耐熱収容容器を構成する底壁及び/又は底壁の周縁辺から立ち上がって形成されている周壁を、長手方向に伸びる中空の耐熱性筒状体を前記長手方向に直交する横手方向に複数本連設して構築することで上述した課題を解決したものである。
【0007】
このような本願発明を例示すると次のようになる。
[1]
底壁と、前記底壁の周縁辺から立ち上がって形成されている周壁とによって構成されている耐熱収容容器であって、
少なくとも前記周壁が、長手方向に伸びる中空の耐熱性筒状体が前記長手方向に直交する横手方向に複数本連設されて構築されている
耐熱収容容器。
【0008】
[2]
前記横手方向に複数本連設されている前記耐熱性筒状体の前記耐熱収容容器における内側に相当する側及び、前記耐熱収容容器における外側に相当する側に、それぞれ、耐熱性板状体が配備されて前記周壁の内周壁面及び外周壁面が形成されている[1]の耐熱収容容器。
【0009】
[3]
前記横手方向に複数本連設されている前耐熱性記筒状体の外側であって、前記耐熱性板状体からなる前記内周壁面及び前記外周壁面との間に存在している空隙部である周壁内空隙部に断熱材が充填されている[2]の耐熱収容容器。
【0010】
[4]
前記耐熱性筒状体の内側の空隙部である筒体内空隙部に断熱材が充填されている[1]、[2]又は[3]の耐熱収容容器。
(【0011】以降は省略されています)
この特許をJ-PlatPat(特許庁公式サイト)で参照する
関連特許
個人
鋼の連続鋳造用鋳型
2か月前
個人
ピストンの低圧鋳造金型
6か月前
トヨタ自動車株式会社
押湯入子
3か月前
友鉄工業株式会社
錫プレート成形方法
2か月前
芝浦機械株式会社
成形システム
1か月前
大阪硅曹株式会社
無機中子用水性塗型剤
2か月前
日本製鉄株式会社
モールドパウダー
1か月前
株式会社プロテリアル
合金粉末の製造方法
7か月前
山石金属株式会社
ガスアトマイズ装置
3か月前
トヨタ自動車株式会社
鋳バリ抑制方法
7か月前
トヨタ自動車株式会社
中子の製造方法
4か月前
山石金属株式会社
ガスアトマイズ装置
3か月前
トヨタ自動車株式会社
中子の製造方法
3か月前
株式会社キャステム
鋳造品の製造方法
7か月前
芝浦機械株式会社
射出装置及び成形機
3か月前
山石金属株式会社
アルミニウム含有粒子
1か月前
旭有機材株式会社
鋳型の製造方法
4か月前
トヨタ自動車株式会社
ケースの製造方法
5か月前
トヨタ自動車株式会社
突き折り棒
6か月前
山石金属株式会社
アルミニウム含有粒子
1か月前
株式会社日本触媒
窒素被覆金属粒子の製造方法
4か月前
トヨタ自動車株式会社
鋳物砂の再生方法
4か月前
JFEミネラル株式会社
Ni合金粉
1か月前
愛知製鋼株式会社
継ぎ目なし管の製造方法
2か月前
芝浦機械株式会社
局部変圧装置及び成形機
1か月前
トヨタ自動車株式会社
金型冷却構造
6か月前
大同特殊鋼株式会社
鋼塊の製造方法
8か月前
芝浦機械株式会社
溶解保持炉
17日前
株式会社プロテリアル
金属付加製造物の製造方法
3か月前
株式会社プロテリアル
金属付加製造物の製造方法
8か月前
株式会社神戸製鋼所
炭素-銅含有粉末
6か月前
株式会社豊田中央研究所
積層造形装置
5か月前
住友金属鉱山株式会社
金粉の製造方法
2か月前
日本製鉄株式会社
Al脱酸鋼の連続鋳造方法
7か月前
福田金属箔粉工業株式会社
Cu系粉末
5か月前
ポーライト株式会社
焼結部品の製造方法
4か月前
続きを見る
他の特許を見る