TOP
|
特許
|
意匠
|
商標
特許ウォッチ
Twitter
他の特許を見る
10個以上の画像は省略されています。
公開番号
2025127575
公報種別
公開特許公報(A)
公開日
2025-09-02
出願番号
2024024344
出願日
2024-02-21
発明の名称
船舶
出願人
ヤンマーホールディングス株式会社
代理人
個人
,
個人
,
個人
主分類
B63H
5/16 20060101AFI20250826BHJP(船舶またはその他の水上浮揚構造物;関連艤装品)
要約
【課題】推進力にロスが生じにくい船舶を提供する。
【解決手段】船舶10は、船底5を有する船体1と、推進装置2と、を備える。推進装置2は、船底5における軸孔51を貫通するプロペラ軸22を中心に回転可能なプロペラ23を有し、プロペラ23の回転により船体1を航走させるための推進力を発生する。船体1は、船底5におけるプロペラ23の周囲に、前後方向D2に長さを有する溝部52を有する。軸孔51は、溝部52内に配置されている。
【選択図】図5
特許請求の範囲
【請求項1】
船底を有する船体と、
前記船底における軸孔を貫通するプロペラ軸を中心に回転可能なプロペラを有し、前記プロペラの回転により前記船体を航走させるための推進力を発生する推進装置と、を備え、
前記船体は、前記船底における前記プロペラの周囲に、前後方向に長さを有する溝部を有し、
前記軸孔は、前記溝部内に配置されている、
船舶。
続きを表示(約 690 文字)
【請求項2】
前記溝部は、前記船底における前後方向の中途部から船尾にわたって形成されており、
前記軸孔は、前記溝部の前端より後方に位置する、
請求項1に記載の船舶。
【請求項3】
前記溝部の前後方向にかけての幅寸法の変化量は、当該幅寸法の最大値の10%以下である、
請求項1又は2に記載の船舶。
【請求項4】
前記溝部の底面は、側面視において上方に凸となる湾曲形状を有する、
請求項1又は2に記載の船舶。
【請求項5】
前記軸孔は、前記溝部の底面において周辺に対して窪んだ窪み部内に配置されている、
請求項1又は2に記載の船舶。
【請求項6】
前記溝部は、前記溝部の前後方向の少なくとも一部に、船尾側ほど深くなる漸増部を有する、
請求項1又は2に記載の船舶。
【請求項7】
前記溝部の底面の前後方向に直交する断面は、上方に凸となる円弧に沿った形状を有し、
前記円弧の曲率半径は、少なくとも前記漸増部において船首側ほど大きくなる、
請求項6に記載の船舶。
【請求項8】
前記船体の幅方向に並ぶ一対の前記プロペラを備え、
前記船体は、前記一対のプロペラに対応して一対の前記溝部を有する、
請求項1又は2に記載の船舶。
【請求項9】
前記一対の軸孔の各々は、平面視において、前記一対の溝部の各々の幅方向の中心に対して、前記船体の幅方向の外側に位置する、
請求項8に記載の船舶。
発明の詳細な説明
【技術分野】
【0001】
本開示は、プロペラの回転により船体を航走させるための推進力を発生する船舶に関する。
続きを表示(約 1,500 文字)
【背景技術】
【0002】
関連技術として、船体と、推進力を得るための推進装置(推進構造)としてプロペラ(プロペラ構造)等と、を備える船舶が知られている(例えば、特許文献1参照)。関連技術に係る船舶は、平行に延びる二本のプロペラ軸が用いられ、それぞれのプロペラ軸にプロペラが取り付けられる二軸方式の推進装置を採用した二軸船である。
【0003】
関連技術に係る船舶においては、プロペラは、船底から後方に向かって延びるボッシングに回転可能に支持されプロペラ軸(プロペラ軸部材)の回転に伴い回転する。プロペラは、後方に向かってプロペラ水流を発生させることで、船体を前方に推進させる推進力を生成する。
【先行技術文献】
【特許文献】
【0004】
特開2011-93503号公報
【発明の概要】
【発明が解決しようとする課題】
【0005】
上記関連技術のように、船底にプロペラが配置された構成においては、船体の航走時にプロペラ軸の周辺に水流の乱れが生じることがあり、当該水流の乱れによって推進力にロスが生じる可能性がある。
【0006】
本開示の目的は、推進力にロスが生じにくい船舶を提供することにある。
【課題を解決するための手段】
【0007】
本開示の一態様に係る船舶は、船底を有する船体と、推進装置と、を備える。前記推進装置は、前記船底における軸孔を貫通するプロペラ軸を中心に回転可能なプロペラを有し、前記プロペラの回転により前記船体を航走させるための推進力を発生する。前記船体は、前記船底における前記プロペラの周囲に、前後方向に長さを有する溝部を有する。前記軸孔は、前記溝部内に配置されている。
【発明の効果】
【0008】
本発明によれば、推進力にロスが生じにくい船舶を提供することができる。
【図面の簡単な説明】
【0009】
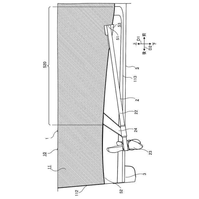
図1は、実施形態1に係る船舶の甲板側からみた概略斜視図である。
図2は、実施形態1に係る船舶の概略右側面図である。
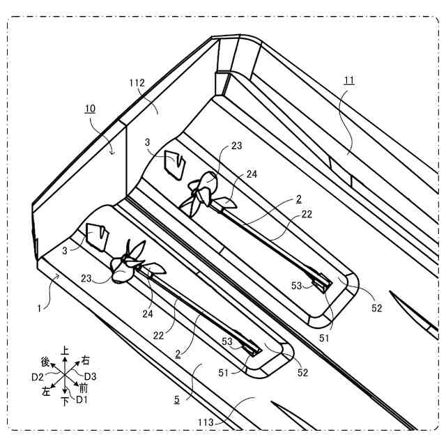
図3は、実施形態1に係る船舶の船底側からみた概略斜視図である。
図4は、実施形態1に係る船舶の概略下面図である。
図5は、実施形態1に係る船舶の要部を示し、図3の領域Z1の拡大図である。
図6は、実施形態1に係る船舶の要部を示し、図4の領域Z1の拡大図である。
図7は、実施形態1に係る船舶の要部を示し、船体の下部を後方から見た概略背面図である。
図8は、図6のY1-Y1線断面図である。
図9は、図6のX1-X1線断面図、X2-X2線断面図及びX3-X3線断面図である。
図10は、実施形態1に係る船舶及び比較例に係る船舶の要部を示し、の船底側からみた概略斜視図である。
図11は、実施形態1に係る船舶及び比較例に係る船舶の要部を示す概略下面図である。
図12は、実施形態1に係る船舶及び比較例に係る船舶の水流のシミュレーション結果を示す説明図である。
図13は、実施形態1に係る船舶及び比較例に係る船舶の水圧のシミュレーション結果を示す説明図である。
【発明を実施するための形態】
【0010】
以下、添付図面を参照しながら、本開示の実施形態について説明する。以下の実施形態は、本開示を具体化した一例であって、本開示の技術的範囲を限定する趣旨ではない。
(【0011】以降は省略されています)
この特許をJ-PlatPat(特許庁公式サイト)で参照する
関連特許
個人
水上遊具
4か月前
個人
川下り用船
10か月前
個人
洋上研究所
2か月前
個人
発電船
11か月前
個人
津波防災ウエア
1か月前
個人
補助機構
7か月前
個人
船用横揺防止具
8か月前
個人
コンパクトシティ船
7か月前
個人
渦流動力推進構造
6か月前
個人
セールのバテンガイド装置
3か月前
炎重工株式会社
浮標
9か月前
個人
水質浄化・集熱昇温システム
3か月前
炎重工株式会社
浮標
9か月前
住友重機械工業株式会社
船舶
3か月前
炎重工株式会社
移動体
12か月前
株式会社フルトン
水中捕捉装置
7か月前
個人
船舶
9か月前
株式会社ラフティ
サーフボード
3か月前
個人
スクリュープロペラ
6か月前
個人
回転式による流体流出防止タンカー
7か月前
オーケー工業株式会社
係留フック
7か月前
スズキ株式会社
船外機
6か月前
スズキ株式会社
船外機
5か月前
スズキ株式会社
船外機
5か月前
スズキ株式会社
船外機
6か月前
朝日電装株式会社
船外機用照明装置
2か月前
常石造船株式会社
メタノール燃料船
10か月前
ヤマハ発動機株式会社
船外機
9か月前
株式会社アカデミー出版
船舶
2か月前
ナブテスコ株式会社
主機制御システム
14日前
株式会社神戸タフ興産
船舶の甲板構造
10か月前
藤倉コンポジット株式会社
架台
9か月前
株式会社ユピテル
システム及びプログラム等
6か月前
炎重工株式会社
自律航行浮遊体
9か月前
個人
発光手段を備えたライフジャケット
5か月前
株式会社大林組
浮体式構造物の設置方法
7か月前
続きを見る
他の特許を見る