TOP
|
特許
|
意匠
|
商標
特許ウォッチ
Twitter
他の特許を見る
公開番号
2025126897
公報種別
公開特許公報(A)
公開日
2025-08-29
出願番号
2025018522
出願日
2025-02-06
発明の名称
検査装置、検査方法、および画像データの生成方法
出願人
学校法人東京電機大学
代理人
個人
,
個人
,
個人
主分類
G01M
99/00 20110101AFI20250822BHJP(測定;試験)
要約
【課題】信頼性を向上させた検査システムを提供する。
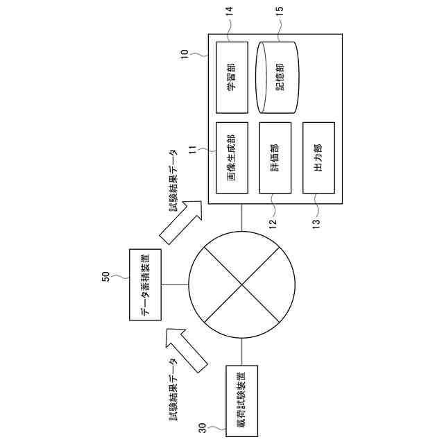
【解決手段】検査装置10は、載荷試験で得られた荷重-変位関係にターゲットを併記した画像データを生成する画像生成部11と、画像データを学習済みの深層学習モデルに入力して検査対象を評価する評価部12とを備える。深層学習モデルは、画像データが入力された際に評価を出力するように、教師用の試験結果と基準とを変換した教師用画像データと評価を示すラベルを含む教師データを用いて深層学習される。
【選択図】図1
特許請求の範囲
【請求項1】
検査対象に対する試験で得られた試験結果に前記検査対象が前記試験において満たすべき基準を併記した画像データを生成する画像生成部と、
前記画像データを学習済みの深層学習モデルに入力して前記検査対象を評価する評価部と、
を備え、
前記深層学習モデルは、教師用の試験結果に基準を併記した教師用画像データを用いて深層学習された
検査装置。
続きを表示(約 1,200 文字)
【請求項2】
請求項1に記載の検査装置であって、
前記深層学習モデルは、正常データを教師用の試験結果として用い、前記教師用画像データを分割した各パッチから得られた特徴ベクトルを用いて構築した特徴空間を含み、
前記評価部は、検査対象の前記画像データを分割した各パッチから得られた特徴ベクトルと前記特徴空間内の特徴ベクトルとの距離に応じて前記検査対象を評価する
検査装置。
【請求項3】
請求項1または2に記載の検査装置であって、
前記試験結果は原因と結果の関係を示すデータである
検査装置。
【請求項4】
請求項3に記載の検査装置であって、
前記画像生成部は、載荷試験で得られた荷重と変位の関係と当該載荷試験で得られる荷重と変位の関係の基準とを併記した画像データを生成し、
前記評価部は、前記検査対象の合否を評価する
検査装置。
【請求項5】
請求項1または2に記載の検査装置であって、
前記試験結果を変換した画像データに異常度の高い箇所を示すヒートマップを重ねて表示する出力部を備える
検査装置。
【請求項6】
検査装置による検査方法であって、
検査対象に対する試験で得られた試験結果に前記検査対象が前記試験において満たすべき基準を併記した画像データを生成し、
前記画像データを学習済みの深層学習モデルに入力して前記検査対象を評価し、
前記深層学習モデルは、教師用の試験結果に基準を併記した教師用画像データを用いて深層学習された
検査方法。
【請求項7】
請求項6に記載の検査方法であって、
前記深層学習モデルは、正常データを教師用の試験結果として用い、前記教師用画像データを分割した各パッチから得られた特徴ベクトルを用いて構築した特徴空間を含み、
検査対象の前記画像データを分割した各パッチから得られた特徴ベクトルと前記特徴空間内の特徴ベクトルとの距離に応じて前記検査対象を評価する
検査方法。
【請求項8】
請求項6または7に記載の検査方法であって、
前記試験結果は原因と結果の関係を示すデータである
検査方法。
【請求項9】
請求項8に記載の検査方法であって、
載荷試験で得られた荷重と変位の関係と当該載荷試験で得られる荷重と変位の関係の基準とを画像データに変換し、
前記検査対象の合否を評価する
検査方法。
【請求項10】
請求項6または7に記載の検査方法であって、
前記試験結果を変換した画像データに異常度の高い箇所を示すヒートマップを重ねて表示する
検査方法。
(【請求項11】以降は省略されています)
発明の詳細な説明
【技術分野】
【0001】
本開示は、検査装置、検査方法、および画像データの生成方法に関する。
続きを表示(約 1,200 文字)
【背景技術】
【0002】
地震への耐性を向上させるため、建築物への免震装置や制振装置の導入が増加している。一方で、近年、免震・制振装置の検査データの改ざんが問題となった。
【0003】
免震・制振装置の検査では免震・制振装置に載荷試験を実施する。試験で得られた荷重-変位関係から、剛性、エネルギー等を算出し、算出した値と基準値との比率により合否を判定する。この検査において、製造者と利害関係のない第三者による評価は、客観性を保つ上で重要である。
【0004】
特許文献1には、構造物の免震や制振に利用される検体の識別情報を基に検査条件を読み込んで検査を行う技術が開示されている。
【0005】
特許文献2には、装置の寸法を検査する方法として、免震装置と基準スケール(寸法)を含む画像を撮影し、免震装置の検査を効率的に行う技術が開示されている。
【先行技術文献】
【特許文献】
【0006】
特開2021-018449号公報
特開2020-003295号公報
【非特許文献】
【0007】
Karsten R., Latha, P., Joaquin, Z., Bernhard, S., Thomas B., and Peter, G., “Towards Total Recall in Industrial Anomaly Detection”, Proceedings of the IEEE/CVF Conference on Computer Vision and Pattern Recognition,pp. 14318-14328,2022.
深沢剛司,岡村茂樹,杣木孝裕,宮川高行,山本智彦,渡壁智祥,諸菱亮太,藤田聡,“高振動数・低振幅に着目したオイルダンパーの解析モデルに関する検討”,日本建築学会構造系論文集,83巻754号(2018年),pp.1777-1787.
深沢剛司,岡村茂樹,杣木孝裕,宮川高行,山本智彦,渡壁智祥,諸菱亮太,藤田聡,“微分方程式を用いた履歴モデルの提案”,日本建築学会構造系論文集,84巻763号(2019年),pp.1231-1241.
【発明の概要】
【発明が解決しようとする課題】
【0008】
従来の検査では、合否判定に人の判断が介在するため、人的ミスや不正リスクの可能性があるという問題があった。
【0009】
また、検査員には専門的な能力が求められるため、検査精度は検査員の経験や技量に左右されるという問題があった。さらに、検査員の人的リソース不足も懸念される。
【0010】
本開示は、上記に鑑みてなされたものであり、信頼性を向上させた検査システムの提供を目的とする。
【課題を解決するための手段】
(【0011】以降は省略されています)
この特許をJ-PlatPat(特許庁公式サイト)で参照する
関連特許
学校法人東京電機大学
靴のソール内に配設された緩衝装置
今日
日清紡マイクロデバイス株式会社
生体信号測定システム
2か月前
株式会社熊谷組
建物構造体の変位抑制装置
2か月前
学校法人東京電機大学
イオン液体化色素の製造方法、それを用いたガスセンサ材料の製造方法、ガスセンサ、化合物の検知方法及び測定対象ガスに含まれている化学種の塩基性度若しくは酸性度を調べる方法
2か月前
株式会社イシダ
表示装置
今日
個人
視触覚センサ
5日前
日本精機株式会社
検出装置
1か月前
個人
採尿及び採便具
1か月前
個人
計量機能付き容器
1か月前
株式会社カクマル
境界杭
20日前
愛知電機株式会社
外観検査装置
1日前
日本精機株式会社
液面検出装置
今日
株式会社ミツトヨ
測定器
1か月前
愛知電機株式会社
外観検査方法
1日前
日本精機株式会社
発光表示装置
13日前
甲神電機株式会社
電流検出装置
1か月前
ユニパルス株式会社
トルク変換器
5日前
ユニパルス株式会社
トルク変換器
5日前
ユニパルス株式会社
トルク変換器
5日前
株式会社トプコン
測量装置
12日前
アズビル株式会社
電磁流量計
1か月前
大成建設株式会社
風洞実験装置
1か月前
大和製衡株式会社
組合せ計量装置
1か月前
愛知時計電機株式会社
ガスメータ
1か月前
愛知電機株式会社
軸部材の外観検査装置
1か月前
双庸電子株式会社
誤配線検査装置
1か月前
日本特殊陶業株式会社
ガスセンサ
6日前
個人
システム、装置及び実験方法
1か月前
個人
計量具及び計量機能付き容器
1か月前
大和製衡株式会社
組合せ計量装置
1か月前
日本特殊陶業株式会社
ガスセンサ
12日前
日本信号株式会社
距離画像センサ
1か月前
日本特殊陶業株式会社
ガスセンサ
28日前
個人
非接触による電磁パルスの測定方法
1か月前
日本特殊陶業株式会社
ガスセンサ
5日前
日本特殊陶業株式会社
センサ
14日前
続きを見る
他の特許を見る