TOP
|
特許
|
意匠
|
商標
特許ウォッチ
Twitter
他の特許を見る
10個以上の画像は省略されています。
公開番号
2025179810
公報種別
公開特許公報(A)
公開日
2025-12-10
出願番号
2025081689
出願日
2025-05-15
発明の名称
靴のソール内に配設された緩衝装置
出願人
学校法人東京電機大学
,
学校法人文京学院
代理人
弁理士法人 東和国際特許事務所
主分類
A43B
13/18 20060101AFI20251203BHJP(履物)
要約
【課題】変形性膝関節症を含む人の歩行時における下腿の回旋運動を制御し、疼痛や病態の予防・改善を図る靴のソール内に配設された緩衝装置を提供する。
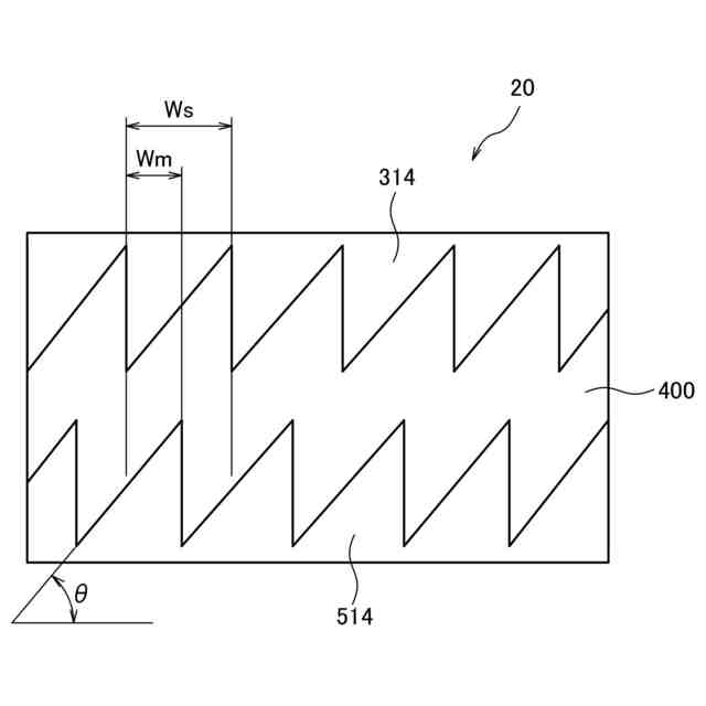
【解決手段】靴のソール内に配設された緩衝装置20とする。ソールは、互いに当接されたアッパー側の弾性体からなる上層300と、地表側の弾性体からなる下層500と、上層と該下層との間の対称位置に、円、楕円もしくは長円形状の上層凹部310と下層凹部510が形成され、上層凹部と下層凹部から形成される間隙450に、上層凹部の下面と、下層凹部の上面に接着され、上層及び下層と比べて弾性率の低い材料を用いた中間層400と、から形成され、上層凹部と該下層凹部の該間隙を挟んで互いに対向する面には、円、楕円もしくは長円の内部の始点から放射方向へ円、楕円もしくは長円の周縁まで延出され、互いに係合するような位置に鋸刃314、514を形成する。
【選択図】図1
特許請求の範囲
【請求項1】
靴のソール内に配設された緩衝装置であって、
該ソールは、
互いに当接されたアッパー側の弾性体からなる上層と、
地表側の弾性体からなる下層と、
該上層と該下層との間の対称位置に、円、楕円もしくは長円形状の上層凹部と下層凹部が形成され、該上層凹部と該下層凹部から形成される間隙に、該上層凹部の下面と、該下層凹部の上面に接着され、該上層及び該下層と比べて弾性率の低い材料を用いた中間層と、から形成され、
該上層凹部と該下層凹部の該間隙を挟んで互いに対向する面には、円、楕円もしくは長円の内部の始点から放射方向へ円、楕円もしくは長円の周縁まで延出され、互いに係合するような位置に鋸刃が形成されていることを特徴とする、緩衝装置。
続きを表示(約 1,200 文字)
【請求項2】
前記下層凹部の前記始点には、円柱状の回転軸が形成されており、
前記鋸刃は該回転軸の外周から放射方向へ円、楕円もしくは長円の周縁まで延出され、
前記上層凹部には、回転軸が挿入される円筒が形成されている、ことを特徴とする請求項1に記載の緩衝装置。
【請求項3】
前記鋸刃は直角台形である、ことを特徴とする請求項1に記載の緩衝装置。
【請求項4】
前記上層と前記下層との当接面には、両者を接着する弾性体の接着層が形成されている、ことを特徴とする請求項1に記載の緩衝装置。
【請求項5】
本発明は、靴のソール内に配設された緩衝装置であって、
該ソールは、
互いに当接されたアッパー側の弾性体からなる上層と、
地表側の弾性体からなる下層と、を備え、
該上層と該下層との間の対称位置に、円形状の上層凹部と下層凹部が形成されており、
該上層凹部にはアッパー側から地表側へ延出する弾性体からなる円柱状の下面を備えた上層凸部と、
該下層凹部には地表側からアッパー側へ延出する弾性体からなる該上層凸部と同径の円柱状の上面を備えた下層凸部と、
該上層凸部の下面と該下層凸部の上面との間に係合層となる間隙を生じさせるとともに、該上層凸部の下面と該下層凸部の上面の周縁側から中心側へ所定の幅を有するリング状の帯部を生じさせるように該上層と該下層との間に介在して、該上層凸部の下面と、該下層凸部の上面に接着され、該上層凸部及び該下層凸部と比べて弾性率の低い材料を用いた円柱状の中間層と、が形成され、
該下層凸部の該帯部には、放射方向に所定の幅を有した周方向に延出する複数の係合溝が、等分に形成されており、
該上層凸部の該帯部には、該係合溝に収容されるように該係合層を経由して、該下層に向かって鉛直方向に突出した突起部が形成されている、ことを特徴とする緩衝装置。
【請求項6】
前記突起部は、放射方向に所定の幅を有して周方向に延出しており、周方向の長さが前記係合溝の周方向の長さよりも小さい、ことを特徴とする請求項5に記載の緩衝装置。
【請求項7】
前記突起部は、前記係合溝の周方向端部の一方に接している、ことを特徴とする請求項5または6に記載の緩衝装置。
【請求項8】
前記突起部の前記係合溝に向かう面は、前記周方向端部の一方が山となっており、前記係合溝の周方向端部の他方へ下降する斜面となっている、ことを特徴とする請求項7に記載の緩衝装置。
【請求項9】
前記係合溝は、前記周方向端部の一方が深くなっており、前記周方向端部の他方へ浅くなる斜面となっている、ことを特徴とする請求項7に記載の緩衝装置。
【請求項10】
請求項1から請求項9に記載した前記緩衝装置を、前部分もしくは踵部分、またはその両方に備えたことを特徴とする靴。
発明の詳細な説明
【技術分野】
【0001】
本発明は靴のソール内に配設された緩衝装置に係り、詳しくは、変形性膝関節症を含む人の歩行時における下腿の回旋運動を制御し、疼痛や病態の予防・改善を図る靴のソール内に配設された緩衝装置に関する。
続きを表示(約 1,600 文字)
【背景技術】
【0002】
膝の動きには屈曲・伸展があり、屈曲・伸展の際に膝の関節には滑り・転がりが生ずる。歩行時の屈曲・伸展によって、膝関節への荷重は体重の3倍に達するとも言われている。また、歩行の際、膝は屈曲・伸展に加えて内旋・外旋の捻じれの負荷が生じる。このように膝関節には大きな負荷がかかり、この負荷によって膝関節内の軟骨が摩耗、減少、変形して痛みが生ずるのが変形性膝関節症である。
【0003】
歩行の際、足部は外旋しながら地面を蹴る傾向をもつが、この傾向が強い場合は捻じれストレスとして膝関節に負荷が生じる。変形性膝関節症患者ではこの捻じれストレスによって生じると考えられる脛骨捻転の異常を伴っている場合が多い。足部の回旋を抑制あるいは促すことで、変形性膝関節症の予防になるとともに効果的な対処法となる。
【0004】
膝の回旋運動を誘導するために、靴底の踵部底面に装着して踵部接地時における衝撃力を確実に緩和しつつ緩やかな回転トルクを発生させることにより、変形性膝関節症の進行を確実に抑制する技術が開示されている(特許文献1参照)。
【0005】
また、膝関節への衝撃的な荷重を緩和して、膝関節の負担を軽減するため、靴底の波形形状の断面を有する上層と下層の間に、波形の前記頂部および/または底部において、空隙を形成して、上方からの荷重が加わると、互いに接触している斜面部において、当該斜面部の組織が斜面に沿ってズレを生ずる剪断変形を呈することで、上方からの荷重により、圧縮変形の他に剪断変形を促し、緩衝性を向上させる技術が開示されている(特許文献2参照)。
【0006】
さらに、衝撃的な荷重の緩和手段として、回転体を備えて、過重負荷時にこの回転体に剪断変形を生じさせて、衝撃のエネルギを吸収させる緩衝機能を備えた技術が開示されている(特許文献3)。
【先行技術文献】
【特許文献】
【0007】
特許第3992724号
特開2007-98181号
特開2003-79402号
【発明の概要】
【発明が解決しようとする課題】
【0008】
しかしながら、特許文献1にて開示された技術は、リブが直接路面と接触しているため、リブの位置と路面との関係によって、靴自体の傾き等が発生し、歩行者が予期しない姿勢になる可能性があった。また、摩耗等でリブの形状が変化して、経年的に所期の要求を満足しなくなる可能性があった。さらに、リブ間に小石・砂等が挿入・蓄積されて、経年的に所期の要求を満足しなくなる可能性があった。加えて、リブの形状を渦巻き状としているが、回転の方向性は緩やかな規制となるため、膝関節症の症状に応じた回転規制ができないおそれがあった。
【0009】
特許文献2にて開示された技術は、篏合する波形状を規定していないことから、回転の方向性は規制されていないため、膝関節症の状態に応じた回転規制ができないおそれがあった。上面と下面とを直接的に波上の山谷で篏合させ、また上層と下層との間は「接触」だけで接着はされていないことから、摩耗粉が蓄積されて初期の要求を満足しなくなる可能性があった。さらに、大きな外的負荷を受けたときに、波間の滑り範囲を超えて変形し、例えば、山を越えて、新たな篏合を生じる場合も想定され、歩行者に多大な負担をかける可能性があった。
【0010】
そして、特許文献3にて開示された技術は、着地の衝撃吸収を目的とした技術であり、柱状の緩衝部の側面に回転を促す溝を形成しており、この溝の変形によって、剪断変形による緩衝性を向上させるものである。篏合する構成を有していないことから、回転の方向性は規制されていないため、膝関節症の状態に応じた回転規制ができないおそれがあった。
(【0011】以降は省略されています)
この特許をJ-PlatPat(特許庁公式サイト)で参照する
関連特許
学校法人東京電機大学
露光装置
3か月前
学校法人東京電機大学
靴のソール内に配設された緩衝装置
今日
学校法人東京電機大学
検査装置、検査方法、および画像データの生成方法
3か月前
日清紡マイクロデバイス株式会社
生体信号測定システム
2か月前
学校法人東京電機大学
液滴生成装置、インクジェット装置、及び薬液デリバリー装置
5か月前
学校法人東京電機大学
非晶質炭素膜上で細胞凝集塊を形成する条件を見出すための担体。
2か月前
株式会社熊谷組
建物構造体の変位抑制装置
2か月前
株式会社中央エンジニアリング
立体造形情報の生成方法、生成装置および生成プログラム
5か月前
学校法人東京電機大学
化合物及びそれからなるガスセンサ材料、並びにそれを用いたヒドラジン又はアルデヒド類の検出方法
4か月前
学校法人東京電機大学
イオン液体化色素の製造方法、それを用いたガスセンサ材料の製造方法、ガスセンサ、化合物の検知方法及び測定対象ガスに含まれている化学種の塩基性度若しくは酸性度を調べる方法
2か月前
個人
シューズ
7か月前
個人
健康下駄
3か月前
個人
シューズ
5か月前
個人
靴
2か月前
個人
靴用装着物
9か月前
個人
履物躓き防止装置
3か月前
個人
靴ひもカバー
4か月前
株式会社ダイマツ
靴
4か月前
個人
シューズネームプレート
20日前
株式会社AR
短靴
1か月前
アキレス株式会社
履物
3か月前
個人
靴形状と靴に装着する補助部品
26日前
株式会社KTC
インソールおよび履物
11か月前
株式会社フォーナインシューズ
靴
10か月前
株式会社KTS
インソール
1か月前
株式会社ナイガイ
履物用の中敷き
4か月前
個人
防滑シート及びその製造方法
8か月前
個人
ヒールフラットソール
12日前
美津濃株式会社
シューズのソール
7か月前
徳武産業株式会社
履物
11か月前
株式会社カインズ
樹脂サンダル
2か月前
糸伍株式会社
靴紐
10か月前
株式会社興和インターナショナル
履物
3か月前
個人
履き物、サポーター、靴下
3か月前
株式会社オークラ商会
履物
20日前
株式会社チャナカンパニー
シューキーパー
8か月前
続きを見る
他の特許を見る