TOP
|
特許
|
意匠
|
商標
特許ウォッチ
Twitter
他の特許を見る
公開番号
2025125647
公報種別
公開特許公報(A)
公開日
2025-08-28
出願番号
2024021703
出願日
2024-02-16
発明の名称
クリーンルームの風量制御システム
出願人
三機工業株式会社
代理人
弁理士法人高田・高橋国際特許事務所
主分類
F24F
7/06 20060101AFI20250821BHJP(加熱;レンジ;換気)
要約
【課題】クリーンルーム内に給気装置から独立して配置されるファンフィルタユニットを利用して省エネルギ化を図ることが可能なクリーンルームの風量制御システムを提供する。
【解決手段】クリーンルームの風量制御システムは、空調された清浄空気を給気ダクトを介してクリーンルームに給気する給気装置と、クリーンルーム内に給気装置から独立して配置され、クリーンルーム内に清浄空気を供給するファンフィルタユニットと、給気装置の運転を制御する制御装置と、を備える。制御装置は、ファンフィルタユニットの非作動時には、クリーンルームの容積に基づいて設定された固定風量で前記給気装置を運転し、ファンフィルタユニットが作動すると、固定風量からファンフィルタユニットの風量を減算した風量で給気装置を運転し、クリーンルーム内の温度および湿度を取得した後、取得した温度および湿度に応じた可変風量で給気装置を運転する。
【選択図】図1
特許請求の範囲
【請求項1】
安全キャビネットが配置されたクリーンルームの風量制御システムであって、
空調された清浄空気を給気ダクトを介して前記クリーンルームに給気する給気装置と、前記クリーンルーム内に前記給気装置から独立して配置され、前記クリーンルーム内に清浄空気を供給するファンフィルタユニットと、前記給気装置の運転を制御する制御装置と、を備え、
前記制御装置は、
前記ファンフィルタユニットの非作動時には、前記クリーンルームの容積Vrに基づいて設定された固定風量Q
AC1
で前記給気装置を運転し、
前記ファンフィルタユニットが作動すると、前記固定風量Q
AC1
から前記ファンフィルタユニットの風量Q
FFU
を減算した風量で前記給気装置を運転し、前記クリーンルーム内の温度および湿度を取得した後、取得した温度および湿度に応じた可変風量Q
AC2
で前記給気装置を運転する、クリーンルームの風量制御システム。
続きを表示(約 700 文字)
【請求項2】
請求項1に記載のクリーンルームの風量制御システムであって、前記クリーンルーム内の温度および湿度を計測するセンサをさらに備えるものにおいて、
前記制御装置は、
前記センサから取得した前記クリーンルーム内の温度および湿度に基づき前記可変風量Q
AC2
を算出し、前記クリーンルームの設定換気回数をNvとし、(Q
AC2
+Q
FFU
)Vr>Nvの条件を満たさない場合には、算出した前記可変風量Q
AC2
を補正する、クリーンルームの風量制御システム。
【請求項3】
請求項1に記載のクリーンルームの風量制御システムであって、前記給気装置が、前記給気ダクトに設けられる定風量装置を備えるものにおいて、
前記制御装置は、
前記ファンフィルタユニットの非作動時には、前記定風量装置を前記固定風量Q
AC1
に応じた開度に制御し、
前記ファンフィルタユニットの作動時には、前記定風量装置を全開に制御する、クリーンルームの風量制御システム。
【請求項4】
請求項1から請求項3のいずれか1項に記載のクリーンルームの風量制御システムであって、前記クリーンルーム内に前記安全キャビネットに対向させて隔壁装置が設置され、前記安全キャビネットと前記隔壁装置とで空間が画成されるものにおいて、
前記隔壁装置は、前記ファンフィルタユニットを備え、前記空間に前記ファンフィルタユニットから清浄空気が供給される、クリーンルームの風量制御システム。
発明の詳細な説明
【技術分野】
【0001】
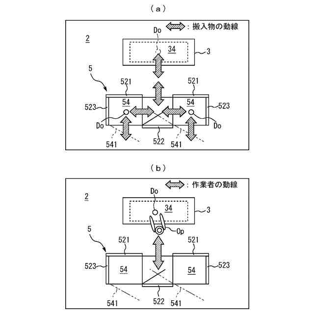
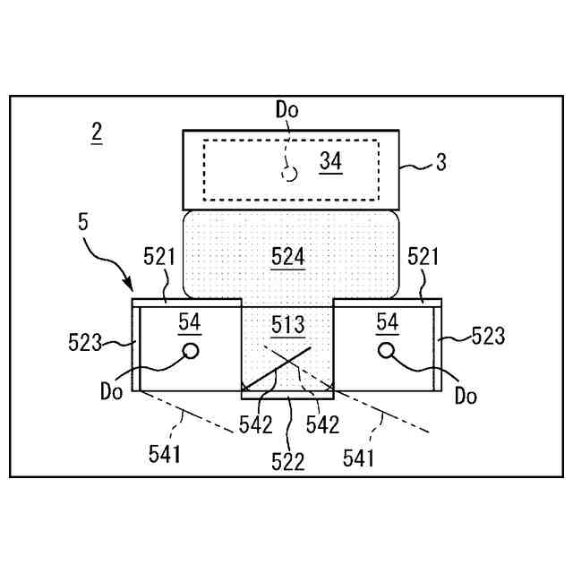
本開示は、安全キャビネットが配置されたクリーンルームの風量制御システムに関する。
続きを表示(約 1,600 文字)
【背景技術】
【0002】
この種の風量制御システムは、例えば、下記特許文献1に開示されている。このものでは、クレームルームでの作業工程を、安全キャビネットで細胞加工が行われる細胞加工工程と、インキュベータにて細胞培養を行う細胞培養工程とに分け、各工程で給気装置の運転を異なる運転モードで制御している。
【先行技術文献】
【特許文献】
【0003】
特開2022-136712号公報
【発明の概要】
【発明が解決しようとする課題】
【0004】
ところで、クリーンルーム内に給気装置から独立したファンフィルタユニットを配置し、このファンフィルタユニットからクリーンルーム内に清浄空気を供給することがある。ファンフィルタユニットの風量を利用して省エネルギ化を図ることについては従来不知である。
【0005】
本開示は、上述のような課題に鑑みてなされたものである。本開示は、クリーンルーム内に給気装置から独立して配置されるファンフィルタユニットを利用して省エネルギ化を図ることが可能なクリーンルームの風量制御システムを提供することを目的とする。
【課題を解決するための手段】
【0006】
上記の課題を解決するため、本開示の第1の観点は、安全キャビネットが配置されるクリーンルームの風量制御システムに関連する。風量制御システムは、空調された清浄空気を給気ダクトを介してクリーンルームに給気する給気装置と、クリーンルーム内に給気装置から独立して配置され、クリーンルーム内に清浄空気を供給するファンフィルタユニットと、給気装置の運転を制御する制御装置と、を備える。制御装置は、ファンフィルタユニットの非作動時には、クリーンルームの容積Vrに基づいて設定された固定風量Q
AC1
で給気装置を運転し、ファンフィルタユニットが作動すると、固定風量Q
AC1
からファンフィルタユニットの風量Q
FFU
を減算した風量で給気装置を運転し、クリーンルーム内の温度および湿度を取得した後、取得した温度および湿度に応じた可変風量Q
AC2
で給気装置を運転する。
【0007】
第2の観点は、第1の観点に加えて、次の特徴を更に有する。風量制御システムは、クリーンルーム内の温度および湿度を計測するセンサをさらに備える。制御装置は、センサから取得したクリーンルーム内の温度および湿度に基づき可変風量Q
AC2
を算出し、クリーンルームの設定換気回数をNvとし、(Q
AC2
+Q
FFU
)/Vr>Nvの条件を満たさない場合には、算出した可変風量Q
AC2
を補正する。
【0008】
第3の観点は、第1の観点に加えて、次の特徴を更に有する。給気装置は給気ダクトに設けられる定風量装置を備える。制御装置は、ファンフィルタユニットの非作動時には、定風量装置を固定風量Q
AC1
に応じた開度に制御し、ファンフィルタユニットの作動時には、定風量装置を全開に制御する。
【0009】
第4の観点は、第1から第3のいずれか1つの観点に加えて、次の特徴を更に有する。クリーンルーム内に安全キャビネットに対向させて隔壁装置が設置され、安全キャビネットと隔壁装置とで空間が画成される。隔壁装置はファンフィルタユニットを備え、上記空間にファンフィルタユニットから清浄空気が供給される。
【発明の効果】
【0010】
本開示によれば、ファンフィルタユニットの作動時に、ファンフィルタユニットの風量を利用することで、給気装置からの給気風量を減らすことができ、省エネルギ化を図ることができる。
【図面の簡単な説明】
(【0011】以降は省略されています)
この特許をJ-PlatPat(特許庁公式サイト)で参照する
関連特許
三機工業株式会社
ろ過装置
1か月前
三機工業株式会社
空調システム
9日前
三機工業株式会社
吊下作業方法
2日前
三機工業株式会社
吊下作業方法
2日前
三機工業株式会社
空調システム
11日前
三機工業株式会社
制気口の検査装置
2か月前
三機工業株式会社
負荷温度制御システム
1か月前
三機工業株式会社
クリーンルームの空調システム
2か月前
三機工業株式会社
散水式の浄化装置及び浄化方法
1か月前
三機工業株式会社
貫通穴の止水構造および止水方法
2か月前
三機工業株式会社
動作装置の位置確認機構および装置
8日前
三機工業株式会社
クリーンルームの風量制御システム
1か月前
三機工業株式会社
ダクトの吊下作業方法およびシステム
1か月前
三機工業株式会社
クレーン運転システム及びごみ処理方法
3日前
三機工業株式会社
クレーン運転システム及びごみ処理方法
3日前
三機アクアテック株式会社
汚泥かき寄せ装置
3日前
三機工業株式会社
施工管理装置、施工管理方法、及び施工管理プログラム
2日前
三機工業株式会社
壁吸い込みフィルタユニットのパンチングフェースおよび戸袋の構造
1日前
三機工業株式会社
ログデータ分析用のサーバ装置、プログラム、データ分析システム、及びデータ分析方法
9日前
株式会社コロナ
空調装置
1日前
株式会社コロナ
空調装置
1か月前
株式会社コロナ
給湯装置
2か月前
株式会社コロナ
空調装置
1か月前
株式会社コロナ
加湿装置
21日前
株式会社コロナ
空調装置
11日前
株式会社コロナ
空気調和機
2か月前
株式会社コロナ
空気調和機
1か月前
株式会社コロナ
風呂給湯機
29日前
個人
住宅換気空調システム
1か月前
株式会社コロナ
直圧式給湯機
1か月前
株式会社コロナ
暖房システム
11日前
株式会社コロナ
貯湯式給湯機
15日前
株式会社コロナ
貯湯式給湯機
7日前
ホーコス株式会社
排気フード
2か月前
株式会社コロナ
輻射式冷房装置
1か月前
ホーコス株式会社
換気扇取付枠
1か月前
続きを見る
他の特許を見る