TOP
|
特許
|
意匠
|
商標
特許ウォッチ
Twitter
他の特許を見る
公開番号
2025124455
公報種別
公開特許公報(A)
公開日
2025-08-26
出願番号
2024020531
出願日
2024-02-14
発明の名称
電気式脱イオン水製造装置
出願人
オルガノ株式会社
代理人
個人
,
個人
,
個人
主分類
C02F
1/469 20230101AFI20250819BHJP(水,廃水,下水または汚泥の処理)
要約
【課題】漏水が生じた場合に起こり得る支障の発生を抑制しながら、流量を増加させる。
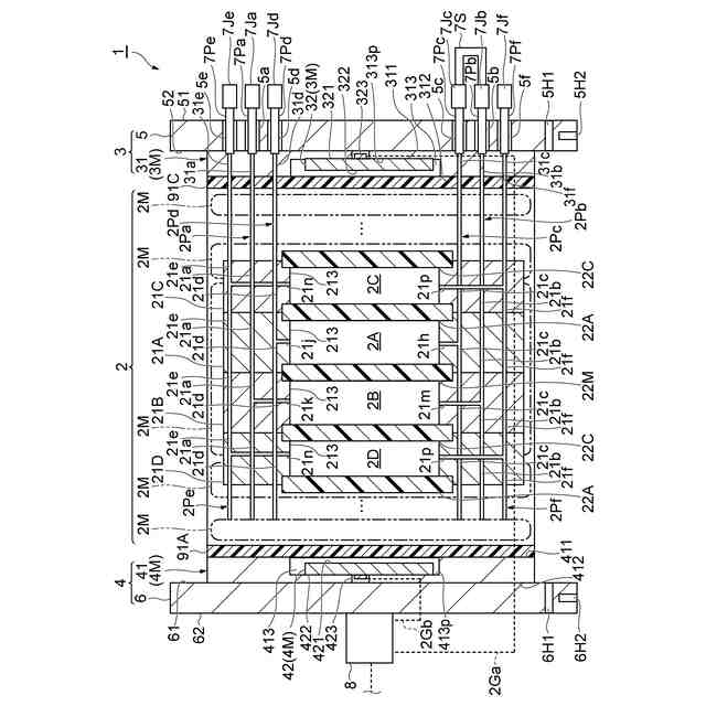
【解決手段】EDI装置1は、カチオン交換膜22C及びアニオン交換膜22Aにより区画された脱塩領域20を有する脱イオンユニット2と、脱イオンユニット2の一方の側に配置された陽極ユニット3と、脱イオンユニット2の他方の側に配置されて、陽極ユニット3と協働して脱イオンユニット2を挟む陰極ユニット4と、陽極ユニット3及び陰極ユニット4のそれぞれに電気的に接続された電圧印加ユニット8と、を備える。配管接続取り合い部材である陽極枠体31には、脱塩処理される前の供給水を脱イオンユニット2に送り込む供給水入口部である配管7Paと、脱イオンユニット2によって脱塩処理された後の処理水を送り出す処理水出口部である配管7Pdと、が設けられている。電気接続取り合い部材である陰極側押え板6には、電圧印加ユニット8が設けられている。
【選択図】図3
特許請求の範囲
【請求項1】
カチオン交換膜及びアニオン交換膜により区画された脱塩領域を有する脱イオンユニットと、
前記脱イオンユニットの一方の側に配置された陽極ユニットと、
前記脱イオンユニットの他方の側に配置されて、前記陽極ユニットと協働して前記脱イオンユニットを挟む陰極ユニットと、
前記陰極ユニット及び前記陽極ユニットのそれぞれに電気的に接続された電圧印加ユニットと、を備え、
前記陽極ユニット及び前記陰極ユニットの一方である配管接続取り合い部材には、脱塩処理される前の供給水を前記脱イオンユニットに送り込む供給水入口部と、前記脱イオンユニットによって脱塩処理された後の処理水を送り出す処理水出口部と、が設けられ、
前記陽極ユニット及び前記陰極ユニットの他方である電気接続取り合い部材には、前記電圧印加ユニットが設けられている、電気式脱イオン水製造装置。
続きを表示(約 820 文字)
【請求項2】
前記脱イオンユニットは、前記脱塩領域に含まれ、中間イオン交換膜によって仕切られた第1脱塩室及び第2脱塩室を含み、
前記第1脱塩室の第1脱塩室入口部は、前記供給水入口部に連通し、
前記第2脱塩室の第2脱塩室出口部は、前記処理水出口部に連通し、
前記配管接続取り合い部材には、前記第1脱塩室の第1脱塩室出口部に連通する連結配管出口部と、前記第2脱塩室の第2脱塩室入口に連通する連結配管入口部と、が設けられ、
前記連結配管出口部を前記連結配管入口部に接続する連結配管をさらに備える、請求項1に記載の電気式脱イオン水製造装置。
【請求項3】
前記脱イオンユニットは、
前記脱塩領域に含まれ、中間イオン交換膜によって仕切られた第1脱塩室及び第2脱塩室と、
前記第1脱塩室に隣接する第1濃縮室と、
前記第2脱塩室に隣接する第2濃縮室と、を含み、
前記配管接続取り合い部材には、前記第1濃縮室及び前記第2濃縮室に濃縮水を送り込む濃縮水入口部と、前記第1濃縮室及び前記第2濃縮室から送り出された前記濃縮水を送り出す濃縮水出口部と、が設けられている、請求項1に記載の電気式脱イオン水製造装置。
【請求項4】
前記配管接続取り合い部材は、前記陽極ユニットであり、
前記電気接続取り合い部材は、前記陰極ユニットである、請求項1に記載の電気式脱イオン水製造装置。
【請求項5】
前記陽極ユニットは、
前記脱イオンユニットに接するように配置され、前記脱イオンユニットが配置された領域に所定の電界を生じさせるための電極板を含む陽極モジュールと、
前記陽極モジュールに接するように配置された陽極側押え板と、を有し、
前記配管接続取り合い部材は、前記陽極モジュールである、請求項4に記載の電気式脱イオン水製造装置。
発明の詳細な説明
【技術分野】
【0001】
本発明は、電気式脱イオン水製造装置に関する。
続きを表示(約 2,300 文字)
【背景技術】
【0002】
特許文献1に例示される電気式脱イオン水製造装置は、受け入れた供給水からイオン成分が除去された処理水を生成する。電気式脱イオン水製造装置は、イオン交換膜によって区画された脱塩室と、脱塩室を挟むように配置された一対の電極を備えている。一対の電極の間に直流電圧が印加されると、供給水に含まれたイオン成分は、その極性に応じてイオン交換膜を介して脱塩室から流出する。その結果、イオン成分が除去された脱イオン水である処理水を得ることができる。
【先行技術文献】
【特許文献】
【0003】
特開2009-220060号公報
【発明の概要】
【発明が解決しようとする課題】
【0004】
電気式脱イオン水製造装置は、その原理上、一対の電極を備えている。それらの電極には直流電圧が印加される。従って、電気式脱イオン水製造装置は、直流電圧の印加に寄与する部位に供給水及び処理水が漏れ出ることがないように、供給水及び処理水が流れる部位から直流電圧の印加に寄与する部位を確実に隔てる必要がある。
【0005】
その一方で、電気式脱イオン水製造装置には、単位時間あたりに生成される処理水の水量の増加が望まれている。つまり、電気式脱イオン水製造装置は、より多くの供給水を受け入れると共により多くの処理水を送り出す必要がある。しかし、電気式脱イオン水製造装置が扱う流量の増加は、供給水の圧力の上昇や部品の大型化を伴うので、漏水の可能性を生じ得る。仮に、漏水が生じた場合であっても、電気式脱イオン水製造装置の運転の継続や作業者による配管の着脱といった作業に支障がでないようにすることが望まれる。
【0006】
本発明は、漏水が生じた場合に起こり得る支障の発生を抑制しながら、流量を増加させることが可能な電気式脱イオン水製造装置を提供することを目的とする。
【課題を解決するための手段】
【0007】
本発明の一形態である電気式脱イオン水製造装置は、カチオン交換膜及びアニオン交換膜により区画された脱塩領域を有する脱イオンユニットと、脱イオンユニットの一方の側に配置された陽極ユニットと、脱イオンユニットの他方の側に配置されて、陽極ユニットと協働して脱イオンユニットを挟む陰極ユニットと、陰極ユニット及び陽極ユニットのそれぞれに電気的に接続された電圧印加ユニットと、を備え、陽極ユニット及び陰極ユニットの一方である配管接続取り合い部材には、脱塩処理される前の供給水を脱イオンユニットに送り込む供給水入口部と、脱イオンユニットによって脱塩処理された後の処理水を送り出す処理水出口部と、が接続され、陽極ユニット及び陰極ユニットの他方である電気接続取り合い部材には、電圧印加ユニットが設けられている。
【0008】
一形態である電気式脱イオン水製造装置は、陽極ユニット及び陰極ユニットの一方である配管接続取り合い部材に供給水入口部及び処理水出口部を接続している。そして、陽極ユニット及び陰極ユニットの他方である電気接続取り合い部材に電圧印加ユニットを設けている。この構成によると、供給水及び処理水が流れる部位である供給水入口部及び処理水出口部が直流電圧の印加に寄与する部位である電圧印加ユニットから隔離されているので、供給水入口部及び処理水出口部において漏水が生じた場合でも電圧印加ユニットに影響を及ぼすことがない。従って、漏水が生じた場合に起こり得る支障の発生を抑制しながら、流量を増加させることができる。
【0009】
一形態である電気式脱イオン水製造装置の脱イオンユニットは、脱塩領域に含まれ、中間イオン交換膜によって互いに仕切られた第1脱塩室及び第2脱塩室を含み、第1脱塩室の第1脱塩室入口部には、供給水入口部が接続され、第2脱塩室の第2脱塩室出口部には、処理水出口部が接続され、配管接続取り合い部材には、第1脱塩室の第1脱塩室出口部に接続された連結配管出口部と、第2脱塩室の第2脱塩室入口に接続された連結配管入口部と、が接続されてもよい。一形態である電気式脱イオン水製造装置は、連結配管出口部を連結配管入口部に接続する連結配管をさらに備えてもよい。この構成によれば、供給水入口部及び処理水出口部と連結配管とが配管接続取り合い部材に接続される。その結果、電気式脱イオン水製造装置の全長を短くすることができる。
【0010】
一形態である電気式脱イオン水製造装置の脱イオンユニットは、脱塩領域に含まれ、中間イオン交換膜によって仕切られた第1脱塩室及び第2脱塩室と、第1脱塩室に隣接する第1濃縮室と、第2脱塩室に隣接する第2濃縮室と、を含み、配管接続取り合い部材には、第1濃縮室及び第2濃縮室に濃縮水を送り込む濃縮水入口部と、第1濃縮室及び第2濃縮室から送り出された濃縮水を送り出す濃縮水出口部と、が接続されてもよい。この構成によれば、供給水入口部及び処理水出口部を接続した配管接続取り合い部材にさらに、濃縮水入口部及び濃縮水出口部が接続されている。その結果、配管接続取り合い部材に配管接続の取り合いがさらに集約されるから、供給水、処理水及び濃縮水が流れる部位から直流電圧の印加に寄与する部位がさらに確実に隔てられる。従って、漏水が生じた場合に起こり得る支障の発生を抑制しながら、流量を増加させることができる。
(【0011】以降は省略されています)
この特許をJ-PlatPat(特許庁公式サイト)で参照する
関連特許
オルガノ株式会社
UV照射装置
12日前
オルガノ株式会社
水処理装置および水処理方法
1か月前
オルガノ株式会社
水処理装置および水処理方法
1か月前
オルガノ株式会社
ろ過膜の洗浄方法及び洗浄装置
5日前
オルガノ株式会社
気体の処理方法および気体の処理装置
20日前
オルガノ株式会社
タンパク質洗浄剤およびタンパク質洗浄方法
1か月前
オルガノ株式会社
不純物の検出方法、検査プレート及び検出装置
10日前
オルガノ株式会社
電池収容体、電池モジュール、および電池パック
13日前
オルガノ株式会社
電池収容体、電池モジュール、および電池パック
1か月前
オルガノ株式会社
水処理設備、制御装置、運転方法およびプログラム
1か月前
オルガノ株式会社
水処理装置、溶存ガス測定装置の設置方法、および溶存ガス測定方法
3日前
オルガノ株式会社
強酸性カチオン交換樹脂の製造方法および製造設備、ならびに該強酸性カチオン交換樹脂の再利用方法
1か月前
オルガノ株式会社
強塩基性アニオン交換樹脂の製造方法および製造設備、ならびに該強塩基性アニオン交換樹脂の再利用方法
1か月前
株式会社げんき
液体活性化装置
13日前
株式会社ウィズアクア
水質浄化装置
1か月前
三浦工業株式会社
汚泥乾燥加熱釜
26日前
株式会社ライトアース
水循環式水質浄化システム
20日前
三浦工業株式会社
精製水供給システム
26日前
栗田工業株式会社
電気イオン濃縮装置
24日前
名古屋メッキ工業株式会社
溶存金属析出装置
24日前
スタンレー電気株式会社
流体除菌装置
18日前
栗田工業株式会社
逆浸透膜装置の運転方法
13日前
オルガノ株式会社
UV照射装置
12日前
栗田工業株式会社
超純水製造装置の制御方法
1か月前
株式会社神鋼環境ソリューション
貯留槽
1か月前
栗田工業株式会社
電気脱イオン装置の運転方法
25日前
WOTA株式会社
液性判定システム及び液性判定方法
24日前
有限会社フリーウェー
浄水装置
12日前
パナソニックIPマネジメント株式会社
電解水生成装置
1か月前
竹鶴油業株式会社
残渣処理プラント及び成形物の製造方法
12日前
株式会社ヘルスカンパニー
浴用剤の使用方法
24日前
株式会社医道メディカル
水素及び水素溶解エクソソーム液発生装置
11日前
有限会社エコルネサンス・エンテック
環境負荷の低減化を図る方法
1か月前
三菱化工機株式会社
電界ろ過装置及び電界ろ過装置のろ材の製造方法
5日前
王子ホールディングス株式会社
排水処理方法
21日前
株式会社セルマップ
油吸着用の吸着体、及び油吸着用の吸着体の製造方法
21日前
続きを見る
他の特許を見る