TOP
|
特許
|
意匠
|
商標
特許ウォッチ
Twitter
他の特許を見る
公開番号
2025123127
公報種別
公開特許公報(A)
公開日
2025-08-22
出願番号
2024019019
出願日
2024-02-09
発明の名称
車両用シート
出願人
日本発條株式会社
代理人
弁理士法人太陽国際特許事務所
主分類
B60N
2/06 20060101AFI20250815BHJP(車両一般)
要約
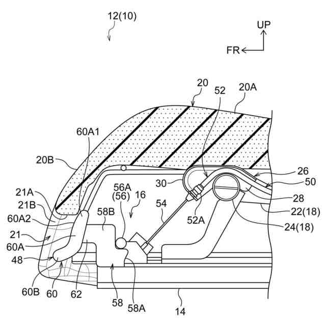
【課題】意匠性が低下することを抑制することができる車両用シートを得る。
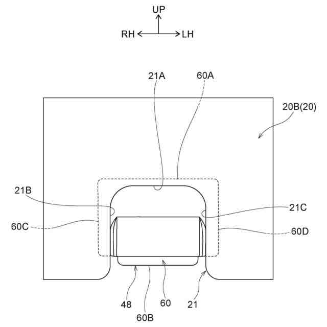
【解決手段】車両用シート10は、着座乗員の臀部をシート下方側から支持するシートクッション12の一部を構成し、下方側が開放された窪み部21を有するクッションパッド20を備えている。また、車両用シート10は、その一部が窪み部21内に配置され、シート上下方向に操作されることでシートクッション12のシート前後方向へのスライドが許容される第1スライドレバー48を備えている。第1スライドレバー48のシート上方側の部位と窪み部21の縁部とがシート前後方向に常に重なった状態で、第1スライドレバー48において窪み部21内に配置されている部位がシート上下方向に操作されるように構成されている。
【選択図】図2
特許請求の範囲
【請求項1】
着座乗員の臀部をシート下方側から支持するシートクッションの一部を構成し、下方側が開放された窪み部を有するクッションパッドと、
その一部が前記窪み部内に配置され、シート上下方向に操作されることで前記シートクッションのシート前後方向へのスライドが許容されるスライドレバーと、
を有し、
前記スライドレバーのシート上方側の部位と前記窪み部の縁部とがシート前後方向に常に重なった状態で、前記スライドレバーにおいて前記窪み部内に配置されている部位がシート上下方向に操作されるように構成された車両用シート。
続きを表示(約 510 文字)
【請求項2】
前記クッションパッドのシート下方側には、シート幅方向を軸方向として伸びる被操作部を有しかつ前記被操作部が変位することで前記シートクッションのシート前後方向へのスライドが許容されるタオルバーが設けられており、
前記スライドレバーは、前記被操作部に係合しているタオルバー係合部と、着座乗員によって操作される乗員操作部と、を含んで構成され、
前記乗員操作部のシート上方側の部位と前記窪み部の縁部とがシート前後方向に常に重なった状態で前記乗員操作部がシート上下方向に操作されることで、前記被操作部が変位する請求項1に記載の車両用シート。
【請求項3】
シート幅方向から見て、前記乗員操作部における前記窪み部の縁部側の面が、前記被操作部の移動軌跡に沿う円筒面状に湾曲した形状となっている請求項2に記載の車両用シート。
【請求項4】
前記スライドレバーのシート幅方向の両側部位と前記窪み部の縁部とがシート前後方向に常に重なった状態で、前記スライドレバーにおいて前記窪み部内に配置されている部位がシート上下方向に操作されるように構成された請求項1に記載の車両用シート。
発明の詳細な説明
【技術分野】
【0001】
本発明は、車両用シートに関する。
続きを表示(約 2,000 文字)
【背景技術】
【0002】
下記特許文献1には、操作レバーを操作することで、シートのスライドが許容される構成が開示されている。この操作レバーはレバー格納部材に格納されるようになっている。また、下記特許文献2には、タオルバーを操作することで、シートのスライドが許容される構成が開示されている。このタオルバーは、シートクッションの前端部の下方側から操作できるようになっていると共にケーブルを介してシートバック側から操作できるようになっている。
【先行技術文献】
【特許文献】
【0003】
特開2013-123971号公報
特開2015-93525号公報
【発明の概要】
【発明が解決しようとする課題】
【0004】
ところで、上記特許文献1に記載された構成のように、操作レバー等のスライドレバーがクッションパッドに形成された窪み部内に配置される構成では、車両用シートの意匠性という観点で、スライドレバーとクッションパッドとの間の隙間を小さくできることが望ましいが、この上記特許文献1に記載された構成はこの点を考慮していない。また、上記特許文献2に記載された構成では、タオルバーとクッションパッドとの間に開口が形成されることにより、車両用シートの意匠性の低下を招くことが考えられる。
【0005】
本発明は上記事実を考慮し、意匠性が低下することを抑制することができる車両用シートを得ることが目的である。
【課題を解決するための手段】
【0006】
第1の態様の車両用シートは、着座乗員の臀部をシート下方側から支持するシートクッションの一部を構成し、下方側が開放された窪み部を有するクッションパッドと、その一部が前記窪み部内に配置され、シート上下方向に操作されることで前記シートクッションのシート前後方向へのスライドが許容されるスライドレバーと、を有し、前記スライドレバーのシート上方側の部位と前記窪み部の縁部とがシート前後方向に常に重なった状態で、前記スライドレバーにおいて前記窪み部内に配置されている部位がシート上下方向に操作されるように構成されている。
【0007】
第1の態様の車両用シートでは、スライドレバーの一部がクッションパッドに形成された窪み部内に配置されている。このスライドレバーにおいて窪み部内に配置されている部位をシート上下方向に操作すると、シートクッションのシート前後方向へのスライドが許容される。ここで、スライドレバーにおいて窪み部内に配置されている部位がシート上下方向に操作される際においては、スライドレバーのシート上方側の部位と窪み部の縁部とがシート前後方向に常に重なった状態となる。これにより、スライドレバーのシート上方側の部位と窪み部の縁部との間にシート上下方向への隙間が形成されることが抑制される。その結果、当該隙間が形成されることによって車両用シートの意匠性が低下することを抑制することができる。
【0008】
第2の態様の車両用シートは、第1の態様の車両用シートにおいて、前記クッションパッドのシート下方側には、シート幅方向を軸方向として伸びる被操作部を有しかつ前記被操作部が変位することで前記シートクッションのシート前後方向へのスライドが許容されるタオルバーが設けられており、前記スライドレバーは、前記被操作部に係合しているタオルバー係合部と、着座乗員によって操作される乗員操作部と、を含んで構成され、前記乗員操作部のシート上方側の部位と前記窪み部の縁部とがシート前後方向に常に重なった状態で前記乗員操作部がシート上下方向に操作されることで、前記被操作部が変位する。
【0009】
第2の態様の車両用シートでは、スライドレバーの乗員操作部がシート上下方向に操作されることで、タオルバーの被操作部が変位する。これにより、シートクッションのシート前後方向へのスライドが許容される。このように、第2の態様の車両用シートでは、スライドレバーを操作することによってタオルバーを変位させることができる。ここで、スライドレバーの乗員操作部がシート上下方向に操作される際においては、乗員操作部のシート上方側の部位と窪み部の縁部とがシート前後方向に常に重なった状態となる。これにより、乗員操作部のシート上方側の部位と窪み部の縁部との間にシート上下方向への隙間が形成されることが抑制される。その結果、当該隙間が形成されることによって車両用シートの意匠性が低下することを抑制することができる。
【0010】
第3の態様の車両用シートは、第2の態様の車両用シートにおいて、シート幅方向から見て、前記乗員操作部における前記窪み部の縁部側の面が、前記被操作部の移動軌跡に沿う円筒面状に湾曲した形状となっている。
(【0011】以降は省略されています)
この特許をJ-PlatPat(特許庁公式サイト)で参照する
関連特許
日本発條株式会社
積層体
7日前
日本発條株式会社
積層体
7日前
日本発條株式会社
駐車装置
1か月前
日本発條株式会社
駐車装置
1か月前
日本発條株式会社
ヒータ装置
7日前
日本発條株式会社
空調シート
27日前
日本発條株式会社
放熱構造体
18日前
日本発條株式会社
車両用シート
1か月前
日本発條株式会社
車両用シート
1か月前
日本発條株式会社
車両用シート
17日前
日本発條株式会社
車両用シート
27日前
日本発條株式会社
車両用シート
17日前
日本発條株式会社
車両用シート
1か月前
日本発條株式会社
車両用シート
1か月前
日本発條株式会社
駐車システム
1か月前
日本発條株式会社
車両用シート
1か月前
日本発條株式会社
車両用シート
3日前
日本発條株式会社
車両用シート
26日前
日本発條株式会社
車両用シート
17日前
日本発條株式会社
クリップ部材
11日前
日本発條株式会社
車両用シート
26日前
日本発條株式会社
車両用シート
1か月前
日本発條株式会社
車両用シート
3日前
日本発條株式会社
車両用シート
2か月前
日本発條株式会社
車両用シート
26日前
日本発條株式会社
車両用支持装置
7日前
日本発條株式会社
シート空調装置
1か月前
日本発條株式会社
車両用リアシート
7日前
日本発條株式会社
アームレスト装置
1か月前
日本発條株式会社
車両用リアシート
7日前
日本発條株式会社
アームレスト装置
2か月前
日本発條株式会社
車両用リアシート
5日前
日本発條株式会社
車両用シート装置
2か月前
日本発條株式会社
シート用操作装置
3日前
日本発條株式会社
インサート成形部品
11日前
日本発條株式会社
テンションバランサ
2か月前
続きを見る
他の特許を見る